アニメ・ゲーム 2021/11/30 の記事一覧

Switch『十三機兵防衛圏』がAmazonランキング上昇中
SWITCH速報
Switch『十三機兵防衛圏』がAmazonランキング上昇中
SWITCH速報
「仮面ライダー ビヨンド・ジェネレーションズ」に藤岡弘、の息子・藤岡真威人の出演決定!
ヒーローNEWS
「仮面ライダー ビヨンド・ジェネレーションズ」に藤岡弘、の息子・藤岡真威人の出演決定!
ヒーローNEWS
【悲報】ドンキーコング2で一番クソなステージ、「幽霊の骸骨から逃げるステージ」に決定する
スマブラ屋さん | スマブラSPまとめ攻略
【悲報】ドンキーコング2で一番クソなステージ、「幽霊の骸骨から逃げるステージ」に決定する
スマブラ屋さん | スマブラSPまとめ攻略
【原神】螺旋36て始めてどれくらいで取れるもん?
原神攻略情報まとめ ~旅人チャンネル~
【原神】螺旋36て始めてどれくらいで取れるもん?
原神攻略情報まとめ ~旅人チャンネル~
今回のSAOの映画って見る価値あるの???
Glauber通信
今回のSAOの映画って見る価値あるの???
Glauber通信
【悲報】「バトルフィールド2042」さん、既に語られなくなる
えび通
【悲報】「バトルフィールド2042」さん、既に語られなくなる
えび通
【悲報】女さん「コンビニのマンガ雑誌にグラビア載せるのやめろ!」←これw
やらおん!
【悲報】女さん「コンビニのマンガ雑誌にグラビア載せるのやめろ!」←これw
やらおん!
【これはマジ勘弁!】「次のコラボは3980円かもよ」「大荒れするだろ」今後のコラボに大激震うわぁぁ!!!!”課金限定キャラ”に早くも怯えるユーザーが・・・・・【モンスト】
モンスト!まとめーじぇんと。
【これはマジ勘弁!】「次のコラボは3980円かもよ」「大荒れするだろ」今後のコラボに大激震うわぁぁ!!!!”課金限定キャラ”に早くも怯えるユーザーが・・・・・【モンスト】
モンスト!まとめーじぇんと。
鬼束ちひろ容疑者、本日送検される見通し。関係者の「酒臭くなかった」という情報も
オタク.com
鬼束ちひろ容疑者、本日送検される見通し。関係者の「酒臭くなかった」という情報も
オタク.com
青森弁の「やたら美味い」は東京で見ると意味が違うwww
オタクニュース
オタクニュース
【パワプロアプリ】矢部バーストって一回も成功した事ないわね、何依存なんやろ?
矢部速報 | スマホアプリ版パワプロ攻略まとめブログ
【パワプロアプリ】矢部バーストって一回も成功した事ないわね、何依存なんやろ?
矢部速報 | スマホアプリ版パワプロ攻略まとめブログ
【パズドラ】今回ばかりはデイトナ厳しいか…?
パズ速 -パズドラ情報まとめ-
【パズドラ】今回ばかりはデイトナ厳しいか…?
パズ速 -パズドラ情報まとめ-
【ポケモンGO】ソフバンの参加券まだ来ない
ポケモンGO攻略まとめ速報!!
【ポケモンGO】ソフバンの参加券まだ来ない
ポケモンGO攻略まとめ速報!!
【FGO】JKセイバーが可愛い!照れ顔の優しい雰囲気、好き…【FateGO】
Fate-Grand Order攻略速報 | FGO攻略・まとめ
【FGO】JKセイバーが可愛い!照れ顔の優しい雰囲気、好き…【FateGO】
Fate-Grand Order攻略速報 | FGO攻略・まとめ
モンハンの戦闘ってガチでつまんないよね?
ネトゲ攻略速報
モンハンの戦闘ってガチでつまんないよね?
ネトゲ攻略速報
「異世界食堂2」2期 9話感想 名店の味を再現?ねこやの料理が扉の向こう側で広まって行くのも素敵ね!「マカロニグラタン」「フルーツゼリー」(異世界食堂実況まとめ)
ポンポコにゅーす ファン特化型アニメ感想サイト
「異世界食堂2」2期 9話感想 名店の味を再現?ねこやの料理が扉の向こう側で広まって行くのも素敵ね!「マカロニグラタン」「フルーツゼリー」(異世界食堂実況まとめ)
ポンポコにゅーす ファン特化型アニメ感想サイト
親「おまえも親になったら分かるよ」←つまり
エレファント速報:SSまとめブログ
エレファント速報:SSまとめブログ
RPGで「あ、こいつベンチ入りだな」って確信する瞬間がこちらwwww
アニはつ -アニメ発信場-
RPGで「あ、こいつベンチ入りだな」って確信する瞬間がこちらwwww
アニはつ -アニメ発信場-
【衝撃】『呪術廻戦』「五条悟」の能力が凄すぎるwwww漫画キャラで「五条悟」に勝てる奴っているのか?
デジタルニューススレッド
デジタルニューススレッド
【悲報】遭難マンガ「ソウナンですか?」、無人島脱出して日常系マンガに成り果ててしまう…
わんこーる速報!
わんこーる速報!
【デレステ】SSR確定5連ガシャが今日から始まるけどぺーちゃんたちぶんまわすの?
もばます!
もばます!
【パズドラ】シーウルフでもコロシアムノーコン報告!やはり最強だったか...
オーガch.-パズドラ攻略まとめ速報
【パズドラ】シーウルフでもコロシアムノーコン報告!やはり最強だったか...
オーガch.-パズドラ攻略まとめ速報
【FGO・画像あり】海外で、あのサーヴァントが根強い人気を持ってるんじゃが.....←これマジ????
Fate/GO攻略ガイドブック
【FGO・画像あり】海外で、あのサーヴァントが根強い人気を持ってるんじゃが.....←これマジ????
Fate/GO攻略ガイドブック
【朗報】宮崎駿監督、引退宣言撤回!「風立ちぬで引退すると言ったな?あれは嘘だ」
色々まとめ速報
【朗報】宮崎駿監督、引退宣言撤回!「風立ちぬで引退すると言ったな?あれは嘘だ」
色々まとめ速報
ワイ、ダイパリメイクRTAが楽しみで仕方がない
げぇ速
げぇ速
真・女神転生Ⅴ 「傑作」が残した只1つの惜しい点
Y速報
真・女神転生Ⅴ 「傑作」が残した只1つの惜しい点
Y速報
『嵐』のライブ映画が公開3日間で興収10億円突破!動員数は累計54万人に、すげえええええええ
オタク.com
『嵐』のライブ映画が公開3日間で興収10億円突破!動員数は累計54万人に、すげえええええええ
オタク.com
【NARUTO】ナルト&サスケ「過去が辛いンゴォォオオオ!」 我愛羅「ほーん」
最強ジャンプ放送局
【NARUTO】ナルト&サスケ「過去が辛いンゴォォオオオ!」 我愛羅「ほーん」
最強ジャンプ放送局
【ワンピース】ネット民、ゾロの親友が誰なのかで大論争を繰り広げてしまうwww
ジャンプまとめ速報
ジャンプまとめ速報
ドイツビールは中世から品質管理を厳しく行われていたが
ヒロイモノ中毒
ヒロイモノ中毒
【悲報】ガンダム主人公、陽キャがジュドーしかいない・・・
ロボアニ速報
【悲報】ガンダム主人公、陽キャがジュドーしかいない・・・
ロボアニ速報
【けいおん】純「私唯先輩と付き合うことになったから」 梓「!?」
ポチッとSS!! SSまとめ
ポチッとSS!! SSまとめ
『波よ聞いてくれ』7話感想 怪奇な出来事の真相!まさかのオチ!
萌えオタニュース速報
『波よ聞いてくれ』7話感想 怪奇な出来事の真相!まさかのオチ!
萌えオタニュース速報
【画像】アフリカ人、とんでもない方法で映画を見てしまうwww
あぁ^~こころがぴょんぴょんするんじゃぁ^~
【画像】アフリカ人、とんでもない方法で映画を見てしまうwww
あぁ^~こころがぴょんぴょんするんじゃぁ^~
スタートダッシュ
SSまにあっくす!
スタートダッシュ
SSまにあっくす!
【MSSP】Halo雰囲気よくて楽しかった
ゲーム実況者速報
【MSSP】Halo雰囲気よくて楽しかった
ゲーム実況者速報
【海外】英・Black Fridayの勝者はマリオカート8DX、先週から567%売上を伸ばし1位に
mutyunのゲーム+αブログ
【海外】英・Black Fridayの勝者はマリオカート8DX、先週から567%売上を伸ばし1位に
mutyunのゲーム+αブログ
【FF14】「男キャラの後ろ姿を見ながらプレイが嫌だから女キャラを仕方なく使ってる」←こういう人稀にいるけどさ…
馬鳥速報
馬鳥速報
【ネタ】あばさん麺職人になるのはどう?強そうじゃない?
スマブラ攻略まとめ隊
スマブラ攻略まとめ隊
【朗報】『開拓サバイバル島DX』が12月2日に配信決定!!無人島での大冒険やモンスターの育成が楽しめるシミュレーション
ニンテンドースイッチ速報
【朗報】『開拓サバイバル島DX』が12月2日に配信決定!!無人島での大冒険やモンスターの育成が楽しめるシミュレーション
ニンテンドースイッチ速報
【画像】ポケモンのマリィさん、公式絵なのに谷間を見せてしまう
ゆるゲーマー遅報
【画像】ポケモンのマリィさん、公式絵なのに谷間を見せてしまう
ゆるゲーマー遅報
【Fate/GO】? 蘭丸 槍 坂本/天逆神 ? 武市 殺 田中 ? 高杉 術 阿国 そういや七人足りてない?
Fate/Grand Order攻略情報まとめ
【Fate/GO】? 蘭丸 槍 坂本/天逆神 ? 武市 殺 田中 ? 高杉 術 阿国  そういや七人足りてない?
Fate/Grand Order攻略情報まとめ
【Fate/sn】アーチャーを肩車するランサー漫画!! 大の大人が二人して何してるのやらw
FGOまとめ カルデア速報
【Fate/sn】アーチャーを肩車するランサー漫画!! 大の大人が二人して何してるのやらw
FGOまとめ カルデア速報
「ひぐらし」「エヴァ」「進撃の巨人」←全部ヒロインが主人公以外とくっついたという事実
ああ言えばForYou
「ひぐらし」「エヴァ」「進撃の巨人」←全部ヒロインが主人公以外とくっついたという事実
ああ言えばForYou
ターミネーターシリーズの1と2以外で好きな作品といえば・・・
ヒーローNEWS
ターミネーターシリーズの1と2以外で好きな作品といえば・・・
ヒーローNEWS
【モンスト】※季節限定※「あのキャラは強いだろ!!」クリスマスαの人権キャラっていたっけ?みんなの意見がこちらwwww
モンスト速報 モンスターストライクまとめ
【モンスト】※季節限定※「あのキャラは強いだろ!!」クリスマスαの人権キャラっていたっけ?みんなの意見がこちらwwww
モンスト速報 モンスターストライクまとめ
ウマ娘でも人気の美人声優さん、「温泉むすめ」で声を担当する島根県松江市の観光大使に就任!!
オレ的ゲーム速報@刃
ウマ娘でも人気の美人声優さん、「温泉むすめ」で声を担当する島根県松江市の観光大使に就任!!
オレ的ゲーム速報@刃
「ウマ娘」が紅白に選ばれなかったことについて抗議文書をNHKに送ろうと思うんだが。
本田未央ちゃん応援まとめ速報
「ウマ娘」が紅白に選ばれなかったことについて抗議文書をNHKに送ろうと思うんだが。
本田未央ちゃん応援まとめ速報
【ポケモンGO】一緒にポケGOやってる彼女がタイプ相性を覚えてくれない
徒歩のポケモンまとめブログ
【ポケモンGO】一緒にポケGOやってる彼女がタイプ相性を覚えてくれない
徒歩のポケモンまとめブログ
ゲーム実況者(年収1000万)「バグがあ~」ゲーム開発者(年収400万)「バグの修正大変だ…」
爆NEWゲーム速報
ゲーム実況者(年収1000万)「バグがあ~」ゲーム開発者(年収400万)「バグの修正大変だ…」
爆NEWゲーム速報
【速報】シャニマスさん、2021年の流行語大賞を開催!『今年最も話題になった言葉』を募集中wwwwww
たろそくWP
【速報】シャニマスさん、2021年の流行語大賞を開催!『今年最も話題になった言葉』を募集中wwwwww
たろそくWP
【東方】強度大丈夫なんかこれ
2ch東方スレ観測所
【東方】強度大丈夫なんかこれ
2ch東方スレ観測所
【速報】4グループから人気投票各1位をLoveLive!Days!の表紙に載せる企画をした結果、ことり曜せつ菜可可になる【ラブライブ!】
ラブライブ!まとめちゃんねる!!
【速報】4グループから人気投票各1位をLoveLive!Days!の表紙に載せる企画をした結果、ことり曜せつ菜可可になる【ラブライブ!】
ラブライブ!まとめちゃんねる!!
【FF14】PvPの救出ヒーラーに物申す!
FF14ひかせん速報
【FF14】PvPの救出ヒーラーに物申す!
FF14ひかせん速報
「起動が長いゲーム」と聞いて思いついた物www
えび通
「起動が長いゲーム」と聞いて思いついた物www
えび通
男「もしもし、幼馴染…あれ?そこに誰かいるの?」
あやめ速報-SSまとめ-
あやめ速報-SSまとめ-
【悲報】国際カップルさん、日本の入国制限にブチギレ
アニゲー速報
【悲報】国際カップルさん、日本の入国制限にブチギレ
アニゲー速報
【悲報】ノーガード絶対零度カイリキー、爆誕wwwww
スマブラ屋さん | スマブラSPまとめ攻略
【悲報】ノーガード絶対零度カイリキー、爆誕wwwww
スマブラ屋さん | スマブラSPまとめ攻略
藤岡弘の息子・藤岡真威人が「本郷猛」役を演じることが判明!【ビヨンド・ジェネレーションズ】
仮面ライダーまとめ2号
藤岡弘の息子・藤岡真威人が「本郷猛」役を演じることが判明!【ビヨンド・ジェネレーションズ】
仮面ライダーまとめ2号
【悲報】ひろゆき「マイキーはチビだからいくら運動神経よくても強くなれるはずがない。喧嘩は体格で決まる」
Glauber通信
【悲報】ひろゆき「マイキーはチビだからいくら運動神経よくても強くなれるはずがない。喧嘩は体格で決まる」
Glauber通信
女子「婚約指輪可愛くてにやにやしながらずっと眺めてる~」⇒ 嫉妬女ども「安っぽい」「私ならこんなの恥ずかしい」猛攻撃されてしまう
やらおん!
やらおん!
【悲報】ロビン「一味抜けるわ」ルフィ「絶対に連れ戻すぞ」ウソップ「一味抜けるわ」←これwwwwww
げーあにびより|ゲームやアニメの評価・感想まとめ
【悲報】ロビン「一味抜けるわ」ルフィ「絶対に連れ戻すぞ」ウソップ「一味抜けるわ」←これwwwwww
げーあにびより|ゲームやアニメの評価・感想まとめ
【画像】魔神英雄伝ワタル、令和の時代に蘇るwwwwwwwwww
超マンガ速報
【画像】魔神英雄伝ワタル、令和の時代に蘇るwwwwwwwwww
超マンガ速報
「NPCが生活してる」と思える箱庭ゲームを作れるのってベセスダとロックスターだけだよな
ゲーハー黙示録
「NPCが生活してる」と思える箱庭ゲームを作れるのってベセスダとロックスターだけだよな
ゲーハー黙示録
【プロスピA】外崎は12球団・リアタイ共に人気高いな
パワ速@プロスピA攻略まとめ
【プロスピA】外崎は12球団・リアタイ共に人気高いな
パワ速@プロスピA攻略まとめ
給料は上がらないけど、デフレで物価も安いからまあいいか...とか思ってた人、最悪の「スタグフレーション」がくるかもしれない
オタクニュース
オタクニュース
【動画】『仮面ライダー』新作映画で藤岡弘さんの息子・真威人さんが“本郷猛役”で出演!親子二代か・・・
オタク.com
【動画】『仮面ライダー』新作映画で藤岡弘さんの息子・真威人さんが“本郷猛役”で出演!親子二代か・・・
オタク.com
双葉杏「明日を落としても」
プロデューサーさんっ!SSですよ、SS!-アイマスSSまとめ
双葉杏「明日を落としても」
プロデューサーさんっ!SSですよ、SS!-アイマスSSまとめ
容量ギリギリだからこれ以上重くなるとゲームできなくなる…【オクトラ大陸の覇者】
【大陸の覇者】オクトパストラベラー攻略まとめ速報!
容量ギリギリだからこれ以上重くなるとゲームできなくなる…【オクトラ大陸の覇者】
【大陸の覇者】オクトパストラベラー攻略まとめ速報!
【驚愕】メチャクチャ凄いガチャが発見されるwwww
デジタルニューススレッド
デジタルニューススレッド
【レジェンズ】PvPが新キャラゲーになってるな
アルティメット速報
【レジェンズ】PvPが新キャラゲーになってるな
アルティメット速報
【雑談】「マリオ」ってキャラ人気どのくらいあるの?
NS-NEWS ニンテンドースイッチまとめ速報
【雑談】「マリオ」ってキャラ人気どのくらいあるの?
NS-NEWS ニンテンドースイッチまとめ速報
ゲーム作ってるんやが、「銃の攻撃属性」は何だと思う?
爆NEWゲーム速報
ゲーム作ってるんやが、「銃の攻撃属性」は何だと思う?
爆NEWゲーム速報
【ポケモンGO】買う気無いものを来店予約して見積りとる←考えた奴頭おかしいwwwww
ポケモンGO攻略まとめ速報!!
【ポケモンGO】買う気無いものを来店予約して見積りとる←考えた奴頭おかしいwwwww
ポケモンGO攻略まとめ速報!!
5周年から恒例のモバマスログボ集合絵10周年版全体
もばます!
5周年から恒例のモバマスログボ集合絵10周年版全体
もばます!
最高潮から信じられないほど盛り下がった漫画ベスト3、監獄学園、ヒカルの碁
ネトゲ攻略速報
最高潮から信じられないほど盛り下がった漫画ベスト3、監獄学園、ヒカルの碁
ネトゲ攻略速報
【ミリマス】星梨花「実は私、アンドロイドなんです!」静香「うん」
SSびより
SSびより
日本人「日本人は○○なやつ多すぎてクソ!終わってる!海外を見習え!」
エレファント速報:SSまとめブログ
エレファント速報:SSまとめブログ
【悲報】ポケモン新作さん、スカーフ零度カイリキーとかいう化け物が誕生する
えび通
【悲報】ポケモン新作さん、スカーフ零度カイリキーとかいう化け物が誕生する
えび通
【原神】なあ俺のタルタル通常攻撃の会心1発で5000くらいしか出ないんだけど
原神攻略情報まとめ ~旅人チャンネル~
【原神】なあ俺のタルタル通常攻撃の会心1発で5000くらいしか出ないんだけど
原神攻略情報まとめ ~旅人チャンネル~
『FF14』って恋愛脳多すぎない?こっちは普通に遊びたいだけなのに巻き込まないでくれよ・・・
FF14速報
『FF14』って恋愛脳多すぎない?こっちは普通に遊びたいだけなのに巻き込まないでくれよ・・・
FF14速報
ロボットアニメの初見だと間違える用語を挙げていこう!例、竜宮(りゅうぐう)島、忍者戦士飛影(ひえい)
ガンダムまとめ速報
ロボットアニメの初見だと間違える用語を挙げていこう!例、竜宮(りゅうぐう)島、忍者戦士飛影(ひえい)
ガンダムまとめ速報
【悲報】ガルちゃん民「夫への秘密?息子に元カレの名前付けたw」
わんこーる速報!
【悲報】ガルちゃん民「夫への秘密?息子に元カレの名前付けたw」
わんこーる速報!
【こち亀】両津勘吉さん、作中で大量の罪を犯していたwwwww
ちゃん速
【こち亀】両津勘吉さん、作中で大量の罪を犯していたwwwww
ちゃん速
【パズドラ】今ならまだ間に合う、デイトナを下方修正するべきとの声
オーガch.-パズドラ攻略まとめ速報
【パズドラ】今ならまだ間に合う、デイトナを下方修正するべきとの声
オーガch.-パズドラ攻略まとめ速報
【アズレン】みんなは外装の偏りってある?
アズールレーン速報-アズレンまとめ
【アズレン】みんなは外装の偏りってある?
アズールレーン速報-アズレンまとめ
【これは必見!】「まじで○○が大事」「判断力と運が重要」ガチャを引く人必見!!!ユーザーにとって1番大事なのがコチラwwwww【モンスト】
モンスト!まとめーじぇんと。
【これは必見!】「まじで○○が大事」「判断力と運が重要」ガチャを引く人必見!!!ユーザーにとって1番大事なのがコチラwwwww【モンスト】
モンスト!まとめーじぇんと。
【艦これ】攻略中に出すやつ、堀で出すやつ、出ないやつ なぜこうまで結果が違うのか
かんむす!-艦隊これくしょんまとめブログ-
【艦これ】攻略中に出すやつ、堀で出すやつ、出ないやつ なぜこうまで結果が違うのか
かんむす!-艦隊これくしょんまとめブログ-
【悲報】ダイパリメイク、交換レートが崩壊しミノムッチ>ビッパ>その他になる
アニゲーラボ
【悲報】ダイパリメイク、交換レートが崩壊しミノムッチ>ビッパ>その他になる
アニゲーラボ
【怖すぎ】小4女児をゲーセンで声かけし連れまわした男(47)を逮捕、スーパーで2人で買い物をしているところを抑えられる・・・
オタク.com
【怖すぎ】小4女児をゲーセンで声かけし連れまわした男(47)を逮捕、スーパーで2人で買い物をしているところを抑えられる・・・
オタク.com
【悲報】ダイパリメイクのバグ、親御さんがビックリしてまう・・・
Y速報
【悲報】ダイパリメイクのバグ、親御さんがビックリしてまう・・・
Y速報
【画像】声優の田中美海ちゃん、何故か急に可愛くなる・・・
おたくみくす 声優まとめ
【画像】声優の田中美海ちゃん、何故か急に可愛くなる・・・
おたくみくす 声優まとめ
瑞樹「片桐早苗はシメられない」
SS古今東西
SS古今東西
【グラブル】今回の注目人物クピタンの過去と真実 リスちゃんと呼ぶトリスタットとは浅からぬ関係があった…
ミニゴブ速報 ~グラブルまとめ~
【グラブル】今回の注目人物クピタンの過去と真実 リスちゃんと呼ぶトリスタットとは浅からぬ関係があった…
ミニゴブ速報 ~グラブルまとめ~
【画像】FFオリジン 、黒セーラー服の包帯ぐるぐる銀髪美少女を追加!!!
PS4速報!
【画像】FFオリジン 、黒セーラー服の包帯ぐるぐる銀髪美少女を追加!!!
PS4速報!
【朗報】無職転生、ロキシーの「あのフィギュア」が発売決定!!!
やらおん!
【朗報】無職転生、ロキシーの「あのフィギュア」が発売決定!!!
やらおん!
【ポケモンGO】フーパのタスクが終わりません(´;ω;`)
徒歩のポケモンまとめブログ
【ポケモンGO】フーパのタスクが終わりません(´;ω;`)
徒歩のポケモンまとめブログ
【FGO】女マーリン&男マーリンイラスト!! マーリンお姉さんはいつ来るんですか!?
FGOまとめ カルデア速報
【FGO】女マーリン&男マーリンイラスト!! マーリンお姉さんはいつ来るんですか!?
FGOまとめ カルデア速報
【デュエルリンクス】今後ストラクを出して欲しいテーマって何?
遊戯王デュエルリンクス超速報!
【デュエルリンクス】今後ストラクを出して欲しいテーマって何?
遊戯王デュエルリンクス超速報!
【更新】怪獣の知能の高さがわかるシーンを語ろう
ヒーローNEWS
【更新】怪獣の知能の高さがわかるシーンを語ろう
ヒーローNEWS
映画『チェリまほ THE MOVIE ~30歳まで童貞だと魔法使いになれるらしい~』2022年4月8日公開決定!キャストは全員続投
おしキャラっ
映画『チェリまほ THE MOVIE ~30歳まで童貞だと魔法使いになれるらしい~』2022年4月8日公開決定!キャストは全員続投
おしキャラっ
【艦これ】年末はカレー機関に1MYB Xmasライブにコミケ、忙しくなるな・・・
艦これ速報 艦隊これくしょんまとめ
【艦これ】年末はカレー機関に1MYB Xmasライブにコミケ、忙しくなるな・・・
艦これ速報 艦隊これくしょんまとめ
【朗報】スマブラSPはバランスが取れた神ゲー ←これ
スマブラ攻略まとめ隊
スマブラ攻略まとめ隊
ドラえもんのしずかちゃんってPS5(55000円)を持っているけど、どこにそんな金あるんや?
ゲーム感想・評価まとめ@2ch
ドラえもんのしずかちゃんってPS5(55000円)を持っているけど、どこにそんな金あるんや?
ゲーム感想・評価まとめ@2ch
【悲報】『ポケモン ダイパリメイク』、交換レートが崩壊 ミノムッチ>>>>ビッパ>>その他に
あぁ^~こころがぴょんぴょんするんじゃぁ^~
【悲報】『ポケモン ダイパリメイク』、交換レートが崩壊 ミノムッチ>>>>ビッパ>>その他に
あぁ^~こころがぴょんぴょんするんじゃぁ^~
メディア『真・女神転生Ⅴ 「傑作」が残した只1つの惜しい点』
mutyunのゲーム+αブログ
メディア『真・女神転生Ⅴ 「傑作」が残した只1つの惜しい点』
mutyunのゲーム+αブログ
【生徒会役員共】津田タカトシ「え、ポッキーゲーム……ですか?」
ポチッとSS!! SSまとめ
ポチッとSS!! SSまとめ
【Fate/GO】今回のシナリオで龍馬が神造兵装天逆鉾と龍神並みの大蛇を操る化け物サーヴァントになってしまった
Fate/Grand Order攻略情報まとめ
【Fate/GO】今回のシナリオで龍馬が神造兵装天逆鉾と龍神並みの大蛇を操る化け物サーヴァントになってしまった
Fate/Grand Order攻略情報まとめ
【徹底討論】結局、煉獄と猗窩座ってどっちが勝ったのか?????????
JUMP(ジャンプ)速報
【徹底討論】結局、煉獄と猗窩座ってどっちが勝ったのか?????????
JUMP(ジャンプ)速報
【10thアイプロ】モバマス課金するなら何にすればええんや?
本田未央ちゃん応援まとめ速報
【10thアイプロ】モバマス課金するなら何にすればええんや?
本田未央ちゃん応援まとめ速報
【モンスト】※万年最下位※「さっさとやれ(# ゚Д゚)」このキャラのテコ入れはいつなのかwwwwwwwwww
モンスト速報 モンスターストライクまとめ
【モンスト】※万年最下位※「さっさとやれ(# ゚Д゚)」このキャラのテコ入れはいつなのかwwwwwwwwww
モンスト速報 モンスターストライクまとめ
【ポケモンGO】平日に異例の大盛り上がり「ダンバルアワー反省会!」
徒歩のポケモンまとめブログ
【ポケモンGO】平日に異例の大盛り上がり「ダンバルアワー反省会!」
徒歩のポケモンまとめブログ
【画像】ジョジョ6部の空条徐倫さん、スピンオフでめちゃくちゃ可愛くなるw
コミック速報
【画像】ジョジョ6部の空条徐倫さん、スピンオフでめちゃくちゃ可愛くなるw
コミック速報
※【ガンダム】印象に残る、敵キャラ同士の戦いと言えば。
GUNDAM.LOG|ガンダムまとめブログ
※【ガンダム】印象に残る、敵キャラ同士の戦いと言えば。
GUNDAM.LOG|ガンダムまとめブログ
PS5slimが2022年後半に投入されるという噂が有る
爆NEWゲーム速報
PS5slimが2022年後半に投入されるという噂が有る
爆NEWゲーム速報
女「男~!一緒に帰ろう!!」男「………」
SSまにあっくす!
女「男~!一緒に帰ろう!!」男「………」
SSまにあっくす!
松田亜利沙「ニュース765TV」伊吹翼「第57回」
SS 森きのこ!
松田亜利沙「ニュース765TV」伊吹翼「第57回」
SS 森きのこ!
【NGS】なあ本当に大型アプデ来るんだよな?
ぷそに速報!~PSO2,PSO2es,イドラまとめ~
【NGS】なあ本当に大型アプデ来るんだよな?
ぷそに速報!~PSO2,PSO2es,イドラまとめ~
【悲報】田中美海ちゃん、何故か急に可愛くなる!?
ぐら速 -声優まとめ速報-
【悲報】田中美海ちゃん、何故か急に可愛くなる!?
ぐら速 -声優まとめ速報-
【ウマ娘】レンタル回数5回は普通に神アプデだろ
ウマ娘まとめ超速報!
【ウマ娘】レンタル回数5回は普通に神アプデだろ
ウマ娘まとめ超速報!
ルビィちゃんがデスゲームのゲームマスターになった時にありがちなこと【ラブライブ!サンシャイン】
ラブライブ! 曜ちゃんのヨーソロー!速報
ルビィちゃんがデスゲームのゲームマスターになった時にありがちなこと【ラブライブ!サンシャイン】
ラブライブ! 曜ちゃんのヨーソロー!速報
【悲報】27年続いた伝統ある『PlayStationアワード』、規模を大幅縮小し今年は授賞式なし!ツイッターで発表するだけになってしまう
オレ的ゲーム速報@刃
【悲報】27年続いた伝統ある『PlayStationアワード』、規模を大幅縮小し今年は授賞式なし!ツイッターで発表するだけになってしまう
オレ的ゲーム速報@刃
【悲報】ひろゆき、宝くじ批判した途端全メディアに袋叩きにされ、学者まで出張ってくるwwwwwwwwwwwwwww
新5chまとめ速報-ネオ速-
【悲報】ひろゆき、宝くじ批判した途端全メディアに袋叩きにされ、学者まで出張ってくるwwwwwwwwwwwwwww
新5chまとめ速報-ネオ速-
【APEX】このゲームやったらストレスが限界を迎えた…
爆NEWゲーム速報
【APEX】このゲームやったらストレスが限界を迎えた…
爆NEWゲーム速報
今週の「逃げ上手の若君」感想、戦場で大ピンチの逃若党の前に信濃仮面あらわるwww【41話】
ジャンプまとめ速報
ジャンプまとめ速報
【悲報】ナルトサスケ「過去が辛いンゴォォオオ!」我愛羅「ほーん」←結果wwww
アニはつ -アニメ発信場-
【悲報】ナルトサスケ「過去が辛いンゴォォオオ!」我愛羅「ほーん」←結果wwww
アニはつ -アニメ発信場-
【悲報】FF7リメイク、もうすぐ発売から2年経つのに続編の続報すらない・・・・・
スマブラ屋さん | スマブラSPまとめ攻略
【悲報】FF7リメイク、もうすぐ発売から2年経つのに続編の続報すらない・・・・・
スマブラ屋さん | スマブラSPまとめ攻略
ゲハ民って実際ゲームプレイしてるの?
終わらないコンテンツ速報
ゲハ民って実際ゲームプレイしてるの?
終わらないコンテンツ速報
【驚愕】eスポーツ「フィジカル全く関係ありません」←女が男に全く勝てない理由!!!!
デジタルニューススレッド
デジタルニューススレッド
【悲報】月刊誌さん、コムロ夫妻への悪意丸出しな『不敬イラスト』を掲載してしまうwwww
わんこーる速報!
【悲報】月刊誌さん、コムロ夫妻への悪意丸出しな『不敬イラスト』を掲載してしまうwwww
わんこーる速報!
正直、今の時代の価値観にアップデートするの嫌な奴wwwww
ヲタク速報
正直、今の時代の価値観にアップデートするの嫌な奴wwwww
ヲタク速報
【疑問】ハヤテのごとくのマリア「主人公の姉でした(笑)」←え???
ちゃん速
【疑問】ハヤテのごとくのマリア「主人公の姉でした(笑)」←え???
ちゃん速
「東京卍リベンジャーズ」フランスで大ヒット!3ヶ月以上も単行本が品切れ状態に
超マンガ速報
「東京卍リベンジャーズ」フランスで大ヒット!3ヶ月以上も単行本が品切れ状態に
超マンガ速報
知り合いの老齢ロシア人が、最近の若者はウォッカを飲まずビールを飲むのでけしからんと言っていた話
オタクニュース
オタクニュース
サイコミ連載の『今どきの若いモンは』実写ドラマ版キャストに福原遥さん!
オタク.com
サイコミ連載の『今どきの若いモンは』実写ドラマ版キャストに福原遥さん!
オタク.com
ゼルダのライネルとかいう奴強すぎるんやけど?
えび通
ゼルダのライネルとかいう奴強すぎるんやけど?
えび通
女神「よし、君が勇者だ!」
SSまにあっくす!
女神「よし、君が勇者だ!」
SSまにあっくす!
【APEX】コンバーター使いたいと思ってるんだけど
爆NEWゲーム速報
【APEX】コンバーター使いたいと思ってるんだけど
爆NEWゲーム速報
ぼく「これ塩で食うわ」敵「出た!ソザイ族!素材の味(笑)!」
エレファント速報:SSまとめブログ
エレファント速報:SSまとめブログ
【パズドラ】新コロシアム「天冥の星動」をノーチラスPTでノーコン報告キタ━━━━(゚∀゚)━━━━!!【動画あり】
オーガch.-パズドラ攻略まとめ速報
【パズドラ】新コロシアム「天冥の星動」をノーチラスPTでノーコン報告キタ━━━━(゚∀゚)━━━━!!【動画あり】
オーガch.-パズドラ攻略まとめ速報
【ワンピース】ゾロの和道一文字、2軍へ降格
ジャンプ速報
【ワンピース】ゾロの和道一文字、2軍へ降格
ジャンプ速報
【速報】『キン肉マン超人総選挙2021』結果発表されるも順当すぎるwwww
色々まとめ速報
【速報】『キン肉マン超人総選挙2021』結果発表されるも順当すぎるwwww
色々まとめ速報
【衝撃】主人公がガチ犯人の漫画アニメがコレwwwwww
げーあにびより|ゲームやアニメの評価・感想まとめ
【衝撃】主人公がガチ犯人の漫画アニメがコレwwwwww
げーあにびより|ゲームやアニメの評価・感想まとめ
FF7のバレット、よく考えると良いところが一つもない
げぇ速
げぇ速
TVアニメ『鬼滅の刃 無限列車編』最終話、視聴率6.5%でフィニッシュ
Y速報
TVアニメ『鬼滅の刃 無限列車編』最終話、視聴率6.5%でフィニッシュ
Y速報
【FGO】バビロニア勢フィギュアを並べる賢王!! 楽しんでるなw
FGOまとめ カルデア速報
【FGO】バビロニア勢フィギュアを並べる賢王!! 楽しんでるなw
FGOまとめ カルデア速報
鬼滅の刃「紅蓮華!炎!」BLEACH「アスタリスク!」ナルト「GO!」ワンピース「…」
JUMP(ジャンプ)速報
鬼滅の刃「紅蓮華!炎!」BLEACH「アスタリスク!」ナルト「GO!」ワンピース「…」
JUMP(ジャンプ)速報
【FF14】6.0BGMが楽しみすぎる!6.0メインシナリオ担当の石川夏子さん「6.0新フィールドを最初に訪れたときはマウントのBGMを切って冒険してみてください」
馬鳥速報
【FF14】6.0BGMが楽しみすぎる!6.0メインシナリオ担当の石川夏子さん「6.0新フィールドを最初に訪れたときはマウントのBGMを切って冒険してみてください」
馬鳥速報
ラ板見たら傷付きそうな声優
みず速
ラ板見たら傷付きそうな声優
みず速
【ポケモンGO】近所の「ジジイvsジジイのPvPマウント合戦」に介入した時に起きた不思議な出来事w
徒歩のポケモンまとめブログ
【ポケモンGO】近所の「ジジイvsジジイのPvPマウント合戦」に介入した時に起きた不思議な出来事w
徒歩のポケモンまとめブログ
アニソンってTVサイズの方が優れてるパターンあるよね
ああ言えばForYou
アニソンってTVサイズの方が優れてるパターンあるよね
ああ言えばForYou
【FGO】謎の蘭丸X Fate/GrandOrderのイラスト紹介2333
FGOまとめ速報
【FGO】謎の蘭丸X Fate/GrandOrderのイラスト紹介2333
FGOまとめ速報
【朗報】「PlayStation Partner Awards 2021」 開催決定!
mutyunのゲーム+αブログ
mutyunのゲーム+αブログ
林修先生、カツカレーを酷評「カレーとカツが合体しても、最強ではない。カツがおいしい店においしいカレーは作れない!」
オレ的ゲーム速報@刃
林修先生、カツカレーを酷評「カレーとカツが合体しても、最強ではない。カツがおいしい店においしいカレーは作れない!」
オレ的ゲーム速報@刃
【わたモテ・破壊魔定光】ポンコツ『黒木智子、回答の入力を』
ポチッとSS!! SSまとめ
ポチッとSS!! SSまとめ
【画像】未だにキュアピースちゃんを超えるプリキュアが現れてないのってすごいよな・・・
プリキュアのまとめ
【画像】未だにキュアピースちゃんを超えるプリキュアが現れてないのってすごいよな・・・
プリキュアのまとめ
【画像】声優の種田梨沙さん、33歳にしてキャリアハイを更新するwwwwww
たろそくWP
【画像】声優の種田梨沙さん、33歳にしてキャリアハイを更新するwwwwww
たろそくWP
【Fate/GO】高杉は病弱Aとか持ってきそう
Fate/Grand Order攻略情報まとめ
【Fate/GO】高杉は病弱Aとか持ってきそう
Fate/Grand Order攻略情報まとめ
『鬼滅の刃』「技」が凄すぎるwwww『鬼滅の刃』って「技」で言えば歴代ジャンプ漫画でも最上位だよな!!
デジタルニューススレッド
『鬼滅の刃』「技」が凄すぎるwwww『鬼滅の刃』って「技」で言えば歴代ジャンプ漫画でも最上位だよな!!
デジタルニューススレッド
【悲報】埼玉西武ライオンズの平良海馬投手、「時間もったいない」としてプレステを処分
爆NEWゲーム速報
【悲報】埼玉西武ライオンズの平良海馬投手、「時間もったいない」としてプレステを処分
爆NEWゲーム速報
【ウマ娘】ウマっ娘(小)話~スぺグラお出かけ大作戦!ぜよ!!
SSまにあっくす!
【ウマ娘】ウマっ娘(小)話~スぺグラお出かけ大作戦!ぜよ!!
SSまにあっくす!
シャニマス公式「流行語大賞の開催を予定しています!今年はどんな言葉が話題になりましたか?」
オタク.com
シャニマス公式「流行語大賞の開催を予定しています!今年はどんな言葉が話題になりましたか?」
オタク.com
ゲーム実況者でのんびり系マイクラのオススメある?
ゲーム実況者速報
ゲーム実況者でのんびり系マイクラのオススメある?
ゲーム実況者速報
モバP「だりやすかれんの打倒・俺」
あやめ速報-SSまとめ-
あやめ速報-SSまとめ-
旅パにわざわざ『草タイプ』を入れるやつガチで0人説
スマブラ屋さん | スマブラSPまとめ攻略
旅パにわざわざ『草タイプ』を入れるやつガチで0人説
スマブラ屋さん | スマブラSPまとめ攻略
オーキド「ポケモンは151匹しかおらんぞ」←これ博士なの本当に?普通クビじゃね?
えび通
オーキド「ポケモンは151匹しかおらんぞ」←これ博士なの本当に?普通クビじゃね?
えび通
上司「お前は社会常識に欠けてる。親の教育が悪かったのか甘やかされて育ったのか」←親を悪く言うのは無くね?
エレファント速報:SSまとめブログ
エレファント速報:SSまとめブログ
【衝撃】ワンピースがこの後描かなきゃいけない展開、多すぎてもうめちゃくちゃwwww
アニはつ -アニメ発信場-
【衝撃】ワンピースがこの後描かなきゃいけない展開、多すぎてもうめちゃくちゃwwww
アニはつ -アニメ発信場-
春香「ちょっと相談したいことがあるんですけど……」
SSまにあっくす!
春香「ちょっと相談したいことがあるんですけど……」
SSまにあっくす!
P「刀使ノ巫女」の新機能搭載に1億円使ってしまう…
オタク.com
P「刀使ノ巫女」の新機能搭載に1億円使ってしまう…
オタク.com
小3の女子「先生は宝くじで1億あたったら何買う?」 先生「君の家みたいな大きな家を買いたい!」 → 衝撃なことを言われ先生絶句wwwww
オレ的ゲーム速報@刃
小3の女子「先生は宝くじで1億あたったら何買う?」 先生「君の家みたいな大きな家を買いたい!」 → 衝撃なことを言われ先生絶句wwwww
オレ的ゲーム速報@刃
【鬼滅の刃】猗窩座「死ぬな杏寿郎」←お前がやったんだぞwwwwwwww
JUMP(ジャンプ)速報
【鬼滅の刃】猗窩座「死ぬな杏寿郎」←お前がやったんだぞwwwwwwww
JUMP(ジャンプ)速報
ワイピクミンは、口臭い?
えび通
ワイピクミンは、口臭い?
えび通
【けいおん】紬「澪ちゃん、また浮気するつもり?」
ポチッとSS!! SSまとめ
ポチッとSS!! SSまとめ
【PS5/XBS|X専用】Battlefield 2042【BF2042】Part41
爆NEWゲーム速報
【PS5/XBS|X専用】Battlefield 2042【BF2042】Part41
爆NEWゲーム速報
【朗報】ガブリアスワイ、ついに竜の舞を覚える【竜舞ガブ知らんのか?】
徒歩のポケモンまとめブログ
【朗報】ガブリアスワイ、ついに竜の舞を覚える【竜舞ガブ知らんのか?】
徒歩のポケモンまとめブログ
【FF14】タンクの火力差を無くしてほしい
FF14ひかせん速報
【FF14】タンクの火力差を無くしてほしい
FF14ひかせん速報
たまにおる致命的にゲーム下手なやつの正体
スマブラ屋さん | スマブラSPまとめ攻略
たまにおる致命的にゲーム下手なやつの正体
スマブラ屋さん | スマブラSPまとめ攻略
【ポケモンGO】光のなんとかは意味不明なイベントだったな・・・
ポケモンGO攻略まとめ速報!!
【ポケモンGO】光のなんとかは意味不明なイベントだったな・・・
ポケモンGO攻略まとめ速報!!
【東京卍リベンジャーズ】233話ネタバレ・考察 マイキーにグシャってされたのはサウスなんかな?
色々まとめ速報
【東京卍リベンジャーズ】233話ネタバレ・考察 マイキーにグシャってされたのはサウスなんかな?
色々まとめ速報
【悲報】Vtuber事務所・にじさんじの運営会社が1体1のコミュニケーションサービス『ユメノグラフィア』を解体、事実上の53人一斉解雇に ⇒ クビになったV達がブチ切れ!!
やらおん!
【悲報】Vtuber事務所・にじさんじの運営会社が1体1のコミュニケーションサービス『ユメノグラフィア』を解体、事実上の53人一斉解雇に ⇒ クビになったV達がブチ切れ!!
やらおん!
テンセント逝ってて草
えび通
テンセント逝ってて草
えび通
(^)(^)ミ「信長の野望、地元勢力でやったろ!」
げぇ速
げぇ速
【原神】初の公式ラジオ「テイワット放送局」配信決定!パーソナリティは堀江瞬さん、古賀葵さん、前野智昭さんの3名が入れ替わりで担当
オタク.com
【原神】初の公式ラジオ「テイワット放送局」配信決定!パーソナリティは堀江瞬さん、古賀葵さん、前野智昭さんの3名が入れ替わりで担当
オタク.com
【仮面ライダーディケイド】ニーサンのインパクトが強すぎるけど「ディエンドの世界」って普通に面白いんだよな
ヒーローNEWS
【仮面ライダーディケイド】ニーサンのインパクトが強すぎるけど「ディエンドの世界」って普通に面白いんだよな
ヒーローNEWS
レトルトの生放送すげーな
ゲーム実況者速報
レトルトの生放送すげーな
ゲーム実況者速報
社会「1日8時間労働×5日 これを40年続けてねw」人々「おかのした」←これwwwwww
たろそくWP
社会「1日8時間労働×5日 これを40年続けてねw」人々「おかのした」←これwwwwww
たろそくWP
【衝撃】子供部屋おじさんがメチャクチャ怖いwwww子供部屋おじさんが飲み会をぶち壊しやがった…
デジタルニューススレッド
デジタルニューススレッド
【悲報】遭難マンガ「ソウナンですか?」無人島脱出して日常マンガに成り果ててしまう…(なんj)
ばびろにあっ!
ばびろにあっ!
吉田沙保里「へぇ…モンスターハンターかぁ…」
えび通
吉田沙保里「へぇ…モンスターハンターかぁ…」
えび通
コンプレックスを刺激されたワイ「そ、それしか誇れることがないんだね・・・w」
エレファント速報:SSまとめブログ
エレファント速報:SSまとめブログ
【衝撃】ヒロアカの内通者、葉隠ちゃんだったwww(画像あり)
アニはつ -アニメ発信場-
【衝撃】ヒロアカの内通者、葉隠ちゃんだったwww(画像あり)
アニはつ -アニメ発信場-
【すげぇ】『東京卍リベンジャーズ』、フランスでも大ヒット!3ヶ月以上も単行本が品切れ状態にwwwww
オレ的ゲーム速報@刃
【すげぇ】『東京卍リベンジャーズ』、フランスでも大ヒット!3ヶ月以上も単行本が品切れ状態にwwwww
オレ的ゲーム速報@刃
【ポケモンUNITE】「プクリン」に一番して欲しいムーヴはどんな動き?
徒歩のポケモンまとめブログ
【ポケモンUNITE】「プクリン」に一番して欲しいムーヴはどんな動き?
徒歩のポケモンまとめブログ
【悲報】ドン・キホーテさん、とんでもないことをぶっちゃける…
オタク.com
【悲報】ドン・キホーテさん、とんでもないことをぶっちゃける…
オタク.com
Q「世界の終わりを見たことはある?」
ポチッとSS!! SSまとめ
ポチッとSS!! SSまとめ
【悲報】APEXさん、新マップがゴミすぎてオワコンになるwowowowowowowowowowwowowowowowowowowow
爆NEWゲーム速報
【悲報】APEXさん、新マップがゴミすぎてオワコンになるwowowowowowowowowowwowowowowowowowowow
爆NEWゲーム速報
【朗報】まいんちゃん(23)、めちゃくちゃ美人になるwwww
デジタルニューススレッド
デジタルニューススレッド
フリーランスおじさん「昼に起きて好きな時間働いてほしいものは経費で買うわ!」
たろそくWP
フリーランスおじさん「昼に起きて好きな時間働いてほしいものは経費で買うわ!」
たろそくWP
【画像】ポケモンのマリィさん、公式絵なのに谷マを見せてしまう
えび通
【画像】ポケモンのマリィさん、公式絵なのに谷マを見せてしまう
えび通
【悲報】鬼滅の刃のオワコンっぷりがヤバい、最終話なのに視聴率が下がってしまう…
ばびろにあっ!
ばびろにあっ!
【ポケモンGO】やつあたりを忘れる期間って何回も来るもの?
ポケモンGO攻略まとめ速報!!
【ポケモンGO】やつあたりを忘れる期間って何回も来るもの?
ポケモンGO攻略まとめ速報!!
【悲報】北条沙都子さん、公由家の男に孕まされてしまう、なお梨花ちゃんだけ30代独身の模様。。。(なんj)
ばびろにあっ!
ばびろにあっ!
【悲報】ひぐらしのなく頃にさん、業卒でファンを殺したのに新章「ひぐらし令」でまたしてもファンを殺してしまう(なんj)
ばびろにあっ!
ばびろにあっ!
【衝撃】オタクさん、年末に向けて押入れの整理してたらメチャクチャ凄いお宝が出て来てしまうwwww
デジタルニューススレッド
デジタルニューススレッド
パズドラの現在の最前線リーダーたちwwwwwww
オーガch.-パズドラ攻略まとめ速報
パズドラの現在の最前線リーダーたちwwwwwww
オーガch.-パズドラ攻略まとめ速報
【正論】Twitter民「ご飯を食べててこの状態で完食とする人、苦手」→15.9万いいね
色々まとめ速報
【正論】Twitter民「ご飯を食べててこの状態で完食とする人、苦手」→15.9万いいね
色々まとめ速報
クラッシュバンディクーとかいうゲームやってた奴おる?
カンダタ速報
クラッシュバンディクーとかいうゲームやってた奴おる?
カンダタ速報
【ドム・ノーミーデス】私こういうアホな機体好き!
GUNDAM.LOG|ガンダムまとめブログ
【ドム・ノーミーデス】私こういうアホな機体好き!
GUNDAM.LOG|ガンダムまとめブログ
漫画「くっ…肋骨が数本逝ったか…!」 現実「あぁぁぁぁぁぉ!?!??!??、息!?」
JUMP(ジャンプ)速報
漫画「くっ…肋骨が数本逝ったか…!」 現実「あぁぁぁぁぁぉ!?!??!??、息!?」
JUMP(ジャンプ)速報
【更新】マントが似合う特撮キャラクターといえば?
ヒーローNEWS
【更新】マントが似合う特撮キャラクターといえば?
ヒーローNEWS
【Fate/GO】Q惜しかと思ったらA推し、かと思いきやBも推すとか俺じゃなきゃ見逃しちゃうね 最近は割と強い鯖を作ろうとしてるよね運営…
Fate/Grand Order攻略情報まとめ
【Fate/GO】Q惜しかと思ったらA推し、かと思いきやBも推すとか俺じゃなきゃ見逃しちゃうね 最近は割と強い鯖を作ろうとしてるよね運営…
Fate/Grand Order攻略情報まとめ
【画像】孫悟空さん「今だから言うけど本当はあの時、超サイヤ人3なら太っちょブウは倒せてたんだ」
ジャンプまとめ漫画アニメ声優ゲーム
【画像】孫悟空さん「今だから言うけど本当はあの時、超サイヤ人3なら太っちょブウは倒せてたんだ」
ジャンプまとめ漫画アニメ声優ゲーム
【デレステ】塔の流れでパレード用放置の研究はしないのか?
本田未央ちゃん応援まとめ速報
【デレステ】塔の流れでパレード用放置の研究はしないのか?
本田未央ちゃん応援まとめ速報
【ふるさと納税】「ホタテ水着」の注文数は予想の倍以上wwwww
オタク.com
【ふるさと納税】「ホタテ水着」の注文数は予想の倍以上wwwww
オタク.com
【咲-Saki-】京太郎「俺の、最高の彼女」
ポチッとSS!! SSまとめ
ポチッとSS!! SSまとめ
ドグマキヨ牛沢FBが一緒に飲んだんだな
ゲーム実況者速報
ドグマキヨ牛沢FBが一緒に飲んだんだな
ゲーム実況者速報
澪「あずにゃん!」
SSまにあっくす!
澪「あずにゃん!」
SSまにあっくす!
【FF14】「オンボの低スペノートだけど不満なく遊べている」
FF14ひかせん速報
【FF14】「オンボの低スペノートだけど不満なく遊べている」
FF14ひかせん速報
【朗報】ホスト界の帝王ローランドさん、ラブライブが好きすぎてTV番組で語りまくり!! 推しはまさかのかすみん!
やらおん!
【朗報】ホスト界の帝王ローランドさん、ラブライブが好きすぎてTV番組で語りまくり!! 推しはまさかのかすみん!
やらおん!
【悲報】ウマ娘さん、SS+ランクの上がまだある事がバレ炎上
えび通
【悲報】ウマ娘さん、SS+ランクの上がまだある事がバレ炎上
えび通
【凄い】人気声優の杉田智和さん(声質A~D(キャラ次第) 演技E 滑舌C)←こいつが天下とった理由!!!!
デジタルニューススレッド
【凄い】人気声優の杉田智和さん(声質A~D(キャラ次第) 演技E 滑舌C)←こいつが天下とった理由!!!!
デジタルニューススレッド
【パズドラ】11月30日(火)のゲリラ時間割【超たまドラ祭/ピィタンラッシュ/ノエルドラゴン大集合】
パズ速 -パズドラ情報まとめ-
【パズドラ】11月30日(火)のゲリラ時間割【超たまドラ祭/ピィタンラッシュ/ノエルドラゴン大集合】
パズ速 -パズドラ情報まとめ-
【朗報】キングダムの李牧が嫌われてる理由、ガチで判明するwwwwww
げーあにびより|ゲームやアニメの評価・感想まとめ
【朗報】キングダムの李牧が嫌われてる理由、ガチで判明するwwwwww
げーあにびより|ゲームやアニメの評価・感想まとめ
【衝撃】ワンピース新作映画、シャンクスの物語らしいwww(画像あり)
アニはつ -アニメ発信場-
【衝撃】ワンピース新作映画、シャンクスの物語らしいwww(画像あり)
アニはつ -アニメ発信場-
【モンスト】※※性能評価※「属性キラーの時代来た?」あのキャラが「えびす」越えキタ━━━━(゚∀゚)━━━━!!???
モンスト速報 モンスターストライクまとめ
【モンスト】※※性能評価※「属性キラーの時代来た?」あのキャラが「えびす」越えキタ━━━━(゚∀゚)━━━━!!???
モンスト速報 モンスターストライクまとめ
【パワプロアプリ】9000点チャレンジは試合経験点固めが安定やね
矢部速報 | スマホアプリ版パワプロ攻略まとめブログ
【パワプロアプリ】9000点チャレンジは試合経験点固めが安定やね
矢部速報 | スマホアプリ版パワプロ攻略まとめブログ
【速報】ラブライブデイズの表紙投票、ことり曜せつ菜可可に決定する【ラブライブ】
ラブライブ! 曜ちゃんのヨーソロー!速報
【速報】ラブライブデイズの表紙投票、ことり曜せつ菜可可に決定する【ラブライブ】
ラブライブ! 曜ちゃんのヨーソロー!速報
ゴールデンカムイの谷垣、満を持して登場したのに読者からいらない奴扱いされてしまう
超・マンガ速報
ゴールデンカムイの谷垣、満を持して登場したのに読者からいらない奴扱いされてしまう
超・マンガ速報
夜な夜な街中をコート一枚(下は全裸)で徘徊してそうなラブライブ!キャラ←誰思い浮かべた?
ラブライブ!まとめちゃんねる!!
夜な夜な街中をコート一枚(下は全裸)で徘徊してそうなラブライブ!キャラ←誰思い浮かべた?
ラブライブ!まとめちゃんねる!!
【悲報】違法漫画サイトさん、ガチでアクセス増加が止まらない・・・
Y速報
【悲報】違法漫画サイトさん、ガチでアクセス増加が止まらない・・・
Y速報
【朗報】ダイパリメイクのミノムッチ、色違いバグのおかげでの交換レートトップへww(なんj)
ばびろにあっ!
ばびろにあっ!
ダークソウル3を始めたワイ、グンダとかいうボスに負ける
ゲーハーの窓
ダークソウル3を始めたワイ、グンダとかいうボスに負ける
ゲーハーの窓
面接官「友達いる?」ワイ「はい、います」
エレファント速報:SSまとめブログ
エレファント速報:SSまとめブログ
【朗報】撮り鉄、謝罪する
たろそくWP
【朗報】撮り鉄、謝罪する
たろそくWP
【悲報】IMF「このままだと日本は2024年に東欧のチェコとスロベニアより貧しくなるぞ!」
オタクニュース
オタクニュース
キャロット→カカロット、ベジタブル→ベジータ 鳥山明って名前のセンス良過ぎじゃね?
アルティメット速報
キャロット→カカロット、ベジタブル→ベジータ 鳥山明って名前のセンス良過ぎじゃね?
アルティメット速報
【パズドラ】すまん、今更アバたま手に入れてどうすんの?
オーガch.-パズドラ攻略まとめ速報
【パズドラ】すまん、今更アバたま手に入れてどうすんの?
オーガch.-パズドラ攻略まとめ速報
【衝撃】人気漫画『僕のヒーローアカデミア』の「内通者」、ついに判明か!!
デジタルニューススレッド
デジタルニューススレッド
『海賊王女』9話感想 アベルの過去、悲しすぎる…
ああ言えばForYou
『海賊王女』9話感想 アベルの過去、悲しすぎる…
ああ言えばForYou
【論破王】ひろゆき、東リベを語る「マイキーは強すぎ。ケンカは体格で決まる、あんなチビが強くなれるはずがないと思うんすよね」
色々まとめ速報
【論破王】ひろゆき、東リベを語る「マイキーは強すぎ。ケンカは体格で決まる、あんなチビが強くなれるはずがないと思うんすよね」
色々まとめ速報
大富豪とかいう奥が深すぎるゲームwwwwwwwwww
カンダタ速報
大富豪とかいう奥が深すぎるゲームwwwwwwwwww
カンダタ速報
【悲報】声優の斉藤朱夏さん、花陽ちゃんの名前を忘れる・・・
おたくみくす 声優まとめ
【悲報】声優の斉藤朱夏さん、花陽ちゃんの名前を忘れる・・・
おたくみくす 声優まとめ
【艦これ】艦これの公式グッズでおすすめある? 公式にお金使って応援したい
あ艦これ ~艦隊これくしょんまとめブログ~
【艦これ】艦これの公式グッズでおすすめある? 公式にお金使って応援したい
あ艦これ ~艦隊これくしょんまとめブログ~
ヴィーネ「3人のガヴリール」
SSまにあっくす!
ヴィーネ「3人のガヴリール」
SSまにあっくす!
【ポケモンUNITE】「キル」と「ゴール得点」どっちが重要?
徒歩のポケモンまとめブログ
【ポケモンUNITE】「キル」と「ゴール得点」どっちが重要?
徒歩のポケモンまとめブログ
【悲報】今の若者はFFを知らない世代というTwitterがバズる
ゲハ速
【悲報】今の若者はFFを知らない世代というTwitterがバズる
ゲハ速
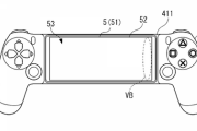
【朗報】ソニー、モバイル向けの斬新なコントローラーの特許を申請
ゲーム感想・評価まとめ@2ch
【朗報】ソニー、モバイル向けの斬新なコントローラーの特許を申請
ゲーム感想・評価まとめ@2ch
新作アプリ「SHAMAN KING ふんばりクロニクル」のリリース日が12月8日に決定!
オタク.com
新作アプリ「SHAMAN KING ふんばりクロニクル」のリリース日が12月8日に決定!
オタク.com
【アークナイツ】次の異格は誰にくるのだろうか
アクナイ速報 -アークナイツまとめ-
【アークナイツ】次の異格は誰にくるのだろうか
アクナイ速報 -アークナイツまとめ-
女性ツイ民さん「この漫画、実の娘を襲いそうって言ってキモい!マンガでも許せない!」→作者「全然違うんだが…?」
オレ的ゲーム速報@刃
女性ツイ民さん「この漫画、実の娘を襲いそうって言ってキモい!マンガでも許せない!」→作者「全然違うんだが…?」
オレ的ゲーム速報@刃
【けいおん】唯「お~気に入り~のあず~にゃん♪だい~てっ♪」チラッ 梓「あっ」
ポチッとSS!! SSまとめ
ポチッとSS!! SSまとめ
【緊急】Steamの秋セール、有能すぎる
えび通
【緊急】Steamの秋セール、有能すぎる
えび通
【デレステ】謎の有償1000円5連SSR確定ガチャ、詳細判明。10日間に分けてピックアップが19人毎で入れ替わる模様
本田未央ちゃん応援まとめ速報
【デレステ】謎の有償1000円5連SSR確定ガチャ、詳細判明。10日間に分けてピックアップが19人毎で入れ替わる模様
本田未央ちゃん応援まとめ速報
【朗報】パワポケRの評価、軒並み好評の模様
爆NEWゲーム速報
【朗報】パワポケRの評価、軒並み好評の模様
爆NEWゲーム速報
【朗報】ワンピースのロロノア・ゾロさん、ついにあの覇気を習得しガチで強くなってしまう
あぁ^~こころがぴょんぴょんするんじゃぁ^~
【朗報】ワンピースのロロノア・ゾロさん、ついにあの覇気を習得しガチで強くなってしまう
あぁ^~こころがぴょんぴょんするんじゃぁ^~
【Fate/GO】三回セプクって少しテンポ悪くない?と思ったら武市先生史実でやっとるんかい… 大人しい顔してとんだガンギマリじゃな…
Fate/Grand Order攻略情報まとめ
【Fate/GO】三回セプクって少しテンポ悪くない?と思ったら武市先生史実でやっとるんかい… 大人しい顔してとんだガンギマリじゃな…
Fate/Grand Order攻略情報まとめ
【ネタ】レート1600↑もトスしてくれないんやな・・・・
デュエプレ攻略まとめ GS
デュエプレ攻略まとめ GS
魔法少女かなん☆カナンにありそうな事【ラブライブ!サンシャイン!!】
ラブライブ!まとめちゃんねる!!
魔法少女かなん☆カナンにありそうな事【ラブライブ!サンシャイン!!】
ラブライブ!まとめちゃんねる!!
【ネタ】これリセマラを楽しむゲームか?⇐今リセマラとかアホやろwwwwww
プリコネ攻略まとめ隊
プリコネ攻略まとめ隊
【議論】デュエプレには択がない!?wwwwwww
デュエプレ攻略まとめ GS
デュエプレ攻略まとめ GS
プラチナ神谷氏「Switch Online 音沙汰ねえよなー。あといつフォルダ機能実装すんねん…」
SWITCH速報
プラチナ神谷氏「Switch Online 音沙汰ねえよなー。あといつフォルダ機能実装すんねん…」
SWITCH速報
【議論】タムシン評価してるやつ多いけど糞弱いだろwwwwwwww
ハースストーン攻略まとめ速報
【議論】タムシン評価してるやつ多いけど糞弱いだろwwwwwwww
ハースストーン攻略まとめ速報
【悲報】このキャラさん、影が薄いwwwwwwwwwwww
ドールズフロントライン 攻略まとめ隊
ドールズフロントライン 攻略まとめ隊
【悲報】ライトノベル、鬼滅の刃が一番売れていた
アニゲーラボ
【悲報】ライトノベル、鬼滅の刃が一番売れていた
アニゲーラボ
【パズドラ】※注意※アンケフェスは待機がベスト!水曜から最大50連無料(パス民10連追加)配布も
オーガch.-パズドラ攻略まとめ速報
【パズドラ】※注意※アンケフェスは待機がベスト!水曜から最大50連無料(パス民10連追加)配布も
オーガch.-パズドラ攻略まとめ速報
【相談】プリズムブレインとかエタトラとか無くなってなんかもう訳分かんなくなっちゃった。。。
デュエプレ攻略まとめ GS
【相談】プリズムブレインとかエタトラとか無くなってなんかもう訳分かんなくなっちゃった。。。
デュエプレ攻略まとめ GS
【驚愕のスクショ解禁!】「上手すぎ裏山」「お前プロストかよ」こんなのマジでヤバすぎる!!!!嘘みたいな本当の”ガチャ排出”がコチラwwwww【モンスト】
モンスト!まとめーじぇんと。
【驚愕のスクショ解禁!】「上手すぎ裏山」「お前プロストかよ」こんなのマジでヤバすぎる!!!!嘘みたいな本当の”ガチャ排出”がコチラwwwww【モンスト】
モンスト!まとめーじぇんと。
【原神】公式ラジオ「#テイワット放送局」の中身はこんな感じらしい
原神攻略情報まとめ ~旅人チャンネル~
【原神】公式ラジオ「#テイワット放送局」の中身はこんな感じらしい
原神攻略情報まとめ ~旅人チャンネル~
『逆転世界ノ電池少女』8話感想 さすがこたつ布団、なんともないぜ!
ああ言えばForYou
『逆転世界ノ電池少女』8話感想 さすがこたつ布団、なんともないぜ!
ああ言えばForYou
年収10億円プロゲーマー「学校行ってしっかり勉強した」
オタクニュース
オタクニュース
【アズレン】セイレーン作戦の次のMETAは誰になるのか それはそれとしてリセットです
アマゲーまとめ
【アズレン】セイレーン作戦の次のMETAは誰になるのか それはそれとしてリセットです
アマゲーまとめ
LiSAの夫の鈴木達央って売れっ子声優じゃないよな
おたくみくす 声優まとめ
LiSAの夫の鈴木達央って売れっ子声優じゃないよな
おたくみくす 声優まとめ
【画像】大学でこういう『筆箱』使ってる陰キャの存在wwww
わんこーる速報!
【画像】大学でこういう『筆箱』使ってる陰キャの存在wwww
わんこーる速報!
【艦これ】イベントは10日までか… 今からやってオール甲取れますか!?
かんむす!-艦隊これくしょんまとめブログ-
【艦これ】イベントは10日までか… 今からやってオール甲取れますか!?
かんむす!-艦隊これくしょんまとめブログ-
なぜ創作に異世界が多いのか?それはおそらく…
ヲタク速報
なぜ創作に異世界が多いのか?それはおそらく…
ヲタク速報
【ポケモンBDSP】超金策術!「プレート交換錬金術」で一瞬で持ち金カンスト!【手順】
徒歩のポケモンまとめブログ
【ポケモンBDSP】超金策術!「プレート交換錬金術」で一瞬で持ち金カンスト!【手順】
徒歩のポケモンまとめブログ
【相談】今日からデュエプレ始めるとして何を目標にリセマラすれば良いの???
デュエプレ攻略まとめ GS
デュエプレ攻略まとめ GS
【FEH】オリキャラの声優が豪華である必要性なんかあるんですか?
ルフレch. - FEH攻略まとめ速報
【FEH】オリキャラの声優が豪華である必要性なんかあるんですか?
ルフレch. - FEH攻略まとめ速報
【ドラクエウォーク】コロプラの株が大暴落・・・
すらりんch - ドラクエウォークまとめ速報
【ドラクエウォーク】コロプラの株が大暴落・・・
すらりんch - ドラクエウォークまとめ速報
【モンハンライズ】ブレイヴとレンキンの思い出はなんかある?
モンハンまとめ速報【モンハンライズ攻略】
【モンハンライズ】ブレイヴとレンキンの思い出はなんかある?
モンハンまとめ速報【モンハンライズ攻略】
モンスターハンターフロンティアの思い出
げぇ速
モンスターハンターフロンティアの思い出
げぇ速
真「わんわん」雪歩「きゃー」
SSまにあっくす!
真「わんわん」雪歩「きゃー」
SSまにあっくす!
【画像】クラス内での陰キャチー牛のポジション一覧がこちらwww
あぁ^~こころがぴょんぴょんするんじゃぁ^~
【画像】クラス内での陰キャチー牛のポジション一覧がこちらwww
あぁ^~こころがぴょんぴょんするんじゃぁ^~
【ポケモンBDSP】30匹一気に増殖!「ポケモンボックスコピー技」手順!
徒歩のポケモンまとめブログ
【ポケモンBDSP】30匹一気に増殖!「ポケモンボックスコピー技」手順!
徒歩のポケモンまとめブログ
音ノ木坂時代の桜内梨子ちゃんについて知っていること【ラブライブ!サンシャイン!!】
ラブライブ!まとめちゃんねる!!
音ノ木坂時代の桜内梨子ちゃんについて知っていること【ラブライブ!サンシャイン!!】
ラブライブ!まとめちゃんねる!!
【ネタ】プリコネのロリキャラ、体重が軽すぎるwwwww
プリコネ攻略まとめ隊
プリコネ攻略まとめ隊
ゲームって必ずお金が余って絶対に使い切れないよな
終わらないコンテンツ速報
ゲームって必ずお金が余って絶対に使い切れないよな
終わらないコンテンツ速報
【朗報】ホロライブ6期生・4人目の沙花叉クロヱさん、初配信で同接17万を記録! キャラデザは艦これ・鹿島で有名のパセリさん! いきなりマスクも外し神すぎて覇権へ!
やらおん!
【朗報】ホロライブ6期生・4人目の沙花叉クロヱさん、初配信で同接17万を記録! キャラデザは艦これ・鹿島で有名のパセリさん! いきなりマスクも外し神すぎて覇権へ!
やらおん!
【速報】海外の新作美少女ゲーム、日本を超えてしまう。これは廃人続出か
アニゲー速報
【速報】海外の新作美少女ゲーム、日本を超えてしまう。これは廃人続出か
アニゲー速報
不良「何メンチ切ってんだオラァ!」ワイ「あげる」
エレファント速報:SSまとめブログ
エレファント速報:SSまとめブログ
【これマジか!?】「○○だけは引いとけよ」「可能性の塊やマジで 」いよいよ最終通告うわぁぁぁ!!マンキンキャラを勧めるユーザーの声がコチラwwwww【モンスト】
モンスト!まとめーじぇんと。
【これマジか!?】「○○だけは引いとけよ」「可能性の塊やマジで 」いよいよ最終通告うわぁぁぁ!!マンキンキャラを勧めるユーザーの声がコチラwwwww【モンスト】
モンスト!まとめーじぇんと。
【悲報】「ワンピース」のゾロの愛刀・和道一文字、2軍へ降格しそう・・・
最強ジャンプ放送局
【悲報】「ワンピース」のゾロの愛刀・和道一文字、2軍へ降格しそう・・・
最強ジャンプ放送局
【議論】マーセのこのバグ未だに直ってないんだな・・・
ハースストーン攻略まとめ速報
【議論】マーセのこのバグ未だに直ってないんだな・・・
ハースストーン攻略まとめ速報
【グラブル】レジェフェスの追加キャラはストイベで登場した風ランドルが濃厚?恒常っぽい見た目だがミュオンの例もあるためクリキャラになりそうな
グラブルまとめ!いすたるしあ通信
【グラブル】レジェフェスの追加キャラはストイベで登場した風ランドルが濃厚?恒常っぽい見た目だがミュオンの例もあるためクリキャラになりそうな
グラブルまとめ!いすたるしあ通信
【ミリマス】星梨花「実は私、アンドロイドなんです!」静香「うん」
プロデューサーさんっ!SSですよ、SS!-アイマスSSまとめ
【ミリマス】星梨花「実は私、アンドロイドなんです!」静香「うん」
プロデューサーさんっ!SSですよ、SS!-アイマスSSまとめ
【ハンターハンター 】クラピカ「幻影旅団に復讐したいな…とりあえずウボォーギンとかいう奴倒しとくかw」
ちゃん速
【ハンターハンター 】クラピカ「幻影旅団に復讐したいな…とりあえずウボォーギンとかいう奴倒しとくかw」
ちゃん速
鬼束ちひろさんが逮捕された理由?がカオスすぎる…
デジタルニューススレッド
デジタルニューススレッド
【画像】なんだこの猫wwwwwwwwwwwwwwww
ドールズフロントライン 攻略まとめ隊
ドールズフロントライン 攻略まとめ隊
【衝撃】御坂美琴さん、ファミレスでとんでもないモノを頼んでしまうwwww
デジタルニューススレッド
デジタルニューススレッド
【パズドラ】ヴィオーネってどうなん?ロイヤルオークガチ勢の意見
オーガch.-パズドラ攻略まとめ速報
【パズドラ】ヴィオーネってどうなん?ロイヤルオークガチ勢の意見
オーガch.-パズドラ攻略まとめ速報
【議論】対マッドネスって●●するのが正解でクソつまんねえwwwwww
デュエプレ攻略まとめ GS
デュエプレ攻略まとめ GS
【FGO】型月で妊娠したヒロインwwwwwwwwwww←挙げてみた結果…
Fate/GO攻略ガイドブック
【FGO】型月で妊娠したヒロインwwwwwwwwwww←挙げてみた結果…
Fate/GO攻略ガイドブック
【速報】日本のeスポーツチーム、世界大会で優勝して4000万ドルを獲得してしまう
えび通
【速報】日本のeスポーツチーム、世界大会で優勝して4000万ドルを獲得してしまう
えび通
【朗報】USJ、ハンターハンターとコラボ決定wwwwwww
超マンガ速報
【朗報】USJ、ハンターハンターとコラボ決定wwwwwww
超マンガ速報
【ハチナイ】ドスケベボディはよく打つという風潮【全国大会】
ハチナイ速報@八月のシンデレラナイン攻略まとめ
ハチナイ速報@八月のシンデレラナイン攻略まとめ
【悲報】ルフィ「おまえまだ乗ってたのか、”降りろ”って言ったよな?」俺「・・・・」←これwwww
げーあにびより|ゲームやアニメの評価・感想まとめ
【悲報】ルフィ「おまえまだ乗ってたのか、”降りろ”って言ったよな?」俺「・・・・」←これwwww
げーあにびより|ゲームやアニメの評価・感想まとめ
【画像】麦わら海賊団のトニートニー・チョッパーさん、ゾロに背中を洗ってもらう獣だったwwwww
色々まとめ速報
【画像】麦わら海賊団のトニートニー・チョッパーさん、ゾロに背中を洗ってもらう獣だったwwwww
色々まとめ速報
モンハンワールドのグラフィックで2ndGをリメイクして欲しいんだが
モンハンワールド2chまとめ速報 - MHW攻略
モンハンワールドのグラフィックで2ndGをリメイクして欲しいんだが
モンハンワールド2chまとめ速報 - MHW攻略
【議論】対オルガマリー用の冠位はまだ来てないから7章でデイビットの冠位鯖も含めて2騎出る可能性もあるか⇐え?
FGO攻略まとめ隊
FGO攻略まとめ隊
【FF14】6.0アーリーアクセスまであと数日で手が震えまくる光の戦士たち!6.0メインストーリーか新ジョブのレベル上げか、みんなはどれから遊ぶ?
馬鳥速報
【FF14】6.0アーリーアクセスまであと数日で手が震えまくる光の戦士たち!6.0メインストーリーか新ジョブのレベル上げか、みんなはどれから遊ぶ?
馬鳥速報
【動画】ガノタ、絶頂
Y速報
【動画】ガノタ、絶頂
Y速報
【FF14】エレDC民「マナやガイアDCの人たちってなんか堅苦しいよね。もっと寛容になろうよ!」
FF14速報
【FF14】エレDC民「マナやガイアDCの人たちってなんか堅苦しいよね。もっと寛容になろうよ!」
FF14速報
【悲報】FF7リメイク、もうすぐ発売から2年経つのに続編の続報すらない
カンダタ速報
【悲報】FF7リメイク、もうすぐ発売から2年経つのに続編の続報すらない
カンダタ速報
ポケモンBDSPのバグ発見、デイリーミッションみたいになる 日毎の「バグ発見の歴史」がヤバイ
ぽけりん@ポケモンソードシールド(剣盾)まとめ
ポケモンBDSPのバグ発見、デイリーミッションみたいになる 日毎の「バグ発見の歴史」がヤバイ
ぽけりん@ポケモンソードシールド(剣盾)まとめ
【朗報】なんJ公認声優こと鬼頭明里ちゃん(27)、エグいくらいかわいいwww
おたくみくす 声優まとめ
【朗報】なんJ公認声優こと鬼頭明里ちゃん(27)、エグいくらいかわいいwww
おたくみくす 声優まとめ
【朗報】2021年に『1番売れたラノベ』、あの作品だったwwwww
わんこーる速報!
【朗報】2021年に『1番売れたラノベ』、あの作品だったwwwww
わんこーる速報!
【キングダム】702話ネタバレ考察 リーボック一味、もう株上げるの不可能wwww
アニはつ -アニメ発信場-
【キングダム】702話ネタバレ考察 リーボック一味、もう株上げるの不可能wwww
アニはつ -アニメ発信場-
アニメ界伝説の声優グループ四天王「放課後ティータイム」「μ's」「SOS団」
いま速
いま速
【進化の実~知らないうちに勝ち組人生~】9話感想 全部が雑で逆にバランス取れてて良し
アニはつ -アニメ発信場-
アニはつ -アニメ発信場-
【怒り】ガチャ実装40分前に効果テキスト修正ってゆるされていいの?
ドラガリアロスト攻略まとめ隊
ドラガリアロスト攻略まとめ隊
【画像】ポケカ最新弾のレアカード、作画崩壊してると話題にwwwwww
たろそくWP
【画像】ポケカ最新弾のレアカード、作画崩壊してると話題にwwwwww
たろそくWP
【悲報】ガンダム主人公、陽キャがジュドーしかいない・・・
GUNDAM.LOG|ガンダムまとめブログ
【悲報】ガンダム主人公、陽キャがジュドーしかいない・・・
GUNDAM.LOG|ガンダムまとめブログ
【ポケモンUNITE】「上ダンベルルカ」のエイパム全部奪う味方【利敵】
徒歩のポケモンまとめブログ
【ポケモンUNITE】「上ダンベルルカ」のエイパム全部奪う味方【利敵】
徒歩のポケモンまとめブログ
P「雪歩にウイスキーボンボン食わせすぎた……」
SSまにあっくす!
P「雪歩にウイスキーボンボン食わせすぎた……」
SSまにあっくす!
【DQウォーク】一周年で始めた組だけど、試練の扉ってどんだけクソだったの?
ドラゴンクエストウォークまとめ速報
【DQウォーク】一周年で始めた組だけど、試練の扉ってどんだけクソだったの?
ドラゴンクエストウォークまとめ速報
【悲報】ブラックフライデー勝者はXBOXSeriesSwwwww
ゲハ速
【悲報】ブラックフライデー勝者はXBOXSeriesSwwwww
ゲハ速
カプコン「1年発売遅れる発表したらゲーマーに怒られるやろなあ…せや!」
ゲーム感想・評価まとめ@2ch
カプコン「1年発売遅れる発表したらゲーマーに怒られるやろなあ…せや!」
ゲーム感想・評価まとめ@2ch
松田亜利沙「ニュース765TV」伊吹翼「第57回」
ポチッとSS!! SSまとめ
ポチッとSS!! SSまとめ
【モバマス】月末シルエット「森久保乃々/夢見りあむ」
本田未央ちゃん応援まとめ速報
【モバマス】月末シルエット「森久保乃々/夢見りあむ」
本田未央ちゃん応援まとめ速報
国木田山脈に登りたいんだけど、同志いる??【ラブライブ!サンシャイン】
ラブライブ! 曜ちゃんのヨーソロー!速報
ラブライブ! 曜ちゃんのヨーソロー!速報
【ウマ娘】次回ぱかライブTVの出演者にチヨノオーとファインの中の人がいるということは・・?
ウマ娘まとめ超速報!
【ウマ娘】次回ぱかライブTVの出演者にチヨノオーとファインの中の人がいるということは・・?
ウマ娘まとめ超速報!
【ガチャ】●●●連でセティア出なかった←なんでそこで諦めたんだwwwwwwww
FFBE幻影戦争 攻略まとめGS
【ガチャ】●●●連でセティア出なかった←なんでそこで諦めたんだwwwwwwww
FFBE幻影戦争 攻略まとめGS
【モンスト】※再開催熱望※「初ゲでかかった」またこの神ガチャやってくれえええええええええ!
モンスト速報 モンスターストライクまとめ
【モンスト】※再開催熱望※「初ゲでかかった」またこの神ガチャやってくれえええええええええ!
モンスト速報 モンスターストライクまとめ
【艦これ】みんなバケツ何個くらい残ってる?
あ艦これ ~艦隊これくしょんまとめブログ~
あ艦これ ~艦隊これくしょんまとめブログ~
【朗報】無職転生、ロキシーの「あのフィギュア」発売決定!!
オタク.com
【朗報】無職転生、ロキシーの「あのフィギュア」発売決定!!
オタク.com
【悲報】加藤純一さん、今日も新人の絵の初配信に負ける……
ゲーム実況者速報
【悲報】加藤純一さん、今日も新人の絵の初配信に負ける……
ゲーム実況者速報
【MHRise】花結みたいな要素、もう誰も覚えてなさそう
モンスターハンターライズまとめ速報
【MHRise】花結みたいな要素、もう誰も覚えてなさそう
モンスターハンターライズまとめ速報
RPGでベンチ入りするキャラの特徴といえばwww
ゆるゲーマー遅報
RPGでベンチ入りするキャラの特徴といえばwww
ゆるゲーマー遅報
【動画】ナンパを拒否した女性のスマホを叩き割って暴行したサラリーマン2人組、秒で特定され人生終了へ
オレ的ゲーム速報@刃
【動画】ナンパを拒否した女性のスマホを叩き割って暴行したサラリーマン2人組、秒で特定され人生終了へ
オレ的ゲーム速報@刃
【ウマ娘】ウマっ娘(娘)話~リギル前史
SSまにあっくす!
【ウマ娘】ウマっ娘(娘)話~リギル前史
SSまにあっくす!
【Fate/GO】「ぐだぐだ龍馬危機一髪!消えたノッブヘッドの謎」とかいうゆるいタイトルから繰り出される血みどろ差分の数々
Fate/Grand Order攻略情報まとめ
【Fate/GO】「ぐだぐだ龍馬危機一髪!消えたノッブヘッドの謎」とかいうゆるいタイトルから繰り出される血みどろ差分の数々
Fate/Grand Order攻略情報まとめ
【声優】堀江由衣さん、ラジオ1000回達成 前人未到の領域へ・・・
プリキュアのまとめ
【声優】堀江由衣さん、ラジオ1000回達成 前人未到の領域へ・・・
プリキュアのまとめ
本日発売の新刊漫画・コミックス一覧【発売日:2021年11月30日】
にじめん
本日発売の新刊漫画・コミックス一覧【発売日:2021年11月30日】
にじめん
【FGO】お花ちゃんの手を引いて草原を駆けるお国ちゃん!! きっといつか、外の世界に。
FGOまとめ カルデア速報
【FGO】お花ちゃんの手を引いて草原を駆けるお国ちゃん!! きっといつか、外の世界に。
FGOまとめ カルデア速報
【疑問】Switch移植連発の裏でなにが起こってるんですか?
mutyunのゲーム+αブログ
【疑問】Switch移植連発の裏でなにが起こってるんですか?
mutyunのゲーム+αブログ
【悲報】僕のヒーローアカデミアの「内通者」、ついに判明か
あぁ^~こころがぴょんぴょんするんじゃぁ^~
【悲報】僕のヒーローアカデミアの「内通者」、ついに判明か
あぁ^~こころがぴょんぴょんするんじゃぁ^~
【朗報】ヒロアカ作者、1時間で女性キャラのカラー絵を描いてしまう!!!
コミック速報
【朗報】ヒロアカ作者、1時間で女性キャラのカラー絵を描いてしまう!!!
コミック速報
【グラブル】ぐらぶるっ!1957話 コルルを連れ去ったトリステット
ミニゴブ速報 ~グラブルまとめ~
【グラブル】ぐらぶるっ!1957話 コルルを連れ去ったトリステット
ミニゴブ速報 ~グラブルまとめ~
ワイ、バトルフィールド2042を猿のようにプレイしてしまう・・・
爆NEWゲーム速報
ワイ、バトルフィールド2042を猿のようにプレイしてしまう・・・
爆NEWゲーム速報
スパイダーマンって蜘蛛の能力で戦うヒーローのはずなんだけど
ヒーローNEWS
スパイダーマンって蜘蛛の能力で戦うヒーローのはずなんだけど
ヒーローNEWS
主人公が負けた事がない漫画を一つ思い浮かべてください
JUMP(ジャンプ)速報
主人公が負けた事がない漫画を一つ思い浮かべてください
JUMP(ジャンプ)速報
【デレマス】190人のアイドル総出演予定の10周年記念アニメーションを公開!
それからの出来事() アイマスまとめ
【デレマス】190人のアイドル総出演予定の10周年記念アニメーションを公開!
それからの出来事() アイマスまとめ
ラブライブ!声優「腋は見せます。太ももも見せます。ヘソ(お腹)は見せません。」←こいつ
ラブライブ!まとめちゃんねる!!
ラブライブ!声優「腋は見せます。太ももも見せます。ヘソ(お腹)は見せません。」←こいつ
ラブライブ!まとめちゃんねる!!
【ポケモンGO】やりたいレイドが無さすぎる・・・
ポケモンGO攻略まとめ速報!!
【ポケモンGO】やりたいレイドが無さすぎる・・・
ポケモンGO攻略まとめ速報!!
【FGO】神々しさが凄い凛々しいフラン!門番感凄い・・・【FateGO】
Fate-Grand Order攻略速報 | FGO攻略・まとめ
【FGO】神々しさが凄い凛々しいフラン!門番感凄い・・・【FateGO】
Fate-Grand Order攻略速報 | FGO攻略・まとめ
ガルパンキャラのビキニサンタ姿がえっちすぎ最高のプレゼントだよ
もこキャニュース
ガルパンキャラのビキニサンタ姿がえっちすぎ最高のプレゼントだよ
もこキャニュース
真姫「違う…違うのよ…」
あやめ速報-SSまとめ-
あやめ速報-SSまとめ-
【悲報】FGO限定星5所持チェッカーで確認した結果wwwwww
FGOまとめマン速報
FGOまとめマン速報
【議論】薔薇城は1000以外に腐るから使いにくすぎるわ・・・・・
デュエプレ攻略まとめ GS
デュエプレ攻略まとめ GS
【アニメ】 ONE PIECE アニメ1000話分見放題配信スタート!www
もえぽんず。
もえぽんず。
母「ゲーム止めなさい」ワイ「セーブポイントまで待って」
スマブラ屋さん | スマブラSPまとめ攻略
母「ゲーム止めなさい」ワイ「セーブポイントまで待って」
スマブラ屋さん | スマブラSPまとめ攻略
【BG】あのヒーロー水曜には消えるのか・・・・こいついなけりゃバトグラ面白いしよかったよかったwwwww
ハースストーン攻略まとめ速報
【BG】あのヒーロー水曜には消えるのか・・・・こいついなけりゃバトグラ面白いしよかったよかったwwwww
ハースストーン攻略まとめ速報
【衝撃】ワイの中卒のトッモ(21)、何気なく始めた足場工事会社が超成功して一気に金持ちになるwwwwその後…
デジタルニューススレッド
デジタルニューススレッド
マリオ「テニスするぞ!ゴルフするぞ!カートするぞ!」←人気出る マリオ「野球するぞ!」←人気でない
アニゲー速報
マリオ「テニスするぞ!ゴルフするぞ!カートするぞ!」←人気出る マリオ「野球するぞ!」←人気でない
アニゲー速報
【Switch】『十三騎兵防衛圏』が楽しみだ
爆NEWゲーム速報
【Switch】『十三騎兵防衛圏』が楽しみだ
爆NEWゲーム速報
【悲報】人生さん、『ピーク』があまりにも短すぎるwwww
わんこーる速報!
わんこーる速報!
「NPCが生活してる」と思える箱庭ゲーム
ゲーハーの窓
「NPCが生活してる」と思える箱庭ゲーム
ゲーハーの窓
【ネタ】お正月でセレクトガチャとか来るのかな?
ロマサガRS攻略まとめ隊
【ネタ】お正月でセレクトガチャとか来るのかな?
ロマサガRS攻略まとめ隊
【ネタ】クリミヤ、フェス、新正月、ニャル、ニュネカは引きたい⇐ニャルとニュネカを引く…?
プリコネ攻略まとめ隊
プリコネ攻略まとめ隊
【動画】BF2042とCODVの比較
BF5速報 -バトルフィールドVまとめ
【動画】BF2042とCODVの比較
BF5速報 -バトルフィールドVまとめ
【ガチャ】人権!?新キャラって引くべきなの?みんなの意見がこちらwwww
ランモバ攻略まとめGS
【ガチャ】人権!?新キャラって引くべきなの?みんなの意見がこちらwwww
ランモバ攻略まとめGS
「ドールズフロントライン みしまひろじ作品集」予約開始!108Pの大ボリューム描き下ろしも収録してお届け
もゆげん-萌癒元-
「ドールズフロントライン みしまひろじ作品集」予約開始!108Pの大ボリューム描き下ろしも収録してお届け
もゆげん-萌癒元-
【悲報】星3以下はなぜコイン持ち越しにしてくれなかったんだ!
FGO攻略まとめ隊
FGO攻略まとめ隊
【プロスピA】今年から背景のクオリティが下がってきてる気が…
パワ速@プロスピA攻略まとめ
【プロスピA】今年から背景のクオリティが下がってきてる気が…
パワ速@プロスピA攻略まとめ
日本に工事期間限定の近未来的なトンネルがあると話題に!!
オタクニュース
オタクニュース
アニメ界伝説の声優グループ四天王「放課後ティータイム」「μ's」「SOS団」あとひとつは?
ぐら速 -声優まとめ速報-
アニメ界伝説の声優グループ四天王「放課後ティータイム」「μ's」「SOS団」あとひとつは?
ぐら速 -声優まとめ速報-
ポケモンBDSPって普通にクオリティ高いと思うけど
爆NEWゲーム速報
ポケモンBDSPって普通にクオリティ高いと思うけど
爆NEWゲーム速報
【パワプロアプリ】鬼滅サイドに誠意を見せれば何とか復刻ならんかね
矢部速報 | スマホアプリ版パワプロ攻略まとめブログ
【パワプロアプリ】鬼滅サイドに誠意を見せれば何とか復刻ならんかね
矢部速報 | スマホアプリ版パワプロ攻略まとめブログ
【悲報】中3刺殺事件の中学校、イジメに関するアンケートをうっかり紛失する
やらおん!
【悲報】中3刺殺事件の中学校、イジメに関するアンケートをうっかり紛失する
やらおん!
スーパーサイヤ人4とはなんだったのか
アルティメット速報
スーパーサイヤ人4とはなんだったのか
アルティメット速報
ダイパリメイクのポケモン強さランク表がこちらww
げぇ速
ダイパリメイクのポケモン強さランク表がこちらww
げぇ速
【画像】ギャル好きのための凄いガチャが発見されるwwwwww
オタク.com
【画像】ギャル好きのための凄いガチャが発見されるwwwwww
オタク.com
PS4がメイン機だった人々は迷わずPS5を選ぶだろ。ソフト資産を丸ごと引き継げるんだから
ゲハ速
PS4がメイン機だった人々は迷わずPS5を選ぶだろ。ソフト資産を丸ごと引き継げるんだから
ゲハ速
佐天「いやいや、三角関係って何よ」
SSまにあっくす!
佐天「いやいや、三角関係って何よ」
SSまにあっくす!
【FE】カスパルの長所ってなんなんだ?
ルフレch. - FEH攻略まとめ速報
【FE】カスパルの長所ってなんなんだ?
ルフレch. - FEH攻略まとめ速報
【悲報】鬼滅の刃、無限列車編最終話、視聴率6.5%
超・マンガ速報
【悲報】鬼滅の刃、無限列車編最終話、視聴率6.5%
超・マンガ速報
【期待】ティナのリボンでついにティナが完全体になるなwwwwwwww
FFBE幻影戦争 攻略まとめGS
【期待】ティナのリボンでついにティナが完全体になるなwwwwwwww
FFBE幻影戦争 攻略まとめGS
【!?】ノーガードカイリキーよりヤバい!「根を張るキマワリ」バグでガチの一撃必殺!!!
徒歩のポケモンまとめブログ
【!?】ノーガードカイリキーよりヤバい!「根を張るキマワリ」バグでガチの一撃必殺!!!
徒歩のポケモンまとめブログ
任天堂信者ですが、任天堂はフロムソフトウェアに「完全敗北」した事を認めます...
最新ゲーム速報!がんばれXboxヾ(。゜▽゜).
任天堂信者ですが、任天堂はフロムソフトウェアに「完全敗北」した事を認めます...
最新ゲーム速報!がんばれXboxヾ(。゜▽゜).
【驚愕】このキャラ、バレてきたなwwwwwwwwwwww
スマブラ攻略まとめ隊
スマブラ攻略まとめ隊
【画像】ホロライブ6期生の沙花叉クロヱさん、初配信で同接17万を記録!キャラデザも神すぎて覇権へ
あぁ^~こころがぴょんぴょんするんじゃぁ^~
【画像】ホロライブ6期生の沙花叉クロヱさん、初配信で同接17万を記録!キャラデザも神すぎて覇権へ
あぁ^~こころがぴょんぴょんするんじゃぁ^~
【質問】プラ落ちのカタリナしか持ってないんやが今回のカタリナ引かなくていいの?
ロマサガRS攻略まとめ隊
【質問】プラ落ちのカタリナしか持ってないんやが今回のカタリナ引かなくていいの?
ロマサガRS攻略まとめ隊
【議論】配布マヒル強そうやなwwwwwwww
プリコネ攻略まとめ隊
プリコネ攻略まとめ隊
【衝撃の事実】アトラスさん実は去年からSwitchにシフトチェンジしていた
えび通
【衝撃の事実】アトラスさん実は去年からSwitchにシフトチェンジしていた
えび通
子ども部屋おばさん「私は離婚して実家に戻っただけなのでこどおじとは違います」←これ
エレファント速報:SSまとめブログ
エレファント速報:SSまとめブログ
【画像】ジャンプの新連載さん、どこかで見たことある展開になる
アニゲー速報
【画像】ジャンプの新連載さん、どこかで見たことある展開になる
アニゲー速報
【パズドラ】最低13連を心配するリプ多数!山本Pの50連ガチャ構想発表に対する反応まとめ
オーガch.-パズドラ攻略まとめ速報
【パズドラ】最低13連を心配するリプ多数!山本Pの50連ガチャ構想発表に対する反応まとめ
オーガch.-パズドラ攻略まとめ速報
【ネタ】有償だけで手に入るって誤認させてるから普通にアウトくさいんだが燃えてないのが不思議
ロマサガRS攻略まとめ隊
【ネタ】有償だけで手に入るって誤認させてるから普通にアウトくさいんだが燃えてないのが不思議
ロマサガRS攻略まとめ隊
【議論】もう夢火も120+アペンド3つ解放する予定の奴しか使えんよな⇐え?
FGO攻略まとめ隊
FGO攻略まとめ隊
ランジュ「きゃあっ!」←何をされた【ラブライブ!虹ヶ咲】
ラブライブ!まとめちゃんねる!!
ランジュ「きゃあっ!」←何をされた【ラブライブ!虹ヶ咲】
ラブライブ!まとめちゃんねる!!
【画像】セクシー女優「撮影現場に小峠さんいたw」パシャッ
わんこーる速報!
わんこーる速報!
プッチ神父のキャラデザと声優が発表される!
ジャンプ速報
プッチ神父のキャラデザと声優が発表される!
ジャンプ速報
今週の「アンデッドアンラック」感想、スプリング、フェーズ3へ!ユニオン&アンダー総力戦は熱すぎる!!【89話】
ジャンプまとめ速報
ジャンプまとめ速報
【指摘】このキャラは流石に環境についていけなくなったきたwwwwwwww
ドラゴンボールレジェンズ攻略まとめ隊
【指摘】このキャラは流石に環境についていけなくなったきたwwwwwwww
ドラゴンボールレジェンズ攻略まとめ隊
【アズレン】コラボキャラの強さって六花>ちせ>ゆめ>ほかって感じ?
アズールレーン速報-アズレンまとめ
【アズレン】コラボキャラの強さって六花>ちせ>ゆめ>ほかって感じ?
アズールレーン速報-アズレンまとめ
【画像】今月のコロコロコミックの表紙がすごい
超マンガ速報
【画像】今月のコロコロコミックの表紙がすごい
超マンガ速報
【わたモテ】もこっち役の橘田いずみさんが結婚したけどアニメの続編作れなくなるんかな?
色々まとめ速報
【わたモテ】もこっち役の橘田いずみさんが結婚したけどアニメの続編作れなくなるんかな?
色々まとめ速報
家族経営の会社で社長の娘が帰ってくるので辞めてくれないと言われた。私が拒否したら酷いイジメにあったので退職金貰って退社した。
オタクニュース
オタクニュース
【悲報】異世界人、肉を焼くという発想が無かったwwwwww
たろそくWP
【悲報】異世界人、肉を焼くという発想が無かったwwwwww
たろそくWP
【プロスピA】パワヒ・その他の弾道にも優位性欲しいよなあ…現状アーチストの完全下位互換だし
パワ速@プロスピA攻略まとめ
【プロスピA】パワヒ・その他の弾道にも優位性欲しいよなあ…現状アーチストの完全下位互換だし
パワ速@プロスピA攻略まとめ
【増殖バグ】ダイパリメイクさん、もう何本目か分からない超えてはいけない一線を越える
Y速報
【増殖バグ】ダイパリメイクさん、もう何本目か分からない超えてはいけない一線を越える
Y速報
【質問】新恒常って課金でしか出ないんでしょ?
ロマサガRS攻略まとめ隊
【質問】新恒常って課金でしか出ないんでしょ?
ロマサガRS攻略まとめ隊
声優の緒方恵美さん、過労で休養「体温が高いのに汗が出ない」
おたくみくす 声優まとめ
声優の緒方恵美さん、過労で休養「体温が高いのに汗が出ない」
おたくみくす 声優まとめ
【画像】これは絵面がひどすぎるwwwwwwww
モンハンワールド攻略まとめ隊
モンハンワールド攻略まとめ隊
【画像】鬼のお姉さんと朝まで飲みてえなあwwwwwwww
アークナイツ攻略まとめGS
【画像】鬼のお姉さんと朝まで飲みてえなあwwwwwwww
アークナイツ攻略まとめGS
【凄い】『ヒロアカ』作者さん、液タブで1時間でここまでできるようになってしまうwwwwメチャクチャ凄い!!
デジタルニューススレッド
デジタルニューススレッド
【悲報】郷里大輔や銀河万丈みたいな声が出せる若手男性声優、ガチでいない・・・・・・
声豚速報
【悲報】郷里大輔や銀河万丈みたいな声が出せる若手男性声優、ガチでいない・・・・・・
声豚速報
【悲報】ガンダム主人公、陽キャがジュドーしかいない・・・
JUMP(ジャンプ)速報
【悲報】ガンダム主人公、陽キャがジュドーしかいない・・・
JUMP(ジャンプ)速報
【ポケモンGO】12月コミュデイ総集編で「最優先」で取得したい特別な技
徒歩のポケモンまとめブログ
【ポケモンGO】12月コミュデイ総集編で「最優先」で取得したい特別な技
徒歩のポケモンまとめブログ
【オミクロン株】日本政府、全ての国からの入国を原則停止に!日本にしては珍しく早い対応
オレ的ゲーム速報@刃
【オミクロン株】日本政府、全ての国からの入国を原則停止に!日本にしては珍しく早い対応
オレ的ゲーム速報@刃
【艦これ】深夜の時津風画像スレ
あ艦これ ~艦隊これくしょんまとめブログ~
あ艦これ ~艦隊これくしょんまとめブログ~
モバP「とあるキュートなアイドル事務所」(安価もある…かも)
ポチッとSS!! SSまとめ
ポチッとSS!! SSまとめ
【朗報】やるぞおおおおお!FF6コラボ「裁きの試練」開催クル━━━━(゚∀゚)━━━━!!
FFBE幻影戦争 攻略まとめGS
【朗報】やるぞおおおおお!FF6コラボ「裁きの試練」開催クル━━━━(゚∀゚)━━━━!!
FFBE幻影戦争 攻略まとめGS
【悲報】ひぐらしのなく頃にさん、業卒で卒業したファンの脳を破壊しにくるwww
あぁ^~こころがぴょんぴょんするんじゃぁ^~
【悲報】ひぐらしのなく頃にさん、業卒で卒業したファンの脳を破壊しにくるwww
あぁ^~こころがぴょんぴょんするんじゃぁ^~
【ウマ娘】シングレ5巻の表紙…「声優と夜あそび」出演…遂にタマモクロスが来るのか!?
ウマ娘まとめ超速報!
【ウマ娘】シングレ5巻の表紙…「声優と夜あそび」出演…遂にタマモクロスが来るのか!?
ウマ娘まとめ超速報!
【艦これ】ホノルル「コーヒー飲む?」 他なごみネタ
艦これ速報 艦隊これくしょんまとめ
【艦これ】ホノルル「コーヒー飲む?」 他なごみネタ
艦これ速報 艦隊これくしょんまとめ
★【ワートリ】香取隊って、結局香取の個人技と華の冷静さで持ってたチームなんやなぁって
ワールドトリガーまとめ
★【ワートリ】香取隊って、結局香取の個人技と華の冷静さで持ってたチームなんやなぁって
ワールドトリガーまとめ
【Fate/GO】生前からの夫婦とかではなく、新たな関係性で甘酸っぱい鯖同士というの凄く貴重なので高杉と阿国は厳重に保管しなければ
Fate/Grand Order攻略情報まとめ
【Fate/GO】生前からの夫婦とかではなく、新たな関係性で甘酸っぱい鯖同士というの凄く貴重なので高杉と阿国は厳重に保管しなければ
Fate/Grand Order攻略情報まとめ
X年後Aqoursがレジェンド枠になっても生放送とかに出演者してくれそうな人は?【ラブライブ!サンシャイン】
ラブライブ! 曜ちゃんのヨーソロー!速報
X年後Aqoursがレジェンド枠になっても生放送とかに出演者してくれそうな人は?【ラブライブ!サンシャイン】
ラブライブ! 曜ちゃんのヨーソロー!速報
【エヴァSS】おそらくエヴァンゲリオン
SSまにあっくす!
【エヴァSS】おそらくエヴァンゲリオン
SSまにあっくす!
【悲報】BFとCoD、仲良く死亡。FPSユーザーはどこへ行ってしまったのか
mutyunのゲーム+αブログ
【悲報】BFとCoD、仲良く死亡。FPSユーザーはどこへ行ってしまったのか
mutyunのゲーム+αブログ
HJ文庫「英雄王、武を極めるため転生す ~そして、世界最強の見習い騎士♀~」アニメ化企画進行中!
オタク.com
HJ文庫「英雄王、武を極めるため転生す ~そして、世界最強の見習い騎士♀~」アニメ化企画進行中!
オタク.com
【FGO】壁に挟まったモルガン様!! モルガン様大丈夫ですか!?
FGOまとめ カルデア速報
【FGO】壁に挟まったモルガン様!! モルガン様大丈夫ですか!?
FGOまとめ カルデア速報
『人狼』のルールがよくわからんのやが
ゆるゲーマー遅報
『人狼』のルールがよくわからんのやが
ゆるゲーマー遅報
【悲報】ジャンプの新連載さん、見た事ある展開をやってしまう
コミック速報
【悲報】ジャンプの新連載さん、見た事ある展開をやってしまう
コミック速報
【悲報】『ドラゴンクエストX オンライン』、パンツナーフされユーザーが激昂してしまう
ゲーム感想・評価まとめ@2ch
【悲報】『ドラゴンクエストX オンライン』、パンツナーフされユーザーが激昂してしまう
ゲーム感想・評価まとめ@2ch
星のカービィ 夢の泉の物語とかいう神ゲーwwww
爆NEWゲーム速報
星のカービィ 夢の泉の物語とかいう神ゲーwwww
爆NEWゲーム速報
【FGO】イベントが時限開放式なのは正しい気がしてきた←速攻で終わらして虚無虚無言う人は必ず出るからな【FateGO】
Fate-Grand Order攻略速報 | FGO攻略・まとめ
【FGO】イベントが時限開放式なのは正しい気がしてきた←速攻で終わらして虚無虚無言う人は必ず出るからな【FateGO】
Fate-Grand Order攻略速報 | FGO攻略・まとめ
『ワンピース』ナミ役・岡村明美は一味で最年少 いまだに雑用係という裏話に「すげえ現場」
まんがとあにめ
『ワンピース』ナミ役・岡村明美は一味で最年少 いまだに雑用係という裏話に「すげえ現場」
まんがとあにめ
【朗報】遊戯王の奈落の落とし穴、今日で20歳の誕生日だった
新5chまとめ速報-ネオ速-
【朗報】遊戯王の奈落の落とし穴、今日で20歳の誕生日だった
新5chまとめ速報-ネオ速-
【悲報】ゲームのグラフィック、もうこれ以上進化できない
カンダタ速報
【悲報】ゲームのグラフィック、もうこれ以上進化できない
カンダタ速報
【デレステ】キセキの証コミュでふみ虐やってる件
本田未央ちゃん応援まとめ速報
【デレステ】キセキの証コミュでふみ虐やってる件
本田未央ちゃん応援まとめ速報
【悲報】任天堂、「やわらかあたま塾」を売るために遂に抱き合わせ商法をする…
最新ゲーム速報!がんばれXboxヾ(。゜▽゜).
【悲報】任天堂、「やわらかあたま塾」を売るために遂に抱き合わせ商法をする…
最新ゲーム速報!がんばれXboxヾ(。゜▽゜).
【FF14】IDって回復しないヒーラー多いよな
FF14ひかせん速報
【FF14】IDって回復しないヒーラー多いよな
FF14ひかせん速報
【ネタ】ミヤコは今年のガチャで一番可愛いよなwwwwwww
プリコネ攻略まとめ隊
プリコネ攻略まとめ隊
【ガチャ】このまま3週間周期だとこいつは3ヶ月後かwwwwww
ランモバ攻略まとめGS
【ガチャ】このまま3週間周期だとこいつは3ヶ月後かwwwwww
ランモバ攻略まとめGS
【ネタ】ところで次回のBGMはどっちが流れると思う?
スパロボDD攻略まとめ GAMER STAND
スパロボDD攻略まとめ GAMER STAND
【悲報】このキャラの復帰弱すぎて引くわwwwwwwwww
スマブラ攻略まとめ隊
スマブラ攻略まとめ隊
アトラス、実は去年からSwitchにシフトチェンジしていた
SWITCH速報
アトラス、実は去年からSwitchにシフトチェンジしていた
SWITCH速報
【かぐや様は告らせたい】236話ネタバレ考察 石上とミコちゃん、とうとう神るかもしれない
アニはつ -アニメ発信場-
【かぐや様は告らせたい】236話ネタバレ考察 石上とミコちゃん、とうとう神るかもしれない
アニはつ -アニメ発信場-
【議論】イベント復刻条件にレアプリを設定するな!!!!!!!⇐別にいいけどなwwwww
FGO攻略まとめ隊
FGO攻略まとめ隊
【境界戦機】9話感想 ロボの戦闘が無いとプラモ売れないんじゃ…
アニはつ -アニメ発信場-
【境界戦機】9話感想 ロボの戦闘が無いとプラモ売れないんじゃ…
アニはつ -アニメ発信場-
【アークナイツ】バイクコーデ増えないかな グマさんもフミヅキさんも乗ってるみたいだし
アクナイ速報 -アークナイツまとめ-
【アークナイツ】バイクコーデ増えないかな グマさんもフミヅキさんも乗ってるみたいだし
アクナイ速報 -アークナイツまとめ-
【画像】チナちゃんの扱い草wwwwwwwwww
アークナイツ攻略まとめGS
【画像】チナちゃんの扱い草wwwwwwwwww
アークナイツ攻略まとめGS
【悲報】麦わらの一味のナミの声優さん、一番若い(52歳)という理由で雑用係をさせられていた…
アニゲー速報
【悲報】麦わらの一味のナミの声優さん、一番若い(52歳)という理由で雑用係をさせられていた…
アニゲー速報
「Merry X'mas, xxx 」
SS古今東西
SS古今東西
【ポケモンダイヤパール】28日までに発見されたバグ一覧w
爆NEWゲーム速報
【ポケモンダイヤパール】28日までに発見されたバグ一覧w
爆NEWゲーム速報
【画像】クラス内での「陰キャチー牛」のポジションがこちらwwww
わんこーる速報!
【画像】クラス内での「陰キャチー牛」のポジションがこちらwwww
わんこーる速報!
RPGで1番面白い期間、全体の30-40%らへん説wwww
ゲーハー黙示録
RPGで1番面白い期間、全体の30-40%らへん説wwww
ゲーハー黙示録
【朗報】キムタクが如く、発売から3年たった現在アマラン5位 驚異のジワ売れを見せる
えび通
【朗報】キムタクが如く、発売から3年たった現在アマラン5位 驚異のジワ売れを見せる
えび通
【質問】1-2-3って聖王何%の武器あればワンパン出来る?
ロマサガRS攻略まとめ隊
【質問】1-2-3って聖王何%の武器あればワンパン出来る?
ロマサガRS攻略まとめ隊
【悲報】TYPE-MOONとかいう古参から見捨てられたコンテンツwwwwww
げーあにびより|ゲームやアニメの評価・感想まとめ
【悲報】TYPE-MOONとかいう古参から見捨てられたコンテンツwwwwww
げーあにびより|ゲームやアニメの評価・感想まとめ
【マジでこれ】手取り25万以下に責任とか求めないで
オタクニュース
オタクニュース
【ネタ】みんな、殲滅作戦やった?
アークナイツ攻略まとめGS
【ネタ】みんな、殲滅作戦やった?
アークナイツ攻略まとめGS
【マジかよ】10代女性に見られてる今期アニメ、2位が「世界最高の暗殺者、異世界貴族に転生する」
やらおん!
【マジかよ】10代女性に見られてる今期アニメ、2位が「世界最高の暗殺者、異世界貴族に転生する」
やらおん!
大人になってもポケモンやってる奴って
爆NEWゲーム速報
大人になってもポケモンやってる奴って
爆NEWゲーム速報
【超画像】ウマ娘絵師さん、ギリギリを攻めてしまうwwww
ウマ娘うまだっち速報
【超画像】ウマ娘絵師さん、ギリギリを攻めてしまうwwww
ウマ娘うまだっち速報
【速報】「キン肉マン」超人総選挙2021、結果発表!!第1位に選ばれた超人は…!!
最強ジャンプ放送局
【速報】「キン肉マン」超人総選挙2021、結果発表!!第1位に選ばれた超人は…!!
最強ジャンプ放送局
漫画「灰の双子は白黒つけずに世界を救います。」最新3巻予約開始!爽快ケモ耳ファンタジー第三弾
もゆげん-萌癒元-
もゆげん-萌癒元-
【朗報】シャニマスさん、『2021年シャニマス流行語大賞』を開催 「今年最も話題になった言葉」を募集www
あぁ^~こころがぴょんぴょんするんじゃぁ^~
【朗報】シャニマスさん、『2021年シャニマス流行語大賞』を開催 「今年最も話題になった言葉」を募集www
あぁ^~こころがぴょんぴょんするんじゃぁ^~
【ネタ】スマブラDX意味不明攻撃判定三銃士を連れてきたよ!
スマブラ攻略まとめ隊
スマブラ攻略まとめ隊
【エルデンリング】PVでやたら推されてた武器ガードの実用性って結局どうだったの?
ダークソウルまとめ速報
【エルデンリング】PVでやたら推されてた武器ガードの実用性って結局どうだったの?
ダークソウルまとめ速報
文句無しにイケメンor美女なのにネタキャラ扱いなキャラっている?
ああ言えばForYou
文句無しにイケメンor美女なのにネタキャラ扱いなキャラっている?
ああ言えばForYou
ソニーがスマホを挟み込むゲームコントローラーの特許を取得!モバイル向けPSゲームの布石か!?
オタク.com
ソニーがスマホを挟み込むゲームコントローラーの特許を取得!モバイル向けPSゲームの布石か!?
オタク.com
ブレワイしかやったことないんだけど、スカイウォードソードってやつ面白い?
爆NEWゲーム速報
ブレワイしかやったことないんだけど、スカイウォードソードってやつ面白い?
爆NEWゲーム速報
【悲報】任天堂元社長の岩田は工業大学出身w
最新ゲーム速報!がんばれXboxヾ(。゜▽゜).
【悲報】任天堂元社長の岩田は工業大学出身w
最新ゲーム速報!がんばれXboxヾ(。゜▽゜).
【SS】しずく「刹那に伝う涙の雫」【ラブライブ!虹ヶ咲】
ラブライブ!まとめちゃんねる!!
【SS】しずく「刹那に伝う涙の雫」【ラブライブ!虹ヶ咲】
ラブライブ!まとめちゃんねる!!
【ポケモンGO】12月コミュデイでブラストバーン覚えるかな?
ポケモンGO攻略まとめ速報!!
【ポケモンGO】12月コミュデイでブラストバーン覚えるかな?
ポケモンGO攻略まとめ速報!!
【悲報】初めてのフォルネウスなんやけど 錬成ないとしても弱すぎひんか?
ロマサガRS攻略まとめ隊
【悲報】初めてのフォルネウスなんやけど 錬成ないとしても弱すぎひんか?
ロマサガRS攻略まとめ隊
漫画「くっ…肋骨が数本逝ったか…!」 現実「あぁぁぁぁぁぉ!?!??!??、息!?」
ネトゲ攻略速報
漫画「くっ…肋骨が数本逝ったか…!」 現実「あぁぁぁぁぁぉ!?!??!??、息!?」
ネトゲ攻略速報
アサシンズクリードシリーズのストーリー完璧に把握してる人いない説
げぇ速
げぇ速
【議論】この声優って結構キャラやってるけど、生放送とか全然出ないよなwwww
FGO攻略まとめ隊
FGO攻略まとめ隊
ニュース「若者の恋愛離れ、未婚化」独身ワイ「イオンに買い物行くか」→家族連れ、カップルだらけ
エレファント速報:SSまとめブログ
エレファント速報:SSまとめブログ
なろう読者さん、ブクマ外す報告をわざわざ感想に書いてしまう
読み速
なろう読者さん、ブクマ外す報告をわざわざ感想に書いてしまう
読み速
格ゲーおじさん「お、初心者やんけ!ボコボコにしたろ!」
終わらないコンテンツ速報
格ゲーおじさん「お、初心者やんけ!ボコボコにしたろ!」
終わらないコンテンツ速報
【レジェンズ】LLトランクスはユニークゲージのおかげで実質踏ん張り2回持ち?
アルティメット速報
【レジェンズ】LLトランクスはユニークゲージのおかげで実質踏ん張り2回持ち?
アルティメット速報
【動画】YouTuber「リアルイカゲームやってみたw」→4日で1億再生
アニゲー速報
【動画】YouTuber「リアルイカゲームやってみたw」→4日で1億再生
アニゲー速報
【相談】今年出た第6世代iPadmini使っているしきかんいる?ドルフロ的にどう?
ドールズフロントライン 攻略まとめ隊
ドールズフロントライン 攻略まとめ隊
聖剣伝説3リメイクさん、うっかり100万本売れてしまったらしいが
PS5速報
PS5速報
【画像】この場合、レスリーとルージュ どちらが正解?
ロマサガRS攻略まとめ隊
【画像】この場合、レスリーとルージュ どちらが正解?
ロマサガRS攻略まとめ隊
「デジキャラット」「小麦ちゃん」並みのギャグ萌えアニメ
ヲタク速報
「デジキャラット」「小麦ちゃん」並みのギャグ萌えアニメ
ヲタク速報
【悲報】この漫画の女さん、陰キャに対して大正論をブチかましてしまうwwww
わんこーる速報!
【悲報】この漫画の女さん、陰キャに対して大正論をブチかましてしまうwwww
わんこーる速報!
【速報】ワンピースの章ごとの評価がコチラwwwww
ちゃん速
【速報】ワンピースの章ごとの評価がコチラwwwww
ちゃん速
【悲報】ガンダムWの主人公、超絶イケメンみたいな雰囲気してるのに身長が低すぎる・・
ガンダムまとめ速報
【悲報】ガンダムWの主人公、超絶イケメンみたいな雰囲気してるのに身長が低すぎる・・
ガンダムまとめ速報
【パズドラ】お前らマジで悪い事は言わないからこいつ確保しとけよ【本日まで】
オーガch.-パズドラ攻略まとめ速報
【パズドラ】お前らマジで悪い事は言わないからこいつ確保しとけよ【本日まで】
オーガch.-パズドラ攻略まとめ速報
【FGO・画像あり】規約違反で4人のユーザーが消えさる.....←結果wwwwwwwwwww
Fate/GO攻略ガイドブック
【FGO・画像あり】規約違反で4人のユーザーが消えさる.....←結果wwwwwwwwwww
Fate/GO攻略ガイドブック
【驚愕】属性反転ってこういうことかwwwwwwww
ドラゴンボールレジェンズ攻略まとめ隊
【驚愕】属性反転ってこういうことかwwwwwwww
ドラゴンボールレジェンズ攻略まとめ隊
アインフェリアの敵がまさか熊本軍。ムスペルヘイム。
もばます!
アインフェリアの敵がまさか熊本軍。ムスペルヘイム。
もばます!
【心配】声優の緒方恵美さんが過労で休養…
デジタルニューススレッド
デジタルニューススレッド
↑