アニメ・ゲーム 2021/12/01 の記事一覧

【画像】このキャラは絶対育てることはないと思ってたのにwwwwwwww
ドールズフロントライン 攻略まとめ隊
ドールズフロントライン 攻略まとめ隊
【FGO・速報】明日メンテナンスの告知キタ━━━(゚∀゚).━━━!!!←あっ…(察し)
Fate/GO攻略ガイドブック
【FGO・速報】明日メンテナンスの告知キタ━━━(゚∀゚).━━━!!!←あっ…(察し)
Fate/GO攻略ガイドブック
【マジかよ!?】※画像あり※「価値が高いぞ」「オーブ○○個で6万の値段はつく」知られざる”モンストの価値”がコチラwwwww【モンスト】
モンスト!まとめーじぇんと。
【マジかよ!?】※画像あり※「価値が高いぞ」「オーブ○○個で6万の値段はつく」知られざる”モンストの価値”がコチラwwwww【モンスト】
モンスト!まとめーじぇんと。
【朗報】ライトノベル2021年、年間で1番売れたラノベが発表される!鬼滅と転スラが強すぎ問題
色々まとめ速報
【朗報】ライトノベル2021年、年間で1番売れたラノベが発表される!鬼滅と転スラが強すぎ問題
色々まとめ速報
【悲報】ゾロのセリフの「親友」がルフィとサンジ、どちらのことを言っているのかで5ch民が大論争をしてしまうwwww【ワンピース】
オタクニュース
オタクニュース
【朗報】スシローさん、とんでもないとんでもないキャンペーンを開催してしまうwwwwww
たろそくWP
【朗報】スシローさん、とんでもないとんでもないキャンペーンを開催してしまうwwwwww
たろそくWP
【悲報】ガンダム主人公、陽キャがジュドーしかいない説wwww
ガンダムまとめ速報
【悲報】ガンダム主人公、陽キャがジュドーしかいない説wwww
ガンダムまとめ速報
【画像】ロウきゅーぶ!声優の今wwww
おたくみくす 声優まとめ
【画像】ロウきゅーぶ!声優の今wwww
おたくみくす 声優まとめ
【議論】剣はこのキャラ居ないとムリゲーじゃね?wwww⇐行けるぞ【追憶の幻闘場】
ロマサガRS攻略まとめ隊
【議論】剣はこのキャラ居ないとムリゲーじゃね?wwww⇐行けるぞ【追憶の幻闘場】
ロマサガRS攻略まとめ隊
今まで出たリメイクゲーの評価格付けしてみたww
PS4速報!
今まで出たリメイクゲーの評価格付けしてみたww
PS4速報!
【寺道 登】ゲロ道嫌われすぎやろwwwwwwww【パワプロアプリ】
パワプロスマホアプリまとめ
パワプロスマホアプリまとめ
【FGO】夫の服を着る両儀式!! ノースリーブな式もいいね!
FGOまとめ カルデア速報
【FGO】夫の服を着る両儀式!! ノースリーブな式もいいね!
FGOまとめ カルデア速報
【画像】韓国で流行中の食べる前に降る「シャカシャカ弁当」、ガチでうまそうwww
あぁ^~こころがぴょんぴょんするんじゃぁ^~
【画像】韓国で流行中の食べる前に降る「シャカシャカ弁当」、ガチでうまそうwww
あぁ^~こころがぴょんぴょんするんじゃぁ^~
【東方】オオワシ霊「饕餮さま萌え゛え゛え゛え゛え゛え゛え゛え゛」
2ch東方スレ観測所
【東方】オオワシ霊「饕餮さま萌え゛え゛え゛え゛え゛え゛え゛え゛」
2ch東方スレ観測所
【FF14】 ログイン待機時に〇〇すると最後尾から並び直しに!6.0ログイン戦争での注意点・覚えておきたいことがこちら!
馬鳥速報
【FF14】 ログイン待機時に〇〇すると最後尾から並び直しに!6.0ログイン戦争での注意点・覚えておきたいことがこちら!
馬鳥速報
【アカン】新人Vチューバーさん、チャンネル登録者が5万人消える……
ゲーム実況者速報
【アカン】新人Vチューバーさん、チャンネル登録者が5万人消える……
ゲーム実況者速報
【朗報】Switch『十三機兵防衛圏』(追加要素有り)がAmazonランキング上昇中!!!
mutyunのゲーム+αブログ
【朗報】Switch『十三機兵防衛圏』(追加要素有り)がAmazonランキング上昇中!!!
mutyunのゲーム+αブログ
【えぇ...】青森県むつ市のふるさと納税返礼品『男女兼用ホタテ水着』、現在の注文数がこちらwwwww
オレ的ゲーム速報@刃
【えぇ...】青森県むつ市のふるさと納税返礼品『男女兼用ホタテ水着』、現在の注文数がこちらwwwww
オレ的ゲーム速報@刃
※劇場版の新型デスティニーガンダムはどうなるだろう?
GUNDAM.LOG|ガンダムまとめブログ
※劇場版の新型デスティニーガンダムはどうなるだろう?
GUNDAM.LOG|ガンダムまとめブログ
【艦これ】これは当りやな
あ艦これ ~艦隊これくしょんまとめブログ~
【艦これ】これは当りやな
あ艦これ ~艦隊これくしょんまとめブログ~
【5万いいね】歯科検診で褒められすぎて『なろう主人公』みたいになった話wwwww
オタク.com
【5万いいね】歯科検診で褒められすぎて『なろう主人公』みたいになった話wwwww
オタク.com
バイオハザード4リメイクの発売がほぼ確定か、ウェスカー役の声優が漏らす
ゲーム感想・評価まとめ@2ch
バイオハザード4リメイクの発売がほぼ確定か、ウェスカー役の声優が漏らす
ゲーム感想・評価まとめ@2ch
【Fate/GO】阿国さん一人引けたけど三蔵ちゃんの代わりにはならんよね やっぱり交換で貰っといたほうが良いのか
Fate/Grand Order攻略情報まとめ
【Fate/GO】阿国さん一人引けたけど三蔵ちゃんの代わりにはならんよね やっぱり交換で貰っといたほうが良いのか
Fate/Grand Order攻略情報まとめ
【ポケモンGO】「12月の予定」が発表されない!まさかの当月発表?明日のレイドアワーすら解らない・・!
徒歩のポケモンまとめブログ
【ポケモンGO】「12月の予定」が発表されない!まさかの当月発表?明日のレイドアワーすら解らない・・!
徒歩のポケモンまとめブログ
【話題】明らかにヨースターのやる気がなくなってるからグロ版撤退はあり得る
アークナイツ攻略まとめGS
【話題】明らかにヨースターのやる気がなくなってるからグロ版撤退はあり得る
アークナイツ攻略まとめGS
八幡「夏の終り」
SSまにあっくす!
八幡「夏の終り」
SSまにあっくす!
【議論】鬼やキツネと違って強力な河童って言われると思いつかないよなw
FGO攻略まとめ隊
FGO攻略まとめ隊
【艦これ】目を覚ますと親潮ちゃんがいる日常 他なごみネタ
艦これ速報 艦隊これくしょんまとめ
【艦これ】目を覚ますと親潮ちゃんがいる日常 他なごみネタ
艦これ速報 艦隊これくしょんまとめ
「千と千尋の神隠しには映画館だけで流れた幻のエンディングが存在する」←これ
コミック速報
「千と千尋の神隠しには映画館だけで流れた幻のエンディングが存在する」←これ
コミック速報
★【ワートリ】漫画でも盛り上がったチカの心象告白だけどアニメスゲーわ
ワールドトリガーまとめ
★【ワートリ】漫画でも盛り上がったチカの心象告白だけどアニメスゲーわ
ワールドトリガーまとめ
原作漫画・アニメが終わってからゲーム化された作品ってどれくらいある?
ゆるゲーマー遅報
原作漫画・アニメが終わってからゲーム化された作品ってどれくらいある?
ゆるゲーマー遅報
『くにおくんの三国志だよ全員集合!』のNintendo Switch版が12月16日に発売決定。
最新ゲーム速報!がんばれXboxヾ(。゜▽゜).
『くにおくんの三国志だよ全員集合!』のNintendo Switch版が12月16日に発売決定。
最新ゲーム速報!がんばれXboxヾ(。゜▽゜).
【氷菓】折木「カップリング」十文字「50の質問」
ポチッとSS!! SSまとめ
ポチッとSS!! SSまとめ
ヨドバシカメラのガンプラ福袋、15,000円
カンダタ速報
ヨドバシカメラのガンプラ福袋、15,000円
カンダタ速報
【雑談】Switchに移植してほしいレトロゲーム
ニンテンドースイッチ速報
【雑談】Switchに移植してほしいレトロゲーム
ニンテンドースイッチ速報
【FGO】ぐだぐだ鯖ってイカれてるやつ多いよな←以蔵さんとかトップクラスにまともだよなwww【FateGO】
Fate-Grand Order攻略速報 | FGO攻略・まとめ
【FGO】ぐだぐだ鯖ってイカれてるやつ多いよな←以蔵さんとかトップクラスにまともだよなwww【FateGO】
Fate-Grand Order攻略速報 | FGO攻略・まとめ
凪のあすからってアニメ面白い?
新5chまとめ速報-ネオ速-
凪のあすからってアニメ面白い?
新5chまとめ速報-ネオ速-
【FF14】極ダイヤの角で戦うタンクってなんなの?
FF14ひかせん速報
【FF14】極ダイヤの角で戦うタンクってなんなの?
FF14ひかせん速報
「タイトル回収」というどんな作品でも絶対に盛り上がる瞬間
いま速
「タイトル回収」というどんな作品でも絶対に盛り上がる瞬間
いま速
まゆ「世にも奇妙な恋物語……ですよぉ?」
あやめ速報-SSまとめ-
あやめ速報-SSまとめ-
【スマブラ】プロトバナムがオンラインキャラTOP7を発表
スマブラSPまとめ速報
【スマブラ】プロトバナムがオンラインキャラTOP7を発表
スマブラSPまとめ速報
【名作】『無職転生』←こいつに対する正直な感想がこちら!!!!
デジタルニューススレッド
【名作】『無職転生』←こいつに対する正直な感想がこちら!!!!
デジタルニューススレッド
【ネプシス】今作って3人パーティになるんだな
ネプテューヌ通信
【ネプシス】今作って3人パーティになるんだな
ネプテューヌ通信
虹ヶ咲キーホルダー、終わる【ラブライブ!虹ヶ咲】
ラブライブ! 曜ちゃんのヨーソロー!速報
虹ヶ咲キーホルダー、終わる【ラブライブ!虹ヶ咲】
ラブライブ! 曜ちゃんのヨーソロー!速報
【悲報】にじさんじ運営会社、Vtuber50人を突然全員解雇して炎上してしまう…
アニゲー速報
【悲報】にじさんじ運営会社、Vtuber50人を突然全員解雇して炎上してしまう…
アニゲー速報
【衝撃】BLEACHの十刃スタークさん、ガチでカッコいい台詞を披露してしまうwwww
アニはつ -アニメ発信場-
【衝撃】BLEACHの十刃スタークさん、ガチでカッコいい台詞を披露してしまうwwww
アニはつ -アニメ発信場-
スマブラで何でコイツが参戦?ってなったキャラwwww
スマブラ屋さん | スマブラSPまとめ攻略
スマブラで何でコイツが参戦?ってなったキャラwwww
スマブラ屋さん | スマブラSPまとめ攻略
声優・ファイルーズあいに対する正直なイメージ
もゆげん-萌癒元-
声優・ファイルーズあいに対する正直なイメージ
もゆげん-萌癒元-
【アークナイツ】鬼のお姉さんと朝まで飲みてえなあ
アクナイ速報 -アークナイツまとめ-
【アークナイツ】鬼のお姉さんと朝まで飲みてえなあ
アクナイ速報 -アークナイツまとめ-
ラブライブ!の神だけど何か願いある?
ラブライブ!まとめちゃんねる!!
ラブライブ!の神だけど何か願いある?
ラブライブ!まとめちゃんねる!!
【ポケモンダイヤパール】色違い集めてる人って自力で出すことにこだわらないの?
爆NEWゲーム速報
【ポケモンダイヤパール】色違い集めてる人って自力で出すことにこだわらないの?
爆NEWゲーム速報
【急募】「陰キャ」が髪を切る場所を教えてくれwwww
わんこーる速報!
【急募】「陰キャ」が髪を切る場所を教えてくれwwww
わんこーる速報!
【画像】全滅が楽しい←マジでここやばかったwwwwwwww
ロマサガRS攻略まとめ隊
【画像】全滅が楽しい←マジでここやばかったwwwwwwww
ロマサガRS攻略まとめ隊
【ドラクエウォーク】モンスターGPの調整がヤバすぎる
すらりんch - ドラクエウォークまとめ速報
【ドラクエウォーク】モンスターGPの調整がヤバすぎる
すらりんch - ドラクエウォークまとめ速報
【話題】鬼頭明里、キャミソール&ショーパンで美脚を披露「めっちゃかわいい」
ぐら速 -声優まとめ速報-
【話題】鬼頭明里、キャミソール&ショーパンで美脚を披露「めっちゃかわいい」
ぐら速 -声優まとめ速報-
【衝撃速報】「MOTHER4」発表キタ━━━⎛´・ω・`⎞━━━ッ!!
えび通
【衝撃速報】「MOTHER4」発表キタ━━━⎛´・ω・`⎞━━━ッ!!
えび通
【プロスピA】熱闘スタジアムはボーナス付き契約書の配布が少ないんだよね…
パワ速@プロスピA攻略まとめ
【プロスピA】熱闘スタジアムはボーナス付き契約書の配布が少ないんだよね…
パワ速@プロスピA攻略まとめ
【艦これ】十月作戦のランカー褒賞が発表! 新装備「四式重爆 飛龍+イ号一型甲 誘導弾」などが配布!
あ艦これ ~艦隊これくしょんまとめブログ~
あ艦これ ~艦隊これくしょんまとめブログ~
【衝撃画像】パペットマペットの最新画像
オタクニュース
オタクニュース
ピカブイは次回作に響く!剣盾は次回作に響く!←響きましたか?
爆NEWゲーム速報
ピカブイは次回作に響く!剣盾は次回作に響く!←響きましたか?
爆NEWゲーム速報
【悲報】声優の上坂すみれさん、完全に抜かせにくる・・・
おたくみくす 声優まとめ
【悲報】声優の上坂すみれさん、完全に抜かせにくる・・・
おたくみくす 声優まとめ
鳳翔「春は馬車に乗って」[艦これ]
SS古今東西
鳳翔「春は馬車に乗って」[艦これ]
SS古今東西
【パワプロアプリ】佐渡妹のおもらし見るに芸術流しが虹になるんやろな
矢部速報 | スマホアプリ版パワプロ攻略まとめブログ
【パワプロアプリ】佐渡妹のおもらし見るに芸術流しが虹になるんやろな
矢部速報 | スマホアプリ版パワプロ攻略まとめブログ
【悲報】女さん「夫への秘密?息子に○○○の名前付けたw」
オタク.com
【悲報】女さん「夫への秘密?息子に○○○の名前付けたw」
オタク.com
アニメや漫画で「タイトル回収」というどんな作品でも絶対に盛り上がる瞬間www
あぁ^~こころがぴょんぴょんするんじゃぁ^~
アニメや漫画で「タイトル回収」というどんな作品でも絶対に盛り上がる瞬間www
あぁ^~こころがぴょんぴょんするんじゃぁ^~
【FEH】妖精の中でもスカビオサって空気すぎるよな
ルフレch. - FEH攻略まとめ速報
【FEH】妖精の中でもスカビオサって空気すぎるよな
ルフレch. - FEH攻略まとめ速報
【FGO】お国ちゃん&斬ザブローのコスプレをした玉藻ちゃん&金時!! お国ちゃん衣装の玉藻ちゃん可愛いぞ!
FGOまとめ カルデア速報
【FGO】お国ちゃん&斬ザブローのコスプレをした玉藻ちゃん&金時!! お国ちゃん衣装の玉藻ちゃん可愛いぞ!
FGOまとめ カルデア速報
【モンハンライズ】ハンマー「へー立体的な戦闘ができるのか、インパクトクレーターで敵の攻撃避けて殴ったろ」
モンハンまとめ速報【モンハンライズ攻略】
【モンハンライズ】ハンマー「へー立体的な戦闘ができるのか、インパクトクレーターで敵の攻撃避けて殴ったろ」
モンハンまとめ速報【モンハンライズ攻略】
ゲーム開発者さん「カネ巻き上げてるんだから頑張ってくださいよ…。Switchのフォルダ早くなんとかしろや」
Y速報
ゲーム開発者さん「カネ巻き上げてるんだから頑張ってくださいよ…。Switchのフォルダ早くなんとかしろや」
Y速報
大正時代の若者言葉がこれ→今の若者とそんなに変わらないんだけどwwwww
オレ的ゲーム速報@刃
大正時代の若者言葉がこれ→今の若者とそんなに変わらないんだけどwwwww
オレ的ゲーム速報@刃
【疑問】10年後くらいのゲームでは平成なんたらってイベントやるのだろうか?
FGO攻略まとめ隊
FGO攻略まとめ隊
【朗報】FH5拡張第一弾は日本に決定wwwwwwwwwwwww
最新ゲーム速報!がんばれXboxヾ(。゜▽゜).
【朗報】FH5拡張第一弾は日本に決定wwwwwwwwwwwww
最新ゲーム速報!がんばれXboxヾ(。゜▽゜).
【デレマス】姉ってなんでオーディション通ったんや?
本田未央ちゃん応援まとめ速報
【デレマス】姉ってなんでオーディション通ったんや?
本田未央ちゃん応援まとめ速報
【APEX】赤アーマーに進化させた途端、目の前に青アーマー投げられた
爆NEWゲーム速報
【APEX】赤アーマーに進化させた途端、目の前に青アーマー投げられた
爆NEWゲーム速報
クレヨンしんちゃんって下ネタはめっちゃ多かったけどLGBT関連だけは決してネタにしてへんかったよな
カンダタ速報
クレヨンしんちゃんって下ネタはめっちゃ多かったけどLGBT関連だけは決してネタにしてへんかったよな
カンダタ速報
【パズドラ】チャンピオンコラボ復刻!ジョンバーツのサブ4倍エンハって結構強くない?
パズ速 -パズドラ情報まとめ-
【パズドラ】チャンピオンコラボ復刻!ジョンバーツのサブ4倍エンハって結構強くない?
パズ速 -パズドラ情報まとめ-
今週の「破壊神マグちゃん」感想、聖騎士団本部に乗り込む練たち!ウネさん製新武器とか嫌な予感しかしねえw【69話】
ジャンプまとめ速報
ジャンプまとめ速報
【驚愕】なんでみんな全キャラ育ってるんだ!?wwwwwwww
ロマサガRS攻略まとめ隊
【驚愕】なんでみんな全キャラ育ってるんだ!?wwwwwwww
ロマサガRS攻略まとめ隊
【グラブル】クリスマスアンスリアに対する反応 土キャラに水変転・水ダメ軽減やディスガ・弱体耐性100%付与、自身と主人公に4Tの2回行動付与など強バフてんこ盛りな性能に!
グラブルまとめ!いすたるしあ通信
【グラブル】クリスマスアンスリアに対する反応 土キャラに水変転・水ダメ軽減やディスガ・弱体耐性100%付与、自身と主人公に4Tの2回行動付与など強バフてんこ盛りな性能に!
グラブルまとめ!いすたるしあ通信
女子高生がドブネズミみて「可愛い〜!」って言ってたんだが
エレファント速報:SSまとめブログ
女子高生がドブネズミみて「可愛い〜!」って言ってたんだが
エレファント速報:SSまとめブログ
【驚愕】ハト要素はないw邪神ちゃん専用スキン『ハト男爵』キタ━━━━(゚∀゚)━━━━!!
ドールズフロントライン 攻略まとめ隊
ドールズフロントライン 攻略まとめ隊
【ソフト情報】飯島多紀哉氏が手掛けるホラーADV『アパシー 鳴神学園七不思議』が2022年夏発売!
NS-NEWS ニンテンドースイッチまとめ速報
【ソフト情報】飯島多紀哉氏が手掛けるホラーADV『アパシー 鳴神学園七不思議』が2022年夏発売!
NS-NEWS ニンテンドースイッチまとめ速報
【闇】漫画で「えっ、これ作者病んでない…?」って思ったシーンといえば??
超・ジャンプまとめ速報
【闇】漫画で「えっ、これ作者病んでない…?」って思ったシーンといえば??
超・ジャンプまとめ速報
【要望】超ベジットのマルチくれないかなwwwwwwwwww
ドラゴンボールレジェンズ攻略まとめ隊
【要望】超ベジットのマルチくれないかなwwwwwwwwww
ドラゴンボールレジェンズ攻略まとめ隊
【悲報】はじめしゃちょー、マナー違反のサウナ客にガチギレし賛否両論の声
あぁ^~こころがぴょんぴょんするんじゃぁ^~
【悲報】はじめしゃちょー、マナー違反のサウナ客にガチギレし賛否両論の声
あぁ^~こころがぴょんぴょんするんじゃぁ^~
スーパーサイヤ人の正当進化ってなんか2や3ではないって感じするの俺だけか?
アルティメット速報
スーパーサイヤ人の正当進化ってなんか2や3ではないって感じするの俺だけか?
アルティメット速報
【悲報】彼女「凄い!このホテルサウナ付いてるんだ」脳破壊ワイ「…」
わんこーる速報!
【悲報】彼女「凄い!このホテルサウナ付いてるんだ」脳破壊ワイ「…」
わんこーる速報!
【速報】ハンターハンターの全盛期、クロロVSゼノ&シルバあたりに決まった模様www
ちゃん速
【速報】ハンターハンターの全盛期、クロロVSゼノ&シルバあたりに決まった模様www
ちゃん速
【パズドラ】ダイケチョイス2キャラを予想!ポイントは「思い入れ」
オーガch.-パズドラ攻略まとめ速報
【パズドラ】ダイケチョイス2キャラを予想!ポイントは「思い入れ」
オーガch.-パズドラ攻略まとめ速報
非公式続編『MOTHER 4』発表!!
SWITCH速報
非公式続編『MOTHER 4』発表!!
SWITCH速報
【モバマス】未央「みほちーとさっちー」
プロデューサーさんっ!SSですよ、SS!-アイマスSSまとめ
【モバマス】未央「みほちーとさっちー」
プロデューサーさんっ!SSですよ、SS!-アイマスSSまとめ
ドラクエモンスターズが廃れた理由、遂に判明する
げぇ速
げぇ速
【悲報】BBDWサービス終了、一年持たなかった模様・・・
ばびろにあっ!
ばびろにあっ!
【ハチナイ】ハチナイガールをランダムで1人お嫁さんにできるガチャ(闇鍋) 回す?
ハチナイ速報@八月のシンデレラナイン攻略まとめ
ハチナイ速報@八月のシンデレラナイン攻略まとめ
【悲報】ガチでゲーム依存症になりやすいゲームwwwwww
げーあにびより|ゲームやアニメの評価・感想まとめ
【悲報】ガチでゲーム依存症になりやすいゲームwwwwww
げーあにびより|ゲームやアニメの評価・感想まとめ
【評価】あのプレイヤーが選ぶオンラインキャラランキングがこちらwwwww
スマブラ攻略まとめ隊
スマブラ攻略まとめ隊
【画像】ジャンプ編集長「これでいいだろ。」読者「これはダメだろ。」→結果
アニゲー速報
【画像】ジャンプ編集長「これでいいだろ。」読者「これはダメだろ。」→結果
アニゲー速報
【FF14】運営「6.0で自動ログアウト処理を強化します」←これってもしかして・・・
FF14速報
【FF14】運営「6.0で自動ログアウト処理を強化します」←これってもしかして・・・
FF14速報
【悲報】ガチの富裕層さん、歴代彼女全員に億単位の借金があるという理由で振られる 生活の借金とは全然意味が違うのにね
オタクニュース
オタクニュース
【悲報】大手VTuber事務所にじさんじ運営『ユメノグラフィア』がサービス終了で50人がクビになりブチギレwwwwww
たろそくWP
【悲報】大手VTuber事務所にじさんじ運営『ユメノグラフィア』がサービス終了で50人がクビになりブチギレwwwwww
たろそくWP
【画像】「ワンピース」のスピンオフ漫画、画力が凄すぎるwwwww
最強ジャンプ放送局
【画像】「ワンピース」のスピンオフ漫画、画力が凄すぎるwwwww
最強ジャンプ放送局
【ポケモンBDSP】現状バグで盛り上がってるけど、正攻法だけで普通に厳選とかしている人いる?
ポケモンまとめマスター
【ポケモンBDSP】現状バグで盛り上がってるけど、正攻法だけで普通に厳選とかしている人いる?
ポケモンまとめマスター
【サクセス】甲子園でギミック使えないエジプト高校ってやっぱクソだわ【パワプロアプリ】
パワプロスマホアプリまとめ
パワプロスマホアプリまとめ
るろうに剣心の十本刀とかいう曲芸集団wwwwwwwwwww
超マンガ速報
るろうに剣心の十本刀とかいう曲芸集団wwwwwwwwwww
超マンガ速報
TGA司会者さん「2年半前から開発者と取り組んできた驚愕のゲームの初公開PVを発表する」
PS4速報!
TGA司会者さん「2年半前から開発者と取り組んできた驚愕のゲームの初公開PVを発表する」
PS4速報!
【艦これ】みんなは昭南ちゃん出たの?出てないの俺だけ?
あ艦これ ~艦隊これくしょんまとめブログ~
あ艦これ ~艦隊これくしょんまとめブログ~
【驚愕】自動周回反対派なんて居たの?wwwwwwwwwwww
ロマサガRS攻略まとめ隊
【驚愕】自動周回反対派なんて居たの?wwwwwwwwwwww
ロマサガRS攻略まとめ隊
『ポケモン ダイパリメイク』交換レートが崩壊してミノムッチ>ビッパ>その他にwwwwwww
おしキャラっ
『ポケモン ダイパリメイク』交換レートが崩壊してミノムッチ>ビッパ>その他にwwwwwww
おしキャラっ
【ポケモンGO】民放で放送事故wアナ「レジアイス捕まえましたよ!」アナ「僕はクレセ98%捕まえましたが?」【めざましGO】」
徒歩のポケモンまとめブログ
【ポケモンGO】民放で放送事故wアナ「レジアイス捕まえましたよ!」アナ「僕はクレセ98%捕まえましたが?」【めざましGO】」
徒歩のポケモンまとめブログ
【スクスタ】かすみ「にっしっし……これで節約できますねぇ」
ポチッとSS!! SSまとめ
ポチッとSS!! SSまとめ
【VG】Switch『749,671台』PS5『408,165台』XBSeries『326,410台』
mutyunのゲーム+αブログ
【VG】Switch『749,671台』PS5『408,165台』XBSeries『326,410台』
mutyunのゲーム+αブログ
【画像】ジャンプ編集長「これでいいだろ」 読者「これはダメだろ」→結果
ああ言えばForYou
【画像】ジャンプ編集長「これでいいだろ」 読者「これはダメだろ」→結果
ああ言えばForYou
【DQウォーク】個人的には収集と育成が運特化すぎるのを改善してくれれば楽しいと思うよ
ドラゴンクエストウォークまとめ速報
【DQウォーク】個人的には収集と育成が運特化すぎるのを改善してくれれば楽しいと思うよ
ドラゴンクエストウォークまとめ速報
妹「お、お兄ちゃん・・・」不良兄「・・・クソが」
SSまにあっくす!
妹「お、お兄ちゃん・・・」不良兄「・・・クソが」
SSまにあっくす!
ダイパリメイク、交換レートが崩壊 ミノムッチ>>>>ビッパ>>その他に
ゲーム感想・評価まとめ@2ch
ダイパリメイク、交換レートが崩壊 ミノムッチ>>>>ビッパ>>その他に
ゲーム感想・評価まとめ@2ch
【ウマ娘】識者「サイゲの年末年始はヤバいぞ!」
ウマ娘まとめ超速報!
【ウマ娘】識者「サイゲの年末年始はヤバいぞ!」
ウマ娘まとめ超速報!
★【ワートリ】そこまで便利なSEならランク戦もっと上位にいそうだが
ワールドトリガーまとめ
★【ワートリ】そこまで便利なSEならランク戦もっと上位にいそうだが
ワールドトリガーまとめ
ガンダム三大やべー女って誰?
GUNDAM.LOG|ガンダムまとめブログ
ガンダム三大やべー女って誰?
GUNDAM.LOG|ガンダムまとめブログ
「すべてのネコは少なからず何らかの"サイコパス"的傾向を持っている」ことが最新の研究で判明する
オレ的ゲーム速報@刃
「すべてのネコは少なからず何らかの"サイコパス"的傾向を持っている」ことが最新の研究で判明する
オレ的ゲーム速報@刃
【疑問】今年のクリスマスはあるんだろうかwwww←わかるw
FGO攻略まとめ隊
FGO攻略まとめ隊
【Fate/GO】ぐだ守らずに一人で法螺貝吹きながら機械ぶっ壊すシールダーがいるらしい 後輩…大きくなったなあ…
Fate/Grand Order攻略情報まとめ
【Fate/GO】ぐだ守らずに一人で法螺貝吹きながら機械ぶっ壊すシールダーがいるらしい  後輩…大きくなったなあ…
Fate/Grand Order攻略情報まとめ
【FGO】フォウ君着ぐるみを着たマシュ!! 冬毛マシュも可愛いぞ!
FGOまとめ カルデア速報
【FGO】フォウ君着ぐるみを着たマシュ!! 冬毛マシュも可愛いぞ!
FGOまとめ カルデア速報
FF8はカードゲームだけは面白い←これを信じてプレイした結果wwwww
FF15速報
FF8はカードゲームだけは面白い←これを信じてプレイした結果wwwww
FF15速報
棟方愛海「こんなに苦しいなら…胸などいらんっっ!!」
SS 森きのこ!
SS 森きのこ!
ネパール、バングラデシュ留学生69人が女子中学生に性的暴行。100回以上呼びだし
オタク.com
ネパール、バングラデシュ留学生69人が女子中学生に性的暴行。100回以上呼びだし
オタク.com
【艦これ】演習のお相手、よほどスキャンプがクリーンヒットしたと見える・・・
艦これ速報 艦隊これくしょんまとめ
【艦これ】演習のお相手、よほどスキャンプがクリーンヒットしたと見える・・・
艦これ速報 艦隊これくしょんまとめ
【デレステ】「キセキの証」さん、なんJ民に評価される
本田未央ちゃん応援まとめ速報
【デレステ】「キセキの証」さん、なんJ民に評価される
本田未央ちゃん応援まとめ速報
彡(●)(●)「なんですか、うわっ!」リツコ「肺がLCLで満たされれば直接血液に酸素を取り込んd…」
ロボアニ速報
彡(●)(●)「なんですか、うわっ!」リツコ「肺がLCLで満たされれば直接血液に酸素を取り込んd…」
ロボアニ速報
【超画像】「これでいいだろ。」読者「これはダメだろ。」→結果・・・・・・・・・
JUMP(ジャンプ)速報
【超画像】「これでいいだろ。」読者「これはダメだろ。」→結果・・・・・・・・・
JUMP(ジャンプ)速報
【悲報】ドンキーコング2で一番クソなステージ、「幽霊の骸骨から逃げるステージ」に決定する
爆NEWゲーム速報
【悲報】ドンキーコング2で一番クソなステージ、「幽霊の骸骨から逃げるステージ」に決定する
爆NEWゲーム速報
【画像】キン肉マンの各キャラクターをイメージした香水が発売される
コミック速報
【画像】キン肉マンの各キャラクターをイメージした香水が発売される
コミック速報
スーパーファミコン世代の奴集まれwww
ゆるゲーマー遅報
スーパーファミコン世代の奴集まれwww
ゆるゲーマー遅報
【MHRise】モンハンでメイン武器が決まらないんだがどうすればええの?
モンスターハンターライズまとめ速報
【MHRise】モンハンでメイン武器が決まらないんだがどうすればええの?
モンスターハンターライズまとめ速報
【朗報】日本のeスポーツチーム、世界大会で優勝してとんでもない額の賞金を獲得wwwwwww
カンダタ速報
【朗報】日本のeスポーツチーム、世界大会で優勝してとんでもない額の賞金を獲得wwwwwww
カンダタ速報
ジョジョの「そのスタンドで負けるのか…」っていう敵www
まんがとあにめ
ジョジョの「そのスタンドで負けるのか…」っていう敵www
まんがとあにめ
【朗報】Switchユーザーだけど、最近Xboxにめっちゃ興味出てきた
最新ゲーム速報!がんばれXboxヾ(。゜▽゜).
【朗報】Switchユーザーだけど、最近Xboxにめっちゃ興味出てきた
最新ゲーム速報!がんばれXboxヾ(。゜▽゜).
【FGO】自前でサポート揃ってても絆枠確保したいからフレンド借りちゃうよね←コインが関わってくるから重要になったからな【FateGO】
Fate-Grand Order攻略速報 | FGO攻略・まとめ
【FGO】自前でサポート揃ってても絆枠確保したいからフレンド借りちゃうよね←コインが関わってくるから重要になったからな【FateGO】
Fate-Grand Order攻略速報 | FGO攻略・まとめ
ラブライブ!で出して欲しいゲームのジャンル
ラブライブ!まとめちゃんねる!!
ラブライブ!で出して欲しいゲームのジャンル
ラブライブ!まとめちゃんねる!!
上司俺「それ俺にもシャアしといて」部下「?」上司「s・h・a・r!!!」部下「!!?」俺「シャア!!!!!」
新5chまとめ速報-ネオ速-
上司俺「それ俺にもシャアしといて」部下「?」上司「s・h・a・r!!!」部下「!!?」俺「シャア!!!!!」
新5chまとめ速報-ネオ速-
【ミリシタ】似ている…そっくりだ…
それからの出来事() アイマスまとめ
【ミリシタ】似ている…そっくりだ…
それからの出来事() アイマスまとめ
【雑談】日本一ソフトウェアに対する率直な感想
ニンテンドースイッチ速報
【雑談】日本一ソフトウェアに対する率直な感想
ニンテンドースイッチ速報
【モンスト】※フラグ(゚∀゚)キタコレ!!??※「あのコラボキャラにしか見えんwww」獣神化「ハリケーン」キタ━━━━(゚∀゚)━━━━!!
モンスト速報 モンスターストライクまとめ
【モンスト】※フラグ(゚∀゚)キタコレ!!??※「あのコラボキャラにしか見えんwww」獣神化「ハリケーン」キタ━━━━(゚∀゚)━━━━!!
モンスト速報 モンスターストライクまとめ
『けものフレンズ3』に「ホッキョクオオカミ」(CV:鹿野優以)が登場 イベント「吹雪だ!事件だ?雪山サバイバル!?」が開催
けもちゃん
『けものフレンズ3』に「ホッキョクオオカミ」(CV:鹿野優以)が登場 イベント「吹雪だ!事件だ?雪山サバイバル!?」が開催
けもちゃん
【疑問】ハチミツを採っても回復薬グレートにならない時があるけど、なにか条件があるの?
モンハンワールド攻略まとめ隊
モンハンワールド攻略まとめ隊
BFV信者「Vはガンプレイは良い」←これなんなの?
BF5速報 -バトルフィールドVまとめ
BFV信者「Vはガンプレイは良い」←これなんなの?
BF5速報 -バトルフィールドVまとめ
【朗報】『無職転生』アニメ化効果で原作など関連本が売れまくり、ついにシリーズ累計950万部突破!! 3か月で100万部伸ばす
やらおん!
【朗報】『無職転生』アニメ化効果で原作など関連本が売れまくり、ついにシリーズ累計950万部突破!! 3か月で100万部伸ばす
やらおん!
【驚愕】少ない!?今月の石の配布量がこちらwwwwwwww
スパロボDD攻略まとめ GAMER STAND
スパロボDD攻略まとめ GAMER STAND
【朗報】ダイパリメイク、ついに限界を越える。ポケモン合体バグが確立し色違いが作り放題にwwww
えび通
【朗報】ダイパリメイク、ついに限界を越える。ポケモン合体バグが確立し色違いが作り放題にwwww
えび通
ワイのおかん、テトリスの悲鳴を聞きたがるwwwwwww
スマブラ屋さん | スマブラSPまとめ攻略
ワイのおかん、テトリスの悲鳴を聞きたがるwwwwwww
スマブラ屋さん | スマブラSPまとめ攻略
有名人気プリコネ絵師さん、ブルアカの絵をお描きになられるwwww
デジタルニューススレッド
デジタルニューススレッド
【ポケモンダイヤパール】ミノムッチさん、最重要ポケモンになる
爆NEWゲーム速報
【ポケモンダイヤパール】ミノムッチさん、最重要ポケモンになる
爆NEWゲーム速報
【悲報】人気YouTuber、マナー違反のサウナ客に「人間のクズ」とブチギレてしまう…
わんこーる速報!
【悲報】人気YouTuber、マナー違反のサウナ客に「人間のクズ」とブチギレてしまう…
わんこーる速報!
松浦果南さん、幼馴染の家に行く時でも事前の連絡を怠らない【ラブライブ!サンシャイン】
ラブライブ! 曜ちゃんのヨーソロー!速報
松浦果南さん、幼馴染の家に行く時でも事前の連絡を怠らない【ラブライブ!サンシャイン】
ラブライブ! 曜ちゃんのヨーソロー!速報
「真・女神転生」シリーズの最高傑作が『3』という風潮wwwww
ゲーハー黙示録
「真・女神転生」シリーズの最高傑作が『3』という風潮wwwww
ゲーハー黙示録
【超悲報】「煽ってるわけじゃないのに」「ヤバいなほんと」ガチストライカーさん、どうしようもない状態にwwwww【モンスト】
モンスト!まとめーじぇんと。
【超悲報】「煽ってるわけじゃないのに」「ヤバいなほんと」ガチストライカーさん、どうしようもない状態にwwwww【モンスト】
モンスト!まとめーじぇんと。
【キャラ】ミューは保証まってから引いた方がよさげ?
ランモバ攻略まとめGS
【キャラ】ミューは保証まってから引いた方がよさげ?
ランモバ攻略まとめGS
【艦これ】新装備の「四式重爆 飛龍+イ号一型甲 誘導弾」は爆装+20か!対陸装備だけあって爆装高いな
艦これ速報 艦隊これくしょんまとめ
【艦これ】新装備の「四式重爆 飛龍+イ号一型甲 誘導弾」は爆装+20か!対陸装備だけあって爆装高いな
艦これ速報 艦隊これくしょんまとめ
【時代】ドコモ「iモード」公式サイト終了!若者「iモードってなに?」
オタクニュース
オタクニュース
【画像】日本のゲーム市場さん、完全にSwitch1強時代になってしまう
アニゲー速報
【画像】日本のゲーム市場さん、完全にSwitch1強時代になってしまう
アニゲー速報
PS5デジタル・エディションは何故受け入れられなかった?
爆NEWゲーム速報
PS5デジタル・エディションは何故受け入れられなかった?
爆NEWゲーム速報
【トロピカル~ジュ!プリキュア】ポニテテニスウェアあすか先輩かわいい!!【トロプリ】
プリキュアのまとめ
【トロピカル~ジュ!プリキュア】ポニテテニスウェアあすか先輩かわいい!!【トロプリ】
プリキュアのまとめ
【画像】エモすぎ…この3周年記念イラストが話題にwwwwwwwww
ロマサガRS攻略まとめ隊
【画像】エモすぎ…この3周年記念イラストが話題にwwwwwwwww
ロマサガRS攻略まとめ隊
【ジャンプ52号】ワンピース 第1033話 霜月コウ三郎
ジャンプ速報
【ジャンプ52号】ワンピース 第1033話 霜月コウ三郎
ジャンプ速報
【画像】超大物プリコネ絵師さん、ブルアカにNTRされる
本田未央ちゃん応援まとめ速報
【画像】超大物プリコネ絵師さん、ブルアカにNTRされる
本田未央ちゃん応援まとめ速報
【ダイパリメイク】ダメタマゴさん、回復もできる道具も持てるしレベルアップもする
Y速報
【ダイパリメイク】ダメタマゴさん、回復もできる道具も持てるしレベルアップもする
Y速報
父親「俺は他と比べ物にならんほどワルだったんだぞ~」→昔のやんちゃ自慢か・・・と思いきや、ガチでやばすぎる告白をされてしまう
オレ的ゲーム速報@刃
父親「俺は他と比べ物にならんほどワルだったんだぞ~」→昔のやんちゃ自慢か・・・と思いきや、ガチでやばすぎる告白をされてしまう
オレ的ゲーム速報@刃
【画像】ジャンプ「新連載はこれでいいだろ」読者「うーんこの」→結果
あぁ^~こころがぴょんぴょんするんじゃぁ^~
【画像】ジャンプ「新連載はこれでいいだろ」読者「うーんこの」→結果
あぁ^~こころがぴょんぴょんするんじゃぁ^~
映画「宇宙戦艦ヤマト2205 新たなる旅立ち 後章 -STASHA-」の40秒特報映像公開!デスラー様かっこいい!
オタク.com
映画「宇宙戦艦ヤマト2205 新たなる旅立ち 後章 -STASHA-」の40秒特報映像公開!デスラー様かっこいい!
オタク.com
【FGO】こぱかさんのオレンジニーソなツインテールアビーちゃん!! ツインテールなアビーちゃん可愛すぎる^~
FGOまとめ カルデア速報
【FGO】こぱかさんのオレンジニーソなツインテールアビーちゃん!! ツインテールなアビーちゃん可愛すぎる^~
FGOまとめ カルデア速報
「主人公じゃない」「主人公より有名」←こういうキャラっておる?
もゆげん-萌癒元-
「主人公じゃない」「主人公より有名」←こういうキャラっておる?
もゆげん-萌癒元-
逆にswitchがマイニング業者に転売されてる可能性はないの?
最新ゲーム速報!がんばれXboxヾ(。゜▽゜).
逆にswitchがマイニング業者に転売されてる可能性はないの?
最新ゲーム速報!がんばれXboxヾ(。゜▽゜).
【ポケモンGO】こういう人にシール転売教えてあげるべき
ポケモンGO攻略まとめ速報!!
【ポケモンGO】こういう人にシール転売教えてあげるべき
ポケモンGO攻略まとめ速報!!
3大やってる奴見たことないスマホゲーム「マフィアが下剋上するやつ」「ピンを抜くやつ」
爆NEWゲーム速報
3大やってる奴見たことないスマホゲーム「マフィアが下剋上するやつ」「ピンを抜くやつ」
爆NEWゲーム速報
なんJ民「ペルソナ4と3は5より面白い」ぼく「本当か?」
ネトゲ攻略速報
なんJ民「ペルソナ4と3は5より面白い」ぼく「本当か?」
ネトゲ攻略速報
【艦これ】ランカー褒賞配布! 新装備:[試作誘導弾搭載機] 四式重爆 飛龍+イ号一型甲 誘導弾
かんむす!-艦隊これくしょんまとめブログ-
【艦これ】ランカー褒賞配布! 新装備:[試作誘導弾搭載機] 四式重爆 飛龍+イ号一型甲 誘導弾
かんむす!-艦隊これくしょんまとめブログ-
ワイ「異世界転生もの書くか...転生は適当でええか」
エレファント速報:SSまとめブログ
エレファント速報:SSまとめブログ
【悲報】なろう主人公「異世界で現代知識や異能で無双!」 お前ら「主人公に都合よすぎてつまらん」←これ
アニはつ -アニメ発信場-
【悲報】なろう主人公「異世界で現代知識や異能で無双!」 お前ら「主人公に都合よすぎてつまらん」←これ
アニはつ -アニメ発信場-
アサシンクリード(世界観:A 知名度A トレーラー:S 制作会社:F)
PS5速報
PS5速報
ドラゴンボールって女キャラ劣化させるの上手いよな
アルティメット速報
ドラゴンボールって女キャラ劣化させるの上手いよな
アルティメット速報
ことり「ねぇねぇ、次の衣装は局部を見えるようにしたらいいんじゃないかな」
SS古今東西
ことり「ねぇねぇ、次の衣装は局部を見えるようにしたらいいんじゃないかな」
SS古今東西
【朗報】ランジュちゃん、わりかし人気ある【ラブライブ!虹ヶ咲】
ラブライブ!まとめちゃんねる!!
【朗報】ランジュちゃん、わりかし人気ある【ラブライブ!虹ヶ咲】
ラブライブ!まとめちゃんねる!!
【議論】このキャラは空Nが強化されればもうちょいマシになる気がするんだけどなぁ
スマブラ攻略まとめ隊
スマブラ攻略まとめ隊
【LOL】RioterのAmarett0さん、なんでたぬき忍者だけに警告を入れたんですか?お仲間のEviさん・カツさんには何も言わないのに
よーどる速報-LoL5chまとめ
【LOL】RioterのAmarett0さん、なんでたぬき忍者だけに警告を入れたんですか?お仲間のEviさん・カツさんには何も言わないのに
よーどる速報-LoL5chまとめ
【朗報】漫画やゲームでの『タイトル回収』というどんな作品でも絶対に盛り上がる瞬間wwww
わんこーる速報!
【朗報】漫画やゲームでの『タイトル回収』というどんな作品でも絶対に盛り上がる瞬間wwww
わんこーる速報!
【疑問】「コードギアス」って有名なのに名言そんなに無い説www
ちゃん速
【疑問】「コードギアス」って有名なのに名言そんなに無い説www
ちゃん速
今週の「SAKAMOTO DAYS」感想、坂本vsアパートついに決着!ORDER篁さんがかっこよすぎる!!【49話】
ジャンプまとめ速報
ジャンプまとめ速報
【FGO・画像あり】『ぐだぐだ龍馬危機一髪!』3臨のお竜さんが完全にアレwwwwww←尊い…
Fate/GO攻略ガイドブック
【FGO・画像あり】『ぐだぐだ龍馬危機一髪!』3臨のお竜さんが完全にアレwwwwww←尊い…
Fate/GO攻略ガイドブック
【朗報】ジャンプの『ブラッククローバー』画力だけならベルセルクを超えていたwwwwww
色々まとめ速報
【朗報】ジャンプの『ブラッククローバー』画力だけならベルセルクを超えていたwwwwww
色々まとめ速報
ゲームが下手過ぎて辛い
終わらないコンテンツ速報
ゲームが下手過ぎて辛い
終わらないコンテンツ速報
ワンピース・ゾロのセリフで「親友が くいな か ルフィ か サンジか」で大論争が発生してしまう
やらおん!
ワンピース・ゾロのセリフで「親友が くいな か ルフィ か サンジか」で大論争が発生してしまう
やらおん!
【期待】うおおおおお!あのコラボ復刻クル━━━━(゚∀゚)━━━━!!??
FFBE幻影戦争 攻略まとめGS
【期待】うおおおおお!あのコラボ復刻クル━━━━(゚∀゚)━━━━!!??
FFBE幻影戦争 攻略まとめGS
VTuber視聴者「推しのプレイにアドバイスしたいけど指示厨って思われたくないなぁ…せや!」
あぁ^~こころがぴょんぴょんするんじゃぁ^~
VTuber視聴者「推しのプレイにアドバイスしたいけど指示厨って思われたくないなぁ…せや!」
あぁ^~こころがぴょんぴょんするんじゃぁ^~
【朗報】救急車を蹴った鬼束ちひろさんに薬物検査をした結果www
オタクニュース
オタクニュース
【速報】アイマス総合Pさん、炎上回避の方法について語ってしまうww
アニゲー速報
【速報】アイマス総合Pさん、炎上回避の方法について語ってしまうww
アニゲー速報
【速報】シャニマスさん、このタイミングでまさかのアンティーカ生放送決定wwwwww
たろそくWP
【速報】シャニマスさん、このタイミングでまさかのアンティーカ生放送決定wwwwww
たろそくWP
モバP「凛とお菓子作り」
プロデューサーさんっ!SSですよ、SS!-アイマスSSまとめ
モバP「凛とお菓子作り」
プロデューサーさんっ!SSですよ、SS!-アイマスSSまとめ
ペルソナで友達になりたいキャラが「南条くん」「順平」「陽介」くらいしかいない
げぇ速
げぇ速
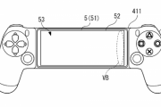
【朗報】ソニー モバイル向けの斬新なコントローラーの特許を申請
えび通
【朗報】ソニー モバイル向けの斬新なコントローラーの特許を申請
えび通
【プロスピA】山本浩二はアーチストでも良かっただろ
パワ速@プロスピA攻略まとめ
【プロスピA】山本浩二はアーチストでも良かっただろ
パワ速@プロスピA攻略まとめ
【議論】覚醒超ベジット強そうwwwwwwwwwww
ドラゴンボールレジェンズ攻略まとめ隊
【議論】覚醒超ベジット強そうwwwwwwwwwww
ドラゴンボールレジェンズ攻略まとめ隊
「ポケモンBDSPのver1.1.1」が将来プレミア付くかも メニューバグが出来る貴重なバージョン
ぽけりん@ポケモンソードシールド(剣盾)まとめ
「ポケモンBDSPのver1.1.1」が将来プレミア付くかも メニューバグが出来る貴重なバージョン
ぽけりん@ポケモンソードシールド(剣盾)まとめ
アニメとか漫画作者を「先生」って呼ぶやつが嫌い
ヲタク速報
アニメとか漫画作者を「先生」って呼ぶやつが嫌い
ヲタク速報
【エジプト高校】この高校は固有キャラ全員揃える必要あるんか?【パワプロアプリ】
パワプロスマホアプリまとめ
パワプロスマホアプリまとめ
「NPCが生活してる」と思える箱庭ゲームを作れるのは、ベセスダとロックスターだけ
ゲームだらだら速報
「NPCが生活してる」と思える箱庭ゲームを作れるのは、ベセスダとロックスターだけ
ゲームだらだら速報
【悲報】非公式『MOTHER 4』が発表される
いま速
いま速
ウマ娘 デザインのクレジットカードが登場!!!
ウマ娘うまだっち速報
ウマ娘 デザインのクレジットカードが登場!!!
ウマ娘うまだっち速報
スパロボではセガの作品は参加しているのに、スクエニ、カプコン、コナミ、他のゲーム作品は参加しないの?
ガンダムまとめ速報
スパロボではセガの作品は参加しているのに、スクエニ、カプコン、コナミ、他のゲーム作品は参加しないの?
ガンダムまとめ速報
FF15とサイバーパンク2077を発売日に定価で買った者やが
PS4速報!
FF15とサイバーパンク2077を発売日に定価で買った者やが
PS4速報!
【グラブル】風SSRランドル登場の反応 ジュワユースを脚に身に着けた姿で遂にSSR昇格し全レアリティをコンプ!
ミニゴブ速報 ~グラブルまとめ~
【グラブル】風SSRランドル登場の反応 ジュワユースを脚に身に着けた姿で遂にSSR昇格し全レアリティをコンプ!
ミニゴブ速報 ~グラブルまとめ~
ガンダムWの主人公、超絶イケメンみたいな雰囲気してるのに身長が低すぎる…
超マンガ速報
ガンダムWの主人公、超絶イケメンみたいな雰囲気してるのに身長が低すぎる…
超マンガ速報
【悲報】衰退するライトノベル業界、2021年で1番売れたラノベがこちらwwwwwwww
コミック速報
【悲報】衰退するライトノベル業界、2021年で1番売れたラノベがこちらwwwwwwww
コミック速報
兄者のネタバレに対する発言はスッキリするな
ゲーム実況者速報
兄者のネタバレに対する発言はスッキリするな
ゲーム実況者速報
もしカイ・シデンがガンダムの主人公だったら
GUNDAM.LOG|ガンダムまとめブログ
もしカイ・シデンがガンダムの主人公だったら
GUNDAM.LOG|ガンダムまとめブログ
【FF14】塔に50分ってマジ!?最近、アラルレのニーアレイドクリアに時間がかかってる件「みんな新式装備なのに…」
馬鳥速報
【FF14】塔に50分ってマジ!?最近、アラルレのニーアレイドクリアに時間がかかってる件「みんな新式装備なのに…」
馬鳥速報
「キン肉マン超人総選挙2021」結果発表!
おしキャラっ
「キン肉マン超人総選挙2021」結果発表!
おしキャラっ
【仮面ライダー龍騎】佐野満とかいう途中で望みが叶ってしまった男
ヒーローNEWS
【仮面ライダー龍騎】佐野満とかいう途中で望みが叶ってしまった男
ヒーローNEWS
【議論】この武器種はマジで終わってるwwwwwwwwww
ロマサガRS攻略まとめ隊
【議論】この武器種はマジで終わってるwwwwwwwwww
ロマサガRS攻略まとめ隊
★【ワートリ】駒の性能もそれぞれ違うからな
ワールドトリガーまとめ
★【ワートリ】駒の性能もそれぞれ違うからな
ワールドトリガーまとめ
【朗報】バイオハザード4リメイクの発売がほぼ確定、ウェスカー役の声優が漏らす
mutyunのゲーム+αブログ
【朗報】バイオハザード4リメイクの発売がほぼ確定、ウェスカー役の声優が漏らす
mutyunのゲーム+αブログ
【デュエルリンクス】「魔導書」緩和で強化くるのかね?
遊戯王デュエルリンクス超速報!
【デュエルリンクス】「魔導書」緩和で強化くるのかね?
遊戯王デュエルリンクス超速報!
サターニャ(最近ガヴリールとヴィネットがいい雰囲気で話しかけづらい……またボッチになってきたような……)
SSまにあっくす!
サターニャ(最近ガヴリールとヴィネットがいい雰囲気で話しかけづらい……またボッチになってきたような……)
SSまにあっくす!
【疑問】これって普通にやってる人と探偵ミッションのクリア数に差出てるのかな?
FGO攻略まとめ隊
FGO攻略まとめ隊
【東方】スカーレット姉妹はまあまあ仲良いから実現しないかもしれないけどもしやりあったらどっちが強いの?
2ch東方スレ観測所
【東方】スカーレット姉妹はまあまあ仲良いから実現しないかもしれないけどもしやりあったらどっちが強いの?
2ch東方スレ観測所
性暴力を受けた女性ジャーナリストに対して「枕営業を仕掛ける」などと中傷をした漫画家・はすみとしこさんに賠償命令。
オタク.com
性暴力を受けた女性ジャーナリストに対して「枕営業を仕掛ける」などと中傷をした漫画家・はすみとしこさんに賠償命令。
オタク.com
ワンピースが最低でもこの後描かなきゃいけない展開
みず速
ワンピースが最低でもこの後描かなきゃいけない展開
みず速
【ポケモンGO】54歳でレジェンド達成者が登場!プレシーズンから戦い続けついに達成!
徒歩のポケモンまとめブログ
【ポケモンGO】54歳でレジェンド達成者が登場!プレシーズンから戦い続けついに達成!
徒歩のポケモンまとめブログ
【Fate/GO】このイベント1日までとして、その後は1~15で復刻クリスマスやって 15~29で今年のクリスマスやって、年末から年明けで例の6章前提イベみたいなハードスケジュールなんだろうかね
Fate/Grand Order攻略情報まとめ
【Fate/GO】このイベント1日までとして、その後は1~15で復刻クリスマスやって 15~29で今年のクリスマスやって、年末から年明けで例の6章前提イベみたいなハードスケジュールなんだろうかね
Fate/Grand Order攻略情報まとめ
【スクスタ】歩夢「むにゃ…」スヤスヤ かすみ「にしし!寝てる歩夢先輩の頭にうさ耳つけて写真撮ってやります!」
ポチッとSS!! SSまとめ
ポチッとSS!! SSまとめ
【FGO】ワダアルコさんのextra勢サーヴァント達!! みんな可愛いなw
FGOまとめ カルデア速報
【FGO】ワダアルコさんのextra勢サーヴァント達!! みんな可愛いなw
FGOまとめ カルデア速報
【デレマス】シャニマス流行語大賞っていうトレンドなんやねん?
本田未央ちゃん応援まとめ速報
【デレマス】シャニマス流行語大賞っていうトレンドなんやねん?
本田未央ちゃん応援まとめ速報
「テスラ缶」を信じる陰謀論者さん、ついにとんでもない領域へ・・・
オレ的ゲーム速報@刃
「テスラ缶」を信じる陰謀論者さん、ついにとんでもない領域へ・・・
オレ的ゲーム速報@刃
「起動が長いゲーム」と聞いて思いついた物www
爆NEWゲーム速報
「起動が長いゲーム」と聞いて思いついた物www
爆NEWゲーム速報
【艦これ】大潮ちゃん 他
あ艦これ ~艦隊これくしょんまとめブログ~
あ艦これ ~艦隊これくしょんまとめブログ~
『RPGツクール』とかいう黒歴史製造機
ゆるゲーマー遅報
『RPGツクール』とかいう黒歴史製造機
ゆるゲーマー遅報
リネット壊れすぎて闘技場周回めっちゃ早くなってる【オクトラ大陸の覇者】
【大陸の覇者】オクトパストラベラー攻略まとめ速報!
リネット壊れすぎて闘技場周回めっちゃ早くなってる【オクトラ大陸の覇者】
【大陸の覇者】オクトパストラベラー攻略まとめ速報!
【FGO】オベロンは強いとは思うけどあんまり使わなくない?←Wコヤンはタップ数増えるからそこは微妙なんだよな【FateGO】
Fate-Grand Order攻略速報 | FGO攻略・まとめ
【FGO】オベロンは強いとは思うけどあんまり使わなくない?←Wコヤンはタップ数増えるからそこは微妙なんだよな【FateGO】
Fate-Grand Order攻略速報 | FGO攻略・まとめ
【ポケ森】島更新したら1回でスピカたちの島が来た【どうぶつの森 まとめ】
どうぶつの森まとめ速報
【ポケ森】島更新したら1回でスピカたちの島が来た【どうぶつの森 まとめ】
どうぶつの森まとめ速報
【FF15】つれぇわ5周年
カンダタ速報
【FF15】つれぇわ5周年
カンダタ速報
ゾロのセリフ「親友」がルフィかサンジの事を言ってるのか大論争が起きてしまう
まんがとあにめ
ゾロのセリフ「親友」がルフィかサンジの事を言ってるのか大論争が起きてしまう
まんがとあにめ
Xbox …2000台 2DS LL …365台、PS4 …188台、PS5 DE …173台 。゚(゚^∀^゚)゚。ギャーハッハッハッハッハッハハッハッハッハッハッハ !!
最新ゲーム速報!がんばれXboxヾ(。゜▽゜).
Xbox …2000台 2DS LL …365台、PS4 …188台、PS5 DE …173台 。゚(゚^∀^゚)゚。ギャーハッハッハッハッハッハハッハッハッハッハッハ !!
最新ゲーム速報!がんばれXboxヾ(。゜▽゜).
【FF14】バディを増やしてほしい!
FF14ひかせん速報
【FF14】バディを増やしてほしい!
FF14ひかせん速報
【アリスベル】居鳳校は武偵校が霞むくらい死ぬ確率高い←これwwww
緋アリ速報
【アリスベル】居鳳校は武偵校が霞むくらい死ぬ確率高い←これwwww
緋アリ速報
【朗報】「アパシー」シリーズで知られる飯島多紀哉氏が手掛けるホラーアドベンチャーゲーム『アパシー 鳴神学園七不思議』が2022年夏に発売決定!!
ニンテンドースイッチ速報
【朗報】「アパシー」シリーズで知られる飯島多紀哉氏が手掛けるホラーアドベンチャーゲーム『アパシー 鳴神学園七不思議』が2022年夏に発売決定!!
ニンテンドースイッチ速報
【ネタバレ注意】アヤシモン 3話「食べたいトコしか食べない主義でね」【ジャンプ52号2ch感想まとめ】
超・ジャンプまとめ速報
【ネタバレ注意】アヤシモン 3話「食べたいトコしか食べない主義でね」【ジャンプ52号2ch感想まとめ】
超・ジャンプまとめ速報
【スパロボ30】個人的にアウェイクンはいくらあってもいいな、奇跡と合わせてレギュラー全員覚醒なしで2回行動させたい
スパロボまとめ速報
【スパロボ30】個人的にアウェイクンはいくらあってもいいな、奇跡と合わせてレギュラー全員覚醒なしで2回行動させたい
スパロボまとめ速報
毒使い(260cm220kg)「敵国の王に毒を盛って参ります」国王「う、うむ」
あやめ速報-SSまとめ-
あやめ速報-SSまとめ-
【エルデンリング】今作の二刀流モーションの凝り具合がわかる動画
ダークソウルまとめ速報
【エルデンリング】今作の二刀流モーションの凝り具合がわかる動画
ダークソウルまとめ速報
【キャラ】クリスマスはぷにサンタがオーロラ探しにいく話でどうだwww
FGO攻略まとめ隊
FGO攻略まとめ隊
【攻略】スマブラ初心者相手に安定しないんだけどwwwwwww
スマブラ攻略まとめ隊
スマブラ攻略まとめ隊
【アークナイツ】中国版 ロビンの新コーデ
アクナイ速報 -アークナイツまとめ-
【アークナイツ】中国版 ロビンの新コーデ
アクナイ速報 -アークナイツまとめ-
【ポケモンダイヤパール】メニューバグが無くなった後の虚無が怖い
爆NEWゲーム速報
【ポケモンダイヤパール】メニューバグが無くなった後の虚無が怖い
爆NEWゲーム速報
【悲報】バチャ豚「推しのプレイに助言したいけど指示厨って思われたくないな…せや!」
わんこーる速報!
【悲報】バチャ豚「推しのプレイに助言したいけど指示厨って思われたくないな…せや!」
わんこーる速報!
【パズドラ】代用不可の超人権「範馬勇次郎」復刻!みんな何体交換する?【チャンピオンコラボ】
オーガch.-パズドラ攻略まとめ速報
【パズドラ】代用不可の超人権「範馬勇次郎」復刻!みんな何体交換する?【チャンピオンコラボ】
オーガch.-パズドラ攻略まとめ速報
【悲報】アイマス(炎上中)の総合Pさん、炎上回避の方法について語ってしまうwww
やらおん!
【悲報】アイマス(炎上中)の総合Pさん、炎上回避の方法について語ってしまうwww
やらおん!
【悲報】なろう事務員ワイ「ファイルに名前を付ければ作業効率は上がるのでは?カタタタタ!!!」←これwwwwww
げーあにびより|ゲームやアニメの評価・感想まとめ
【悲報】なろう事務員ワイ「ファイルに名前を付ければ作業効率は上がるのでは?カタタタタ!!!」←これwwwwww
げーあにびより|ゲームやアニメの評価・感想まとめ
【朗報】PS5さん、遂に成功の兆しが見えてくる
あぁ^~こころがぴょんぴょんするんじゃぁ^~
【朗報】PS5さん、遂に成功の兆しが見えてくる
あぁ^~こころがぴょんぴょんするんじゃぁ^~
【キャラ】ミューはパッと見強いけど陣営がちょっと厳しいから欲しいかといえば、、
ランモバ攻略まとめGS
【キャラ】ミューはパッと見強いけど陣営がちょっと厳しいから欲しいかといえば、、
ランモバ攻略まとめGS
Q.サンタも入国禁止ですか?
オタクニュース
オタクニュース
【速報】国内でオミクロン株が初確認→濃厚接触者71人でヤバい模様……
アニゲー速報
【速報】国内でオミクロン株が初確認→濃厚接触者71人でヤバい模様……
アニゲー速報
ポケモンの映画見たり、ポケモンのぬいぐるみとか買うの?
爆NEWゲーム速報
ポケモンの映画見たり、ポケモンのぬいぐるみとか買うの?
爆NEWゲーム速報
【パワプロアプリ】今んとこ討総産より2ランク3ランクへぼい選手しか作れんのやが
矢部速報 | スマホアプリ版パワプロ攻略まとめブログ
【パワプロアプリ】今んとこ討総産より2ランク3ランクへぼい選手しか作れんのやが
矢部速報 | スマホアプリ版パワプロ攻略まとめブログ
『キングスグレイブ ファイナルファンタジーXV』4Kリマスター版が2022年2月9日に発売決定!
PS4速報!
『キングスグレイブ ファイナルファンタジーXV』4Kリマスター版が2022年2月9日に発売決定!
PS4速報!
【衝撃】上司「とんかつは塩。試しに高級なとんかつを食べてみろ」僕「ほーん」→結果wwww
デジタルニューススレッド
デジタルニューススレッド
【FE】無しルナ初挑戦する予定なんだけどオススメキャラ教えて下さい
ルフレch. - FEH攻略まとめ速報
【FE】無しルナ初挑戦する予定なんだけどオススメキャラ教えて下さい
ルフレch. - FEH攻略まとめ速報
【ウマ娘】マーベラスサンデーが可愛すぎるんだが
ウマ娘まとめ超速報!
【ウマ娘】マーベラスサンデーが可愛すぎるんだが
ウマ娘まとめ超速報!
ニンテンドースイッチの携帯モードを大画面で楽しめる周辺機器が開発中!←総重量がヤバすぎると話題にwwww
オレ的ゲーム速報@刃
ニンテンドースイッチの携帯モードを大画面で楽しめる周辺機器が開発中!←総重量がヤバすぎると話題にwwww
オレ的ゲーム速報@刃
【朗報】Nintendo Switch、米国ブラックフライデーで最も人気な商品のひとつに
Y速報
【朗報】Nintendo Switch、米国ブラックフライデーで最も人気な商品のひとつに
Y速報
アニメ界伝説の声優グループ四天王「放課後ティータイム」「μ's」「SOS団」
ああ言えばForYou
アニメ界伝説の声優グループ四天王「放課後ティータイム」「μ's」「SOS団」
ああ言えばForYou
愛さんがアダ名で呼んでるキャラ一覧ww【ラブライブ!虹ヶ咲】
ラブライブ! 曜ちゃんのヨーソロー!速報
愛さんがアダ名で呼んでるキャラ一覧ww【ラブライブ!虹ヶ咲】
ラブライブ! 曜ちゃんのヨーソロー!速報
ホスト界の帝王・ローランド様、かすみん推しwwwww
オタク.com
ホスト界の帝王・ローランド様、かすみん推しwwwww
オタク.com
【スマブラ】こんな戦績のロイが世界で戦うのマジなの?【SWT】
スマブラSPまとめ速報
【スマブラ】こんな戦績のロイが世界で戦うのマジなの?【SWT】
スマブラSPまとめ速報
【FGO】ェさんのお国ちゃんイラスト!! ドロンするお国ちゃん良いね!
FGOまとめ カルデア速報
【FGO】ェさんのお国ちゃんイラスト!! ドロンするお国ちゃん良いね!
FGOまとめ カルデア速報
P「とうとう我が事務所にもシャワールームが設置されました!」
SS 森きのこ!
SS 森きのこ!
【デレマス】アトレ秋葉原ぷちピンバッジ品切れ状況が話題に
本田未央ちゃん応援まとめ速報
【デレマス】アトレ秋葉原ぷちピンバッジ品切れ状況が話題に
本田未央ちゃん応援まとめ速報
【SS】かすみ「にっしっし……これで節約できますねぇ」【ラブライブ!虹ヶ咲】
ラブライブ!まとめちゃんねる!!
【SS】かすみ「にっしっし……これで節約できますねぇ」【ラブライブ!虹ヶ咲】
ラブライブ!まとめちゃんねる!!
FF10のリメイクが出たら、スクエニの最高傑作になると思う
爆NEWゲーム速報
FF10のリメイクが出たら、スクエニの最高傑作になると思う
爆NEWゲーム速報
【FGO】今にも航海へ乗り出しそうなデオンきゅんが可愛い!【FateGO】
Fate-Grand Order攻略速報 | FGO攻略・まとめ
【FGO】今にも航海へ乗り出しそうなデオンきゅんが可愛い!【FateGO】
Fate-Grand Order攻略速報 | FGO攻略・まとめ
ゲオがPS5を抽選販売!転売対策で通常販売を行わず抽選販売のみを実施
最新ゲーム速報!がんばれXboxヾ(。゜▽゜).
ゲオがPS5を抽選販売!転売対策で通常販売を行わず抽選販売のみを実施
最新ゲーム速報!がんばれXboxヾ(。゜▽゜).
【朗報】ダイパリメイク、マイナーポケモンたちが環境で活躍する神ゲーだった!!
カンダタ速報
【朗報】ダイパリメイク、マイナーポケモンたちが環境で活躍する神ゲーだった!!
カンダタ速報
【議論】このキャラ可愛かったのにイマイチ人気伸びなかったwwwww
ロマサガRS攻略まとめ隊
【議論】このキャラ可愛かったのにイマイチ人気伸びなかったwwwww
ロマサガRS攻略まとめ隊
【ポケモン】サトシ「身体のマオ、性格のマオ、家庭のマオか…」
ネトゲ攻略速報
【ポケモン】サトシ「身体のマオ、性格のマオ、家庭のマオか…」
ネトゲ攻略速報
義務教育「書き順は守りましょう!」ネプリーグ「書き順は問わない」
エレファント速報:SSまとめブログ
エレファント速報:SSまとめブログ
【ガチリーク】PS5 slimが2022年後半に投入の噂が浮上!!
えび通
【ガチリーク】PS5 slimが2022年後半に投入の噂が浮上!!
えび通
【議論】ホムラよりヒカリの方が十倍嫌いなんだが分かるやつおる?
スマブラ攻略まとめ隊
スマブラ攻略まとめ隊
「容姿:S」「ネタ:S」←こういうキャラっておる?
もゆげん-萌癒元-
「容姿:S」「ネタ:S」←こういうキャラっておる?
もゆげん-萌癒元-
【悲報】ジャンプ編集長「これでいいか」読者「こりゃダメだ」→結果wwww
わんこーる速報!
【悲報】ジャンプ編集長「これでいいか」読者「こりゃダメだ」→結果wwww
わんこーる速報!
【朗報】ドラゴンボール見てるけど初期のブルマかわいすぎwww
ちゃん速
【朗報】ドラゴンボール見てるけど初期のブルマかわいすぎwww
ちゃん速
【艦これ】令和三年十月作戦ランカー報酬新装備「四式重爆 飛龍+イ号一型甲 誘導弾」スペックまとめ
艦これ速報 艦隊これくしょんまとめ
【艦これ】令和三年十月作戦ランカー報酬新装備「四式重爆 飛龍+イ号一型甲 誘導弾」スペックまとめ
艦これ速報 艦隊これくしょんまとめ
【朗報】有名人気プリコネ絵師さん、なぜか突然ブルアカの絵をお描きになられるwwww
やらおん!
【朗報】有名人気プリコネ絵師さん、なぜか突然ブルアカの絵をお描きになられるwwww
やらおん!
【ヤバすぎスクショ解禁】「自然に艦隊になってたわ」「すげぇわお前見直した」豪運すぎるユーザー出現!!尊敬のまなざし殺到キタ━━━━ヽ(☆∀☆ )ノ━━━━!!!!【モンスト】
モンスト!まとめーじぇんと。
【ヤバすぎスクショ解禁】「自然に艦隊になってたわ」「すげぇわお前見直した」豪運すぎるユーザー出現!!尊敬のまなざし殺到キタ━━━━ヽ(☆∀☆ )ノ━━━━!!!!【モンスト】
モンスト!まとめーじぇんと。
鷺沢文香「図書館はどこですか」
SS古今東西
SS古今東西
ウマ娘効果絶大?ジャパンカップの売り上げは驚異の215億573万2400円!前年比-57億円!
あぁ^~こころがぴょんぴょんするんじゃぁ^~
ウマ娘効果絶大?ジャパンカップの売り上げは驚異の215億573万2400円!前年比-57億円!
あぁ^~こころがぴょんぴょんするんじゃぁ^~
【悲報】2021年のジャンプで打ち切りになった漫画がこちらwwwwww(画像あり)
色々まとめ速報
【悲報】2021年のジャンプで打ち切りになった漫画がこちらwwwwww(画像あり)
色々まとめ速報
【ウマ娘効果!?】ジャパンCの売り上げは前年比マイナス57億円!ウマ娘なかったらもっと下がってたかもな!
オタクニュース
オタクニュース
【悲報】はじめしゃちょー、サウナでドラクエ大学生にブチ切れ「人間のクズ」
アニゲー速報
【悲報】はじめしゃちょー、サウナでドラクエ大学生にブチ切れ「人間のクズ」
アニゲー速報
【画像】ジャンプ編集長「これでいいだろ」読者「これはダメだろ」→結果wwwwww
たろそくWP
【画像】ジャンプ編集長「これでいいだろ」読者「これはダメだろ」→結果wwwwww
たろそくWP
【朗報】声優・花澤香菜のどハマリキャラ、「椎名まゆり」に決まるw
おたくみくす 声優まとめ
【朗報】声優・花澤香菜のどハマリキャラ、「椎名まゆり」に決まるw
おたくみくす 声優まとめ
【画像】『無職転生』の作中に出てきたロキシーの「あのフィギュア」、発売が決定してしまう
Glauber通信
【画像】『無職転生』の作中に出てきたロキシーの「あのフィギュア」、発売が決定してしまう
Glauber通信
漫画「僕の心のヤバイやつ」85話に対する海外の反応「ナンパイ、お前を許そう」【僕ヤバ】
蠱惑の壺 | 漫画・アニメ海外の反応まとめ
漫画「僕の心のヤバイやつ」85話に対する海外の反応「ナンパイ、お前を許そう」【僕ヤバ】
蠱惑の壺 | 漫画・アニメ海外の反応まとめ
なんJ民「ペルソナ4と3は5より面白い」ワイ「本当か?」
いま速
いま速
【グラブル】土楽器『サイレントナイトリークス』が実装と同時最終、技巧大/治癒小/渾身中で土の技巧大武器としては中々に強力な構成
ミニゴブ速報 ~グラブルまとめ~
【グラブル】土楽器『サイレントナイトリークス』が実装と同時最終、技巧大/治癒小/渾身中で土の技巧大武器としては中々に強力な構成
ミニゴブ速報 ~グラブルまとめ~
【人気投票】投票券もらう為のサクセスは討総セク1退部が一番効率ええよな?【パワプロアプリ】
パワプロスマホアプリまとめ
パワプロスマホアプリまとめ
彡(゚)(゚)「ケンガンオメガの主人公は十鬼蛇王馬と因縁がある?絶対強キャラやん!」
超マンガ速報
彡(゚)(゚)「ケンガンオメガの主人公は十鬼蛇王馬と因縁がある?絶対強キャラやん!」
超マンガ速報
【噂】『バイオショック』最新作の名称「バイオショック・アイソレーション」になるかも?UE5を使用、発表は2022年第1四半期か
PS4速報!
【噂】『バイオショック』最新作の名称「バイオショック・アイソレーション」になるかも?UE5を使用、発表は2022年第1四半期か
PS4速報!
【FGO】オベロンには着地を任せたくないぐだ男!! キャッチするかはオベロンの気分次第か....
FGOまとめ カルデア速報
【FGO】オベロンには着地を任せたくないぐだ男!! キャッチするかはオベロンの気分次第か....
FGOまとめ カルデア速報
神谷英樹がSwitch Onlineの配信タイトルの追加をサボる任天堂を痛烈批判
mutyunのゲーム+αブログ
神谷英樹がSwitch Onlineの配信タイトルの追加をサボる任天堂を痛烈批判
mutyunのゲーム+αブログ
【議論】キャラクターデザインはみんなこの人がしてくれたらいいのにwwww
ロマサガRS攻略まとめ隊
【議論】キャラクターデザインはみんなこの人がしてくれたらいいのにwwww
ロマサガRS攻略まとめ隊
『AI』を育てるゲームって今ひとつ流行らなかったよな
ゆるゲーマー遅報
『AI』を育てるゲームって今ひとつ流行らなかったよな
ゆるゲーマー遅報
【朗報】声優の種田梨沙さん(33)、過去最高レベルに可愛くなってしまうwwwwwww
声豚速報
【朗報】声優の種田梨沙さん(33)、過去最高レベルに可愛くなってしまうwwwwwww
声豚速報
【悲報】ちびまる子ちゃん、原作リメイクが決まるも配慮したチョイスになってしまう
コミック速報
【悲報】ちびまる子ちゃん、原作リメイクが決まるも配慮したチョイスになってしまう
コミック速報
【モンスト】※絶 望※『栄冠の闘技場"セット3"』が急に難しくなってしまうwwwwwwwww
モンスト速報 モンスターストライクまとめ
【モンスト】※絶 望※『栄冠の闘技場"セット3"』が急に難しくなってしまうwwwwwwwww
モンスト速報 モンスターストライクまとめ
【鬼滅の刃】って残酷すぎひん??????????
JUMP(ジャンプ)速報
【鬼滅の刃】って残酷すぎひん??????????
JUMP(ジャンプ)速報
『不思議のダンジョン』シリーズは何で出なくなったの?
おしキャラっ
『不思議のダンジョン』シリーズは何で出なくなったの?
おしキャラっ
★【ワートリ】村中知の敵絶対殺すボイスすこ
ワールドトリガーまとめ
★【ワートリ】村中知の敵絶対殺すボイスすこ
ワールドトリガーまとめ
モバP「プロダクションマッチH&Sフェスティバル?」(最初だけ安価)
ポチッとSS!! SSまとめ
ポチッとSS!! SSまとめ
【Fate/GO】阿国さんが初印象の何十倍もいい女でツラい 今年の残り実装鯖を見極める千里眼が欲しいわ……
Fate/Grand Order攻略情報まとめ
【Fate/GO】阿国さんが初印象の何十倍もいい女でツラい 今年の残り実装鯖を見極める千里眼が欲しいわ……
Fate/Grand Order攻略情報まとめ
【艦これ】今から10日でオール甲クリアできる?
あ艦これ ~艦隊これくしょんまとめブログ~
あ艦これ ~艦隊これくしょんまとめブログ~
杏子「マミの奴元気かな……」
SSまにあっくす!
杏子「マミの奴元気かな……」
SSまにあっくす!
【朗報】聖剣伝説3リメイクさん、うっかり100万本売ってしまう
ゲーム感想・評価まとめ@2ch
【朗報】聖剣伝説3リメイクさん、うっかり100万本売ってしまう
ゲーム感想・評価まとめ@2ch
フランス人「離婚した日本人妻が息子たちに会わせてくれないの!助けて!」→フランス当局「了解。妻に逮捕状出すわ」→日本警察の対応がこちらwwww
オレ的ゲーム速報@刃
フランス人「離婚した日本人妻が息子たちに会わせてくれないの!助けて!」→フランス当局「了解。妻に逮捕状出すわ」→日本警察の対応がこちらwwww
オレ的ゲーム速報@刃
全国の女子中高生が選んだ「JC・JK流行語大賞2021」が発表!!全然わからん…
オタク.com
全国の女子中高生が選んだ「JC・JK流行語大賞2021」が発表!!全然わからん…
オタク.com
【ドッカンバトル】新フェス限URキャラの人造人間17号(未来)&18号(未来)が登場するドッカンフェスがスタート!
アルティメット速報
【ドッカンバトル】新フェス限URキャラの人造人間17号(未来)&18号(未来)が登場するドッカンフェスがスタート!
アルティメット速報
リック・ディアスって結局ガンダムじゃないの?
GUNDAM.LOG|ガンダムまとめブログ
リック・ディアスって結局ガンダムじゃないの?
GUNDAM.LOG|ガンダムまとめブログ
【賛否】試練の塔の☆4縛りについて【オクトラ大陸の覇者】
【大陸の覇者】オクトパストラベラー攻略まとめ速報!
【賛否】試練の塔の☆4縛りについて【オクトラ大陸の覇者】
【大陸の覇者】オクトパストラベラー攻略まとめ速報!
【悲報】このアイテムが足りなくなりつつあるなwwwwwww
FFBE幻影戦争 攻略まとめGS
【悲報】このアイテムが足りなくなりつつあるなwwwwwww
FFBE幻影戦争 攻略まとめGS
Yahoo記事「『アイマス』総合P・坂上氏 長寿コンテンツのキモは、時代に合わせたアイドル育成と炎上理由の究明」が話題に
本田未央ちゃん応援まとめ速報
Yahoo記事「『アイマス』総合P・坂上氏 長寿コンテンツのキモは、時代に合わせたアイドル育成と炎上理由の究明」が話題に
本田未央ちゃん応援まとめ速報
【ポケモンUNITE】最序盤にjgのカニを食べ、蜂1ですぐ死んで味方jgを食い散らかすレーン
徒歩のポケモンまとめブログ
【ポケモンUNITE】最序盤にjgのカニを食べ、蜂1ですぐ死んで味方jgを食い散らかすレーン
徒歩のポケモンまとめブログ
【悲報】TVアニメ『鬼滅の刃 無限列車編』最終話、視聴率6.5%でフィニッシュ
爆NEWゲーム速報
【悲報】TVアニメ『鬼滅の刃 無限列車編』最終話、視聴率6.5%でフィニッシュ
爆NEWゲーム速報
【悲報】ドラクエさん、「モンスターズ」や「ビルダーズ」等の面白い派生作品を作っては放置してしまう
カンダタ速報
【悲報】ドラクエさん、「モンスターズ」や「ビルダーズ」等の面白い派生作品を作っては放置してしまう
カンダタ速報
神谷英樹がSwitch Onlineの配信タイトルの追加をサボる任天堂を痛烈批判
最新ゲーム速報!がんばれXboxヾ(。゜▽゜).
神谷英樹がSwitch Onlineの配信タイトルの追加をサボる任天堂を痛烈批判
最新ゲーム速報!がんばれXboxヾ(。゜▽゜).
ワンピース「ルフィ懸賞金15億ドルやで」ワイ「すんげェえええ!!じゃ、次に高い麦わらの一味は?」
まんがとあにめ
ワンピース「ルフィ懸賞金15億ドルやで」ワイ「すんげェえええ!!じゃ、次に高い麦わらの一味は?」
まんがとあにめ
【FGO】沖田さん衣装のイリヤがカッコ可愛い!礼装実装して【FateGO】
Fate-Grand Order攻略速報 | FGO攻略・まとめ
【FGO】沖田さん衣装のイリヤがカッコ可愛い!礼装実装して【FateGO】
Fate-Grand Order攻略速報 | FGO攻略・まとめ
【パズドラ】今回も既存進化無し?範馬刃牙、勇次郎など一部チャンピオンコラボキャラの上方修正に対する反応まとめ
オーガch.-パズドラ攻略まとめ速報
【パズドラ】今回も既存進化無し?範馬刃牙、勇次郎など一部チャンピオンコラボキャラの上方修正に対する反応まとめ
オーガch.-パズドラ攻略まとめ速報
【艦これ】令和三年十月作戦ランカー報酬発表!新装備は「四式重爆 飛龍+イ号一型甲 誘導弾」!
艦これ速報 艦隊これくしょんまとめ
【艦これ】令和三年十月作戦ランカー報酬発表!新装備は「四式重爆 飛龍+イ号一型甲 誘導弾」!
艦これ速報 艦隊これくしょんまとめ
【パズドラ】「チャンピオンオールスターズコラボ」開催決定!「範馬刃牙」「小野田坂道」などの能力調整実施!
パズ速 -パズドラ情報まとめ-
【パズドラ】「チャンピオンオールスターズコラボ」開催決定!「範馬刃牙」「小野田坂道」などの能力調整実施!
パズ速 -パズドラ情報まとめ-
【パズドラ速報】範馬刃牙、勇次郎、愚地独歩、小野田坂道、巻島裕介ココ、ジョンバーツの上方修正キタ━━━━(゚∀゚)━━━━!!【チャンピオンコラボ】
オーガch.-パズドラ攻略まとめ速報
【パズドラ速報】範馬刃牙、勇次郎、愚地独歩、小野田坂道、巻島裕介ココ、ジョンバーツの上方修正キタ━━━━(゚∀゚)━━━━!!【チャンピオンコラボ】
オーガch.-パズドラ攻略まとめ速報
『ゼルダBotW』ライネルとかいうヤツ、強すぎるんやけど?
SWITCH速報
『ゼルダBotW』ライネルとかいうヤツ、強すぎるんやけど?
SWITCH速報
【TOUGH外伝 龍を継ぐ男 273話感想】ガルシア28号より強い「悪魔王子」、この世に存在していたッ!!
最強ジャンプ放送局
【TOUGH外伝 龍を継ぐ男 273話感想】ガルシア28号より強い「悪魔王子」、この世に存在していたッ!!
最強ジャンプ放送局
【衝撃】ルフィ「仲間が残業してんのに、何でお前ら定時で帰ってんだよ!!」←このシーン
アニはつ -アニメ発信場-
【衝撃】ルフィ「仲間が残業してんのに、何でお前ら定時で帰ってんだよ!!」←このシーン
アニはつ -アニメ発信場-
【画像】ダイパリメイクのポケモン強さランク表がこちらwwwww
スマブラ屋さん | スマブラSPまとめ攻略
【画像】ダイパリメイクのポケモン強さランク表がこちらwwwww
スマブラ屋さん | スマブラSPまとめ攻略
【議論】ソラって相当良キャラだと思うんだけどそう思うよな?
スマブラ攻略まとめ隊
スマブラ攻略まとめ隊
ポケモンBDSP「バグのせいでやる気をなくした」という人が多数いる模様
爆NEWゲーム速報
ポケモンBDSP「バグのせいでやる気をなくした」という人が多数いる模様
爆NEWゲーム速報
もうすぐ原宿ゲーマーズ看板娘総選挙が始まるわけだが・・・【ラブライブ!スーパースター!!】
ラブライブ!まとめちゃんねる!!
もうすぐ原宿ゲーマーズ看板娘総選挙が始まるわけだが・・・【ラブライブ!スーパースター!!】
ラブライブ!まとめちゃんねる!!
【悲報】遭難マンガ『ソウナンですか?』、無人島脱出して日常マンガに成り果てていた…
デジタルニューススレッド
デジタルニューススレッド
【悲報】5ch民、ゾロの言う「親友」がルフィとサンジどっちなのかで大論争を起こしてしまう…
わんこーる速報!
【悲報】5ch民、ゾロの言う「親友」がルフィとサンジどっちなのかで大論争を起こしてしまう…
わんこーる速報!
夢見りあむ氏、プロデューサーがくるとわかると汚部屋をある程度掃除できることが判明した。やればできるこ
もばます!
夢見りあむ氏、プロデューサーがくるとわかると汚部屋をある程度掃除できることが判明した。やればできるこ
もばます!
【大悲報】ひぐらしカプ厨さん達、全員死亡へwwwww
ちゃん速
【大悲報】ひぐらしカプ厨さん達、全員死亡へwwwww
ちゃん速
【FGO・画像あり】FGOACに神霊衣が追加されたんじゃが、こっちにも.....←あっ…(察し)
Fate/GO攻略ガイドブック
【FGO・画像あり】FGOACに神霊衣が追加されたんじゃが、こっちにも.....←あっ…(察し)
Fate/GO攻略ガイドブック
【驚愕】このキャラをRSオリキャラと勘違いしてる人、多過ぎwwwwwww
ロマサガRS攻略まとめ隊
【驚愕】このキャラをRSオリキャラと勘違いしてる人、多過ぎwwwwwww
ロマサガRS攻略まとめ隊
小学生がやるポケモンにありがちなことwwww
ゲーハー黙示録
小学生がやるポケモンにありがちなことwwww
ゲーハー黙示録
カプコン「1年発売遅れる発表したらゲーマーに怒られるやろなあ…せや!」
えび通
カプコン「1年発売遅れる発表したらゲーマーに怒られるやろなあ…せや!」
えび通
「コスラバ」ドラマCD発売に小林千晃さん「間宮棗が可愛いです。」メロきゅんラブが最高…!
にじめん
「コスラバ」ドラマCD発売に小林千晃さん「間宮棗が可愛いです。」メロきゅんラブが最高…!
にじめん
【プロスピA】全盛期藤川でも低めのストレートまで浮き上がってたか…?
パワ速@プロスピA攻略まとめ
【プロスピA】全盛期藤川でも低めのストレートまで浮き上がってたか…?
パワ速@プロスピA攻略まとめ
めちゃくちゃ発光した夜のガンダムが話題に!!!
オタクニュース
オタクニュース
【謎】何故株ポケはイルカとかいう謎の会社にダイパリメイクを作らせたの?
爆NEWゲーム速報
【謎】何故株ポケはイルカとかいう謎の会社にダイパリメイクを作らせたの?
爆NEWゲーム速報
松田亜利沙「ニュース765TV」伊吹翼「第57回」
プロデューサーさんっ!SSですよ、SS!-アイマスSSまとめ
松田亜利沙「ニュース765TV」伊吹翼「第57回」
プロデューサーさんっ!SSですよ、SS!-アイマスSSまとめ
ゲハ民って実際ゲームプレイしてるの?
Y速報
ゲハ民って実際ゲームプレイしてるの?
Y速報
【アニメ円盤売上】『ガンダム 閃光のハサウェイ』5万枚!! 『マギレコ2期』1期より半減で2900枚、『たんもし』1500枚、『ひぐらし卒』数字出ず爆死
やらおん!
【アニメ円盤売上】『ガンダム 閃光のハサウェイ』5万枚!! 『マギレコ2期』1期より半減で2900枚、『たんもし』1500枚、『ひぐらし卒』数字出ず爆死
やらおん!
プロ野球中日・福敬登投手、SNSで誹謗中傷や殺害予告を受け警察に被害届を提出 「家族の身に危険を感じるような文言もある」
オレ的ゲーム速報@刃
プロ野球中日・福敬登投手、SNSで誹謗中傷や殺害予告を受け警察に被害届を提出 「家族の身に危険を感じるような文言もある」
オレ的ゲーム速報@刃
【モンハンライズ】一瀬はどこへ行く?
モンハンまとめ速報【モンハンライズ攻略】
【モンハンライズ】一瀬はどこへ行く?
モンハンまとめ速報【モンハンライズ攻略】
【FEH】FEHも最初のころの面白さはガチだったよな
ルフレch. - FEH攻略まとめ速報
【FEH】FEHも最初のころの面白さはガチだったよな
ルフレch. - FEH攻略まとめ速報
プリコネ有名絵師さん、唐突に”ブルアカ”のえちえちイラストを描いてしまうwww
オタク.com
プリコネ有名絵師さん、唐突に”ブルアカ”のえちえちイラストを描いてしまうwww
オタク.com
【BF2042】高感度だとエイムアシスト機能してないってマジ?
BF5速報 -バトルフィールドVまとめ
【BF2042】高感度だとエイムアシスト機能してないってマジ?
BF5速報 -バトルフィールドVまとめ
【FGO】伊吹ちゃん幕間の後の金時&玉藻ちゃん!! 紅先生に見つかってて草
FGOまとめ カルデア速報
【FGO】伊吹ちゃん幕間の後の金時&玉藻ちゃん!! 紅先生に見つかってて草
FGOまとめ カルデア速報
ロウきゅーぶ!声優の今・・・
ぐら速 -声優まとめ速報-
ロウきゅーぶ!声優の今・・・
ぐら速 -声優まとめ速報-
スライム「あかちゃんを ひろいました」
SSまにあっくす!
スライム「あかちゃんを ひろいました」
SSまにあっくす!
プラチナ神谷氏、任天堂に苦言「任天堂のせいでゲーム遊ぶのが楽しくない」
最新ゲーム速報!がんばれXboxヾ(。゜▽゜).
プラチナ神谷氏、任天堂に苦言「任天堂のせいでゲーム遊ぶのが楽しくない」
最新ゲーム速報!がんばれXboxヾ(。゜▽゜).
【APEX】上手い人が一人でピンも立てずに爆走して結局負けてしまったんだけど…
爆NEWゲーム速報
【APEX】上手い人が一人でピンも立てずに爆走して結局負けてしまったんだけど…
爆NEWゲーム速報
【FGO】FGO界における流行語はコレ一択!?挙げてみた結果www【FateGO】
Fate-Grand Order攻略速報 | FGO攻略・まとめ
【FGO】FGO界における流行語はコレ一択!?挙げてみた結果www【FateGO】
Fate-Grand Order攻略速報 | FGO攻略・まとめ
【ポケモンGO】ソフトバンクでコードだけもらってそのまま帰らされたwwwww
ポケモンGO攻略まとめ速報!!
【ポケモンGO】ソフトバンクでコードだけもらってそのまま帰らされたwwwww
ポケモンGO攻略まとめ速報!!
【ネタバレ注意】アオのハコ 31話「おデートでしょうか」【ジャンプ52号2ch感想まとめ】
超・ジャンプまとめ速報
【ネタバレ注意】アオのハコ 31話「おデートでしょうか」【ジャンプ52号2ch感想まとめ】
超・ジャンプまとめ速報
京都アニメーション「有名アニメ集めてみた」
ネトゲ攻略速報
京都アニメーション「有名アニメ集めてみた」
ネトゲ攻略速報
【悲報】ジャンプ新連載、早くも打ち切りオーラが凄いと記事にされてしまう
アニゲー速報
【悲報】ジャンプ新連載、早くも打ち切りオーラが凄いと記事にされてしまう
アニゲー速報
荒牧慶彦さんコラボイヤホンは録りおろしボイス収録!「あらまとんいる!」「即完売しそう」
にじめん
荒牧慶彦さんコラボイヤホンは録りおろしボイス収録!「あらまとんいる!」「即完売しそう」
にじめん
梶裕貴さんらの新年のご挨拶が電話で聞ける!19名の豪華声優陣が参加する「2022年37card年賀状」
にじめん
梶裕貴さんらの新年のご挨拶が電話で聞ける!19名の豪華声優陣が参加する「2022年37card年賀状」
にじめん
今週の「PPPPPP」感想、ついに聞き出せたレイジロウの願い、ラッキーは叶えることができるのか!?【11話】
ジャンプまとめ速報
ジャンプまとめ速報
【朗報】広告のルーレット演出がアツいんだがwwwwww
ロマサガRS攻略まとめ隊
【朗報】広告のルーレット演出がアツいんだがwwwwww
ロマサガRS攻略まとめ隊
友人「レジ袋お願いしまーす」ぼく「は?」
エレファント速報:SSまとめブログ
エレファント速報:SSまとめブログ
【画像】アフリカ人、とんでもない方法で映画を見てしまうwwwwww
たろそくWP
【画像】アフリカ人、とんでもない方法で映画を見てしまうwwwwww
たろそくWP
web小説の評論家モドキ「批評しないとその作品で他の人が時間を無駄にするかもしれない」
読み速
web小説の評論家モドキ「批評しないとその作品で他の人が時間を無駄にするかもしれない」
読み速
【祝】ときメモGS4、発売1ヵ月で7万本を突破
げぇ速
げぇ速
【朗報】PS5さん、遂に成功の兆しが見えてくる
PS5速報
PS5速報
ドラゴンボールで一番かわいいのは?にわか「18号」童貞「ビーデル」
アルティメット速報
ドラゴンボールで一番かわいいのは?にわか「18号」童貞「ビーデル」
アルティメット速報
【議論】この3キャラ使いこなせたらオン最強だろwwwwwwwwwww
スマブラ攻略まとめ隊
スマブラ攻略まとめ隊
ペルソナ5R「内容ほとんど一緒です、フルプライスです、スクランブルに繋がらないです」←これ
PS5速報
PS5速報
【FGO】火薬…コヤンスカヤくるのか?12月交換券(2021)で交換可能な素材まとめ
FGOまとめ速報
【FGO】火薬…コヤンスカヤくるのか?12月交換券(2021)で交換可能な素材まとめ
FGOまとめ速報
【悲報】アイマス総合Pさん、『炎上回避』の方法について語ってしまうwwww
わんこーる速報!
【悲報】アイマス総合Pさん、『炎上回避』の方法について語ってしまうwwww
わんこーる速報!
【FF14】会社の同僚にFF14を布教した結果、約3分の1がプレイ開始 → 6.0のための有給取得でシフトに穴があき揉めてしまうwwwww
馬鳥速報
【FF14】会社の同僚にFF14を布教した結果、約3分の1がプレイ開始 → 6.0のための有給取得でシフトに穴があき揉めてしまうwwwww
馬鳥速報
【悲報】ジョジョ三大あいつ結局なんやったねんキャラ「家出少女」「仗助助けたヤンキー」
ちゃん速
【悲報】ジョジョ三大あいつ結局なんやったねんキャラ「家出少女」「仗助助けたヤンキー」
ちゃん速
【ガンダム*】ラジコンはもう作る気はないのかな?ガンタンク、ザク、ドムは作ったけど
ガンダムまとめ速報
【ガンダム*】ラジコンはもう作る気はないのかな?ガンタンク、ザク、ドムは作ったけど
ガンダムまとめ速報
【パズドラ】まさかコロシアムはマルチ煙鬼ゲー?マルブを活かした耐久性能が話題
オーガch.-パズドラ攻略まとめ速報
【パズドラ】まさかコロシアムはマルチ煙鬼ゲー?マルブを活かした耐久性能が話題
オーガch.-パズドラ攻略まとめ速報
ゲームのストーリーって本とか映画に比べて記憶に残らないよな
終わらないコンテンツ速報
ゲームのストーリーって本とか映画に比べて記憶に残らないよな
終わらないコンテンツ速報
【悲報】北条沙都子さん、ひぐらしの最新作で公由家の男にとんでもないことをされていた
色々まとめ速報
【悲報】北条沙都子さん、ひぐらしの最新作で公由家の男にとんでもないことをされていた
色々まとめ速報
【衝撃】ついに仮面ライダーになることを宿命づけられた男が仮面ライダーになる!フィクションを超えた胸熱すぎる展開!
オタクニュース
オタクニュース
【ハチナイ】ハチナイユーザーさん、ポジティブにハチナイを勧める人がほとんどいないwww
ハチナイ速報@八月のシンデレラナイン攻略まとめ
ハチナイ速報@八月のシンデレラナイン攻略まとめ
【悲報】ガンダムSEEDのクルーゼさん、レスバに完勝したのに逝くwwwwww
げーあにびより|ゲームやアニメの評価・感想まとめ
【悲報】ガンダムSEEDのクルーゼさん、レスバに完勝したのに逝くwwwwww
げーあにびより|ゲームやアニメの評価・感想まとめ
【アズレン】投票はちゃんと伊吹に全力等級しろよ
アズールレーン速報-アズレンまとめ
【アズレン】投票はちゃんと伊吹に全力等級しろよ
アズールレーン速報-アズレンまとめ
京太郎「うわぁ。また負けたー!」【咲】
SS古今東西
京太郎「うわぁ。また負けたー!」【咲】
SS古今東西
ぼく「ん?ボロを着た女の子がとぼとぼ歩いてるな...」女の子「うぅ...」
SS 森きのこ!
SS 森きのこ!
【FF14】火力が低い人やギミックミスを連発する人のロット運が強くなる謎の現象wwwwww
FF14速報
【FF14】火力が低い人やギミックミスを連発する人のロット運が強くなる謎の現象wwwwww
FF14速報
漫画家「それやっちゃうとですね、漫画家として終わりだと思うんで」←何したら終わり?
ヲタク速報
漫画家「それやっちゃうとですね、漫画家として終わりだと思うんで」←何したら終わり?
ヲタク速報
【悲報】うずまきナルトさん、九尾の力を失い歴代最弱火影に転落してしまう
アニゲーラボ
【悲報】うずまきナルトさん、九尾の力を失い歴代最弱火影に転落してしまう
アニゲーラボ
格ゲーおじさん「お、初心者やんけ!ボコボコにしたろ!」
ゲームだらだら速報
格ゲーおじさん「お、初心者やんけ!ボコボコにしたろ!」
ゲームだらだら速報
ナルト&サスケ「過去が辛い」 我愛羅「ほーん」
ああ言えばForYou
ナルト&サスケ「過去が辛い」 我愛羅「ほーん」
ああ言えばForYou
【悲報】キングダム、嫌われキャラが多すぎる・・・・・
超マンガ速報
【悲報】キングダム、嫌われキャラが多すぎる・・・・・
超マンガ速報
ホラーゲームの主人公さん、なぜか夜に一人で突撃してしまう
PS4速報!
ホラーゲームの主人公さん、なぜか夜に一人で突撃してしまう
PS4速報!
【グラブル】ドラえもんコラボキャラ「ジャイアン」イラストが公開!
ミニゴブ速報 ~グラブルまとめ~
【グラブル】ドラえもんコラボキャラ「ジャイアン」イラストが公開!
ミニゴブ速報 ~グラブルまとめ~
【イベキャラ】ピース交換キャラ誰になるんやろ?ここぞとばかりに単練コツイベ無し出してくるんかな?【パワプロアプリ】
パワプロスマホアプリまとめ
パワプロスマホアプリまとめ
【質問】AmazonのFire タブとAppleのiPadってどっち買ったほうが良いの?
mutyunのゲーム+αブログ
【質問】AmazonのFire タブとAppleのiPadってどっち買ったほうが良いの?
mutyunのゲーム+αブログ
ジャンフェスのスクエニブースで遂にダイの大冒険の機種と発売日発表か!?
えび通
ジャンフェスのスクエニブースで遂にダイの大冒険の機種と発売日発表か!?
えび通
★【ワートリ】ヒロインがやっちゃダメな攻撃でしょ・・・
ワールドトリガーまとめ
★【ワートリ】ヒロインがやっちゃダメな攻撃でしょ・・・
ワールドトリガーまとめ
【MHRise】イベクエで作れる武器って今作あったっけ
モンスターハンターライズまとめ速報
【MHRise】イベクエで作れる武器って今作あったっけ
モンスターハンターライズまとめ速報
【新キャラ】踊子「ティティ」が期間限定で明日1日0時から登場!!【オクトラ大陸の覇者】
【大陸の覇者】オクトパストラベラー攻略まとめ速報!
【新キャラ】踊子「ティティ」が期間限定で明日1日0時から登場!!【オクトラ大陸の覇者】
【大陸の覇者】オクトパストラベラー攻略まとめ速報!
ロビン「バスターコールはやめろォ」ワイ「バスターコールってなんなんや」
ジャンプまとめ漫画アニメ声優ゲーム
ロビン「バスターコールはやめろォ」ワイ「バスターコールってなんなんや」
ジャンプまとめ漫画アニメ声優ゲーム
PS1のゲームを今遊ぶならPS3でやるのが1番いいんだよな?
ゆるゲーマー遅報
PS1のゲームを今遊ぶならPS3でやるのが1番いいんだよな?
ゆるゲーマー遅報
【画像】ワンピース・エースのスピンオフ漫画、画力がヤバすぎるwww
あぁ^~こころがぴょんぴょんするんじゃぁ^~
【画像】ワンピース・エースのスピンオフ漫画、画力がヤバすぎるwww
あぁ^~こころがぴょんぴょんするんじゃぁ^~
【悲報】「キセキの証」の陰湿黒モブコミュ、周知され始める
本田未央ちゃん応援まとめ速報
【悲報】「キセキの証」の陰湿黒モブコミュ、周知され始める
本田未央ちゃん応援まとめ速報
【艦これ】ホノルルと寒い夜のコーヒー 他
あ艦これ ~艦隊これくしょんまとめブログ~
あ艦これ ~艦隊これくしょんまとめブログ~
【ポケモンUNITE】ユナイトが失速し始めた原因は?「ハロウィン?」「リス放置?」「持ち物Lv差?」
徒歩のポケモンまとめブログ
【ポケモンUNITE】ユナイトが失速し始めた原因は?「ハロウィン?」「リス放置?」「持ち物Lv差?」
徒歩のポケモンまとめブログ
【スパロボ30】俺やマーベットやシュラク隊のみんなも使ってくれよ!
GUNDAM.LOG|ガンダムまとめブログ
【スパロボ30】俺やマーベットやシュラク隊のみんなも使ってくれよ!
GUNDAM.LOG|ガンダムまとめブログ
【艦これ】磯風って実装イベが一番入手困難だったよね
艦これ速報 艦隊これくしょんまとめ
【艦これ】磯風って実装イベが一番入手困難だったよね
艦これ速報 艦隊これくしょんまとめ
男「ハーレムをッ!作りたい!!」
SSまにあっくす!
男「ハーレムをッ!作りたい!!」
SSまにあっくす!
PS5凄すぎ伝説、新たな1ページが加わった模様!!
オレ的ゲーム速報@刃
PS5凄すぎ伝説、新たな1ページが加わった模様!!
オレ的ゲーム速報@刃
【画像】魔神英雄伝ワタル、令和の時代に蘇る
もゆげん-萌癒元-
【画像】魔神英雄伝ワタル、令和の時代に蘇る
もゆげん-萌癒元-
【悲報】ジョジョの「そのスタンドで負けるのか…」っていう敵wwwwwwwwwww
JUMP(ジャンプ)速報
【悲報】ジョジョの「そのスタンドで負けるのか…」っていう敵wwwwwwwwwww
JUMP(ジャンプ)速報
【緋弾のアリアⅡ】好きな人多し!転落式がウケた理由www
緋アリ速報
【緋弾のアリアⅡ】好きな人多し!転落式がウケた理由www
緋アリ速報
【ウマ娘】「トレーナー技能試験」って何をやらせるつもりなんだ?
ウマ娘まとめ超速報!
【ウマ娘】「トレーナー技能試験」って何をやらせるつもりなんだ?
ウマ娘まとめ超速報!
『アサシンズクリード』シリーズのストーリーを把握してるユーザー、誰もいない説wwwwww
おしキャラっ
『アサシンズクリード』シリーズのストーリーを把握してるユーザー、誰もいない説wwwwww
おしキャラっ
【FGO】以蔵さんの服を仕立てているハベにゃん&ミスクレーン!! ちゃんとお金払ってくださいね!
FGOまとめ カルデア速報
【FGO】以蔵さんの服を仕立てているハベにゃん&ミスクレーン!! ちゃんとお金払ってくださいね!
FGOまとめ カルデア速報
【ノスタルジア】(21/11/25)「MISSION BINGO」に過去イベ解禁曲「Turn the story」が登場! さらにコナステ版の来月のマンスリーボーナス曲に「きらきら星変奏曲」が追加決定!
エムジフ~音ゲー情報局(MGIF)~
【ノスタルジア】(21/11/25)「MISSION BINGO」に過去イベ解禁曲「Turn the story」が登場! さらにコナステ版の来月のマンスリーボーナス曲に「きらきら星変奏曲」が追加決定!
エムジフ~音ゲー情報局(MGIF)~
「昔のスパロボ」←思いついた要素
ロボアニ速報
「昔のスパロボ」←思いついた要素
ロボアニ速報
【キャラ】やっぱりミヤコは悪霊だった模様www
プリコネ攻略まとめ隊
プリコネ攻略まとめ隊
【話題】自動再戦みてたら54回目って表示されてるんだが、50回までじゃなかったのか?
ロマサガRS攻略まとめ隊
【話題】自動再戦みてたら54回目って表示されてるんだが、50回までじゃなかったのか?
ロマサガRS攻略まとめ隊
ラブライブ声優の曲をラブライブキャラの歌として聴いてるラブライバーww【ラブライブ!声優】
ラブライブ! 曜ちゃんのヨーソロー!速報
ラブライブ声優の曲をラブライブキャラの歌として聴いてるラブライバーww【ラブライブ!声優】
ラブライブ! 曜ちゃんのヨーソロー!速報
【Fate/GO】結局高杉と武市のクラス分からんかったな 高杉がライダーかアーチャーで武市セイバーくらいか
Fate/Grand Order攻略情報まとめ
【Fate/GO】結局高杉と武市のクラス分からんかったな 高杉がライダーかアーチャーで武市セイバーくらいか
Fate/Grand Order攻略情報まとめ
【DQウォーク】前から気になってたんだけどテリーの子供の頃が魔物使いの要素ってあったっけ?
ドラゴンクエストウォークまとめ速報
【DQウォーク】前から気になってたんだけどテリーの子供の頃が魔物使いの要素ってあったっけ?
ドラゴンクエストウォークまとめ速報
【朗報】FGOACに「アストルフォ(セイバー)」の総身霊衣と「エレシュキガル」の転身霊衣が登場キタ━━━(゚∀゚)━━━!!
FGO攻略まとめ隊
FGO攻略まとめ隊
【東方】きつねときつね
2ch東方スレ観測所
【東方】きつねときつね
2ch東方スレ観測所
【歓喜】待ってたあああああああ!”LL 超ベジット”ZENKAI覚醒予定キタ━━━━(゚∀゚)━━━━!!
ドラゴンボールレジェンズ攻略まとめ隊
【歓喜】待ってたあああああああ!”LL 超ベジット”ZENKAI覚醒予定キタ━━━━(゚∀゚)━━━━!!
ドラゴンボールレジェンズ攻略まとめ隊
【けいおん】梓「澪先輩と体が入れ替わったら、ですか?」
ポチッとSS!! SSまとめ
ポチッとSS!! SSまとめ
【疑問】未だに「答え」がでてないから聞きたい。昔ほどゲームが売れなくなった理由に心当たりある?
PS4ProNEWS
【疑問】未だに「答え」がでてないから聞きたい。昔ほどゲームが売れなくなった理由に心当たりある?
PS4ProNEWS
えにからのコミュニケーションサービス『ユメノグラフィア』が突然のサ終→所属VTuber激怒
オタク.com
えにからのコミュニケーションサービス『ユメノグラフィア』が突然のサ終→所属VTuber激怒
オタク.com
【蘭たん】セガの許諾云々書いてたの気になった
ゲーム実況者速報
【蘭たん】セガの許諾云々書いてたの気になった
ゲーム実況者速報
【FF14】外郭の開幕ってどうしたらいいの?
FF14ひかせん速報
【FF14】外郭の開幕ってどうしたらいいの?
FF14ひかせん速報
【FGO】クレオパトラの魅了の与え方がセクシー過ぎる!ボロン…【FateGO】
Fate-Grand Order攻略速報 | FGO攻略・まとめ
【FGO】クレオパトラの魅了の与え方がセクシー過ぎる!ボロン…【FateGO】
Fate-Grand Order攻略速報 | FGO攻略・まとめ
【悲報】ダイパリメイク、交換レートが崩壊 ミノムッチ>>>>ビッパ>>その他に
カンダタ速報
【悲報】ダイパリメイク、交換レートが崩壊 ミノムッチ>>>>ビッパ>>その他に
カンダタ速報
「3DS版ドラクエ11」って完全にないものにされてるけど、アレなんだったの?
最新ゲーム速報!がんばれXboxヾ(。゜▽゜).
「3DS版ドラクエ11」って完全にないものにされてるけど、アレなんだったの?
最新ゲーム速報!がんばれXboxヾ(。゜▽゜).
【声優】伊達さゆりの何がお前らをここまで惹きつけたのか?【ラブライブ!スーパースター!!】
ラブライブ!まとめちゃんねる!!
【声優】伊達さゆりの何がお前らをここまで惹きつけたのか?【ラブライブ!スーパースター!!】
ラブライブ!まとめちゃんねる!!
【SideM】『彩』のよんこまさいどえむが公開!
それからの出来事() アイマスまとめ
【SideM】『彩』のよんこまさいどえむが公開!
それからの出来事() アイマスまとめ
【雑談】『真・女神転生』シリーズの最高傑作がIIIという風潮
ニンテンドースイッチ速報
【雑談】『真・女神転生』シリーズの最高傑作がIIIという風潮
ニンテンドースイッチ速報
【画像】藤岡弘の息子、仮面ライダーになるwwww
まんがとあにめ
【画像】藤岡弘の息子、仮面ライダーになるwwww
まんがとあにめ
【モンスト】※衝撃神プレイ※すげぇぇぇぇ!!!!超究極『真ホルス』無強化完全無課金達成プロストキタ━━━━(゚∀゚)━━━━!!
モンスト速報 モンスターストライクまとめ
【モンスト】※衝撃神プレイ※すげぇぇぇぇ!!!!超究極『真ホルス』無強化完全無課金達成プロストキタ━━━━(゚∀゚)━━━━!!
モンスト速報 モンスターストライクまとめ
岡崎泰葉「こんな事務所おかしいです!」
あやめ速報-SSまとめ-
あやめ速報-SSまとめ-
【仮面ライダーBLACK SUN】三神官のデザインも大幅にアレンジされるみたいだな
仮面ライダーまとめ2号
【仮面ライダーBLACK SUN】三神官のデザインも大幅にアレンジされるみたいだな
仮面ライダーまとめ2号
娘が父と飲んだとき「俺はその辺のやつと比べもんにならんほどワルだったんだぞ〜」とイキってきたので
オタクニュース
オタクニュース
【速報】『オミクロン株』感染者、日本で初確認…
デジタルニューススレッド
デジタルニューススレッド
【悲報】マイクラ未だにやってるやつwwwww
スマブラ屋さん | スマブラSPまとめ攻略
【悲報】マイクラ未だにやってるやつwwwww
スマブラ屋さん | スマブラSPまとめ攻略
「IdentityV 第五人格×名探偵コナン」セガ ラッキーくじに登場!「好き×好きのコラボ最高」
にじめん
「IdentityV 第五人格×名探偵コナン」セガ ラッキーくじに登場!「好き×好きのコラボ最高」
にじめん
【動画】女性さん、息子の目の前でボッコボコに殴られてしまう……
アニゲー速報
【動画】女性さん、息子の目の前でボッコボコに殴られてしまう……
アニゲー速報
【画像】ワンピースのスピンオフ漫画、画力がヤバすぎるwwww
わんこーる速報!
【画像】ワンピースのスピンオフ漫画、画力がヤバすぎるwwww
わんこーる速報!
【疑問】ワンピース新作映画、赤髪のシャンクスの物語でいいのか?????
ちゃん速
【疑問】ワンピース新作映画、赤髪のシャンクスの物語でいいのか?????
ちゃん速
【FF7FS】バトロワ初心者のおっさんがイライラしまくった結果更にbotが増加してしまう…
FF15速報
【FF7FS】バトロワ初心者のおっさんがイライラしまくった結果更にbotが増加してしまう…
FF15速報
【これは衝撃すぎるw】「ありがとう納得した」「モンストの正しい遊び方」ユーザーが”運極周回”する本当の理由がこれwwwww【モンスト】
モンスト!まとめーじぇんと。
【これは衝撃すぎるw】「ありがとう納得した」「モンストの正しい遊び方」ユーザーが”運極周回”する本当の理由がこれwwwww【モンスト】
モンスト!まとめーじぇんと。
【アカン】ポケモンBDSP、親御さんがビックリ案件な現象が発生 ジョーイさんの動きもヤバイww
ぽけりん@ポケモンソードシールド(剣盾)まとめ
【アカン】ポケモンBDSP、親御さんがビックリ案件な現象が発生 ジョーイさんの動きもヤバイww
ぽけりん@ポケモンソードシールド(剣盾)まとめ
シンデレラガールズ劇場 第1560話 あるのはロマン
でれげき -シンデレラガールズ劇場まとめ-
でれげき -シンデレラガールズ劇場まとめ-
【デュエルリンクス】この規制で「サンドラ」は環境落ちするの?
遊戯王デュエルリンクス超速報!
【デュエルリンクス】この規制で「サンドラ」は環境落ちするの?
遊戯王デュエルリンクス超速報!
【ガンダム】伝説的な英雄、アムロ・レイさんの初登場シーンがこちらwwwww
Glauber通信
【ガンダム】伝説的な英雄、アムロ・レイさんの初登場シーンがこちらwwwww
Glauber通信
【PS5】日本のゲーム市場さん、完全に任天堂Switch1強時代へ…
あぁ^~こころがぴょんぴょんするんじゃぁ^~
【PS5】日本のゲーム市場さん、完全に任天堂Switch1強時代へ…
あぁ^~こころがぴょんぴょんするんじゃぁ^~
【パワプロアプリ】ピースキャラ誰になるんやろ?単練コツイベ無しここぞとばかりに出してくるんかな?
矢部速報 | スマホアプリ版パワプロ攻略まとめブログ
【パワプロアプリ】ピースキャラ誰になるんやろ?単練コツイベ無しここぞとばかりに出してくるんかな?
矢部速報 | スマホアプリ版パワプロ攻略まとめブログ
CD PROJEKT『未発表の新プロジェクト』を準備中!『サイバーパンク2077』大規模拡張も用意、『ウィッチャー3』含む次世代機版は2022年Q1~Q2に登場
PS4速報!
CD PROJEKT『未発表の新プロジェクト』を準備中!『サイバーパンク2077』大規模拡張も用意、『ウィッチャー3』含む次世代機版は2022年Q1~Q2に登場
PS4速報!
【キャラ】そういや何で蘭丸はアベンジャーなんだろう?
FGOまとめマン速報
FGOまとめマン速報
【ジャンプ52号】僕のヒーローアカデミア 第335話 有精卵
ジャンプ速報
【ジャンプ52号】僕のヒーローアカデミア 第335話 有精卵
ジャンプ速報
ウェスカー役の声優、バイオハザードの情報を漏らしてしまうwwwwww
Y速報
ウェスカー役の声優、バイオハザードの情報を漏らしてしまうwwwwww
Y速報
彡(゚)(゚)で学ぶ鉄道事故
SSまにあっくす!
彡(゚)(゚)で学ぶ鉄道事故
SSまにあっくす!
【画像】最新のミネバ・ラオ・ザビちゃん、めっちゃ可愛くなる
コミック速報
【画像】最新のミネバ・ラオ・ザビちゃん、めっちゃ可愛くなる
コミック速報
【ネタ】もう素材余ってるしボックス要る?って感もあるwwwwwwww
FGO攻略まとめ隊
FGO攻略まとめ隊
シャーマンキングのアンナとかいうメスガキwwwwwwwww
超・マンガ速報
シャーマンキングのアンナとかいうメスガキwwwwwwwww
超・マンガ速報
【朗報】ポケモンユナイト「今年のベストゲーム賞」と『最も優れた競技』賞の二冠達成!!!神ゲーだった…
徒歩のポケモンまとめブログ
【朗報】ポケモンユナイト「今年のベストゲーム賞」と『最も優れた競技』賞の二冠達成!!!神ゲーだった…
徒歩のポケモンまとめブログ
【話題】斧でそこそこ強いキャラ実装したら需要あって回りそうなもんだけど勿体ないね
ロマサガRS攻略まとめ隊
【話題】斧でそこそこ強いキャラ実装したら需要あって回りそうなもんだけど勿体ないね
ロマサガRS攻略まとめ隊
【FEH】歴代ボス召喚セリフこんな感じだけどエイトリは見下してきそう
ルフレch. - FEH攻略まとめ速報
【FEH】歴代ボス召喚セリフこんな感じだけどエイトリは見下してきそう
ルフレch. - FEH攻略まとめ速報
【キャラ】ミヤコどうなのよ? クラバト向け?アリーナ向け?
プリコネ攻略まとめ隊
プリコネ攻略まとめ隊
西武平良(22)「完全にプレイステーションをやめました。もったいないので時間が」
カンダタ速報
西武平良(22)「完全にプレイステーションをやめました。もったいないので時間が」
カンダタ速報
【悲報】ゲーミングPC自作、マザボだけで6万円になる
最新ゲーム速報!がんばれXboxヾ(。゜▽゜).
【悲報】ゲーミングPC自作、マザボだけで6万円になる
最新ゲーム速報!がんばれXboxヾ(。゜▽゜).
「BLEACH」コラボカフェ&ポップアップショップ!日番谷のバースデーケーキの提供も
にじめん
「BLEACH」コラボカフェ&ポップアップショップ!日番谷のバースデーケーキの提供も
にじめん
【シャニマス】アンティーカ重大発表告知 12月7日(火) 20:00
本田未央ちゃん応援まとめ速報
【シャニマス】アンティーカ重大発表告知 12月7日(火) 20:00
本田未央ちゃん応援まとめ速報
【驚愕】漫画やアニメとかで「序盤の中ボスキャラ」だったのに格を落とさずに終盤まで生き延びた敵がこちらwwww
デジタルニューススレッド
デジタルニューススレッド
同僚?♀「帰りご飯食べてきませんか?」 ワイ「いいね。マックでいい?」
エレファント速報:SSまとめブログ
エレファント速報:SSまとめブログ
【JRA歓喜】ウマ娘効果絶大!ジャパンカップの売り上げは驚異の215億573万2400円!前年比-57億円!
やらおん!
【JRA歓喜】ウマ娘効果絶大!ジャパンカップの売り上げは驚異の215億573万2400円!前年比-57億円!
やらおん!
アニメ『ONE PIECE』ナミ役・岡村明美さん、”最年少”という理由で他声優さん達の雑用をしていた事が判明…
オタク.com
アニメ『ONE PIECE』ナミ役・岡村明美さん、”最年少”という理由で他声優さん達の雑用をしていた事が判明…
オタク.com
【朗報】終わり方が最も綺麗だった漫画、決まるwww
アニはつ -アニメ発信場-
【朗報】終わり方が最も綺麗だった漫画、決まるwww
アニはつ -アニメ発信場-
【モバマス】10周年ガチャを引くと9周年ガチャの引換券が獲得できて即座に期限切れで消滅するバグ、公式が告知
本田未央ちゃん応援まとめ速報
【モバマス】10周年ガチャを引くと9周年ガチャの引換券が獲得できて即座に期限切れで消滅するバグ、公式が告知
本田未央ちゃん応援まとめ速報
原作漫画 アニメが終わってからゲーム化された作品ってどれくらいある?
えび通
原作漫画 アニメが終わってからゲーム化された作品ってどれくらいある?
えび通
【朗報】果林ちゃん、ヨハネの妹だった【ラブライブ!】
ラブライブ!まとめちゃんねる!!
【朗報】果林ちゃん、ヨハネの妹だった【ラブライブ!】
ラブライブ!まとめちゃんねる!!
【朗報】PS5、遂に「成功の兆し」が見え始めるwwww
わんこーる速報!
【朗報】PS5、遂に「成功の兆し」が見え始めるwwww
わんこーる速報!
【疑問】最近の週刊少年ジャンプさん、いくらなんでもギャグマンガが多すぎるwww
ちゃん速
【疑問】最近の週刊少年ジャンプさん、いくらなんでもギャグマンガが多すぎるwww
ちゃん速
【パズドラ】明日の最大50連ガチャは22連が最低数?スレ民が提唱するパチスロ理論が興味深い
オーガch.-パズドラ攻略まとめ速報
【パズドラ】明日の最大50連ガチャは22連が最低数?スレ民が提唱するパチスロ理論が興味深い
オーガch.-パズドラ攻略まとめ速報
【キャラ】ドルフロにも色違いの人形がほしいwww
ドールズフロントライン 攻略まとめ隊
ドールズフロントライン 攻略まとめ隊
急に飛び出した私の子供を止めた義兄嫁が気絶した話
オタクニュース
オタクニュース
【プロスピA】秋山幸二が来てくれないと西武の外野キツイんだが
パワ速@プロスピA攻略まとめ
【プロスピA】秋山幸二が来てくれないと西武の外野キツイんだが
パワ速@プロスピA攻略まとめ
異世界転生系なろうあるあるwww
おたくみくす 声優まとめ
異世界転生系なろうあるあるwww
おたくみくす 声優まとめ

人気の記事

RPG作っちゃおうか、自分で。『ドラゴンクエストの生みの親 堀井雄二』が本日発売
SWITCH速報
SWITCH速報
【疑問】Switch→Switch2のデータ移行が難しすぎてトラブル発生する人続出してね?
mutyunのゲーム+αブログ
mutyunのゲーム+αブログ
元声優の楠木ともりさん、多方面で迷惑をかけてしまう
超・マンガ速報
超・マンガ速報
【速報】新作スパイダーマンさん、ゼンデイヤ(黒人)を退場させてえちえち白人(23)をヒロインに起用wwwwww
アニゲー速報
アニゲー速報
【悲報】迷惑系コスプレイヤーさん、コスプレイベントを出禁になる
たろそくWP
たろそくWP
「Fate/strange Fake」8話感想 作り笑いなんて要らない。フラット・エスカルドスが出逢った救い!尊きロードとエルメロイ教室に悖らぬ活躍がまた面白い!!(ストレンジフェイク実況まとめ)
ポンポコにゅーす ファン特化型アニメ感想サイト
ポンポコにゅーす ファン特化型アニメ感想サイト
【艦これ】どれもらえばいいかアドバイス欲しいでち ちなみに全部ほしい
あ艦これ ~艦隊これくしょんまとめブログ~
あ艦これ ~艦隊これくしょんまとめブログ~
【艦これ】全戦果砲を喰らえぇぇぇぇぇ!
艦これ速報 艦隊これくしょんまとめ
艦これ速報 艦隊これくしょんまとめ
【ノスタルジア】(26/02/19)譜面追加更新! 「The Nameless」にReal譜面が登場!!
エムジフ~音ゲー情報局(MGIF)~
エムジフ~音ゲー情報局(MGIF)~
ワイ、ポケモンユナイトで負けすぎて何を使えば良いか分からない模様
徒歩のポケモンまとめブログ
徒歩のポケモンまとめブログ
↑